RL132四跨具部品书N7203A389B44 - 第281页
PART No. イラスト No. REF No. PART NAME REMARKS Q'TY 20 部品加 工部(部品 位置決め 部(2P)1) PARTS PROCESS SECT.( PARTS POSITI ONING SECT.(2P )-1) 部 品 名 品 番 個数 備 考 R 2 R 3 R 1 1 N610125684AA PARTS PROC ESS UNIT 1 001 N210085709AB HOO…

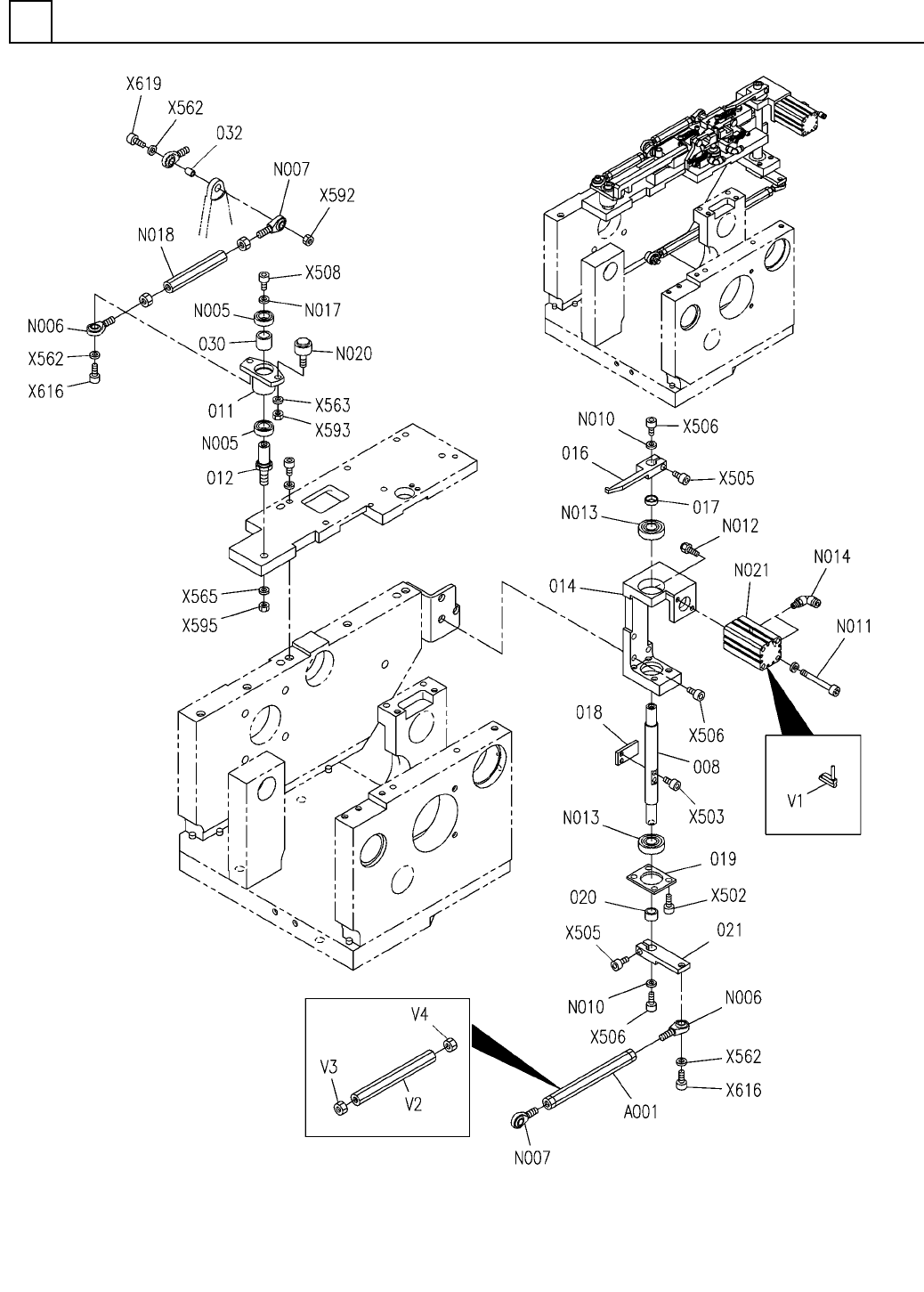
部品加工部(部品位置決め部(2P)1)
PARTS PROCESS SECT.(PARTS POSITIONING SECT.(2P)-1)
20
FN610125684AA_12-1
M247

PART No.
イラスト
No.
REF
No.
PART NAME
REMARKSQ'TY
20
部品加工部(部品位置決め部(2P)1)
PARTS PROCESS SECT.(PARTS POSITIONING SECT.(2P)-1)
部 品 名品 番 個数 備 考
R
2
R
3
R
1
1
N610125684AA
PARTS PROCESS UNIT
1001 N210085709AB
HOOK
1002 N210085710AB
STOPPER
1
003 N210085711AB
STOPPER
1005 N210098677AA
SHAFT
1006 N210154798AA
SLIDE BLOCK
1
007 N210154797AA
SLIDE BLOCK
1
009 N210148379AB
PLATE
1010 N210085719AC
PIN
1013 N210088894AA
PLATE
2
015 N210084372AC
LEVER(GUIDE)
2
022 X02P18008
SPRING
1023 N210161478AA
HOLDER
1024 X02P18006
GUIDE
1
025 X02P18005
GUIDE
1026 N210161479AA
HOLDER
1027 N210145667AA
PIN
2
028 X02P1800301
PIN
1
029 N210088897AA
SPRING
1031 X01A1102603
SPRING
LM10UU
1
N001
N513LM10UU
BUSHING
4SRS9XMUU+175LM
1
N002
N510068148AA
LINEAR WAY
2X10,STEEL
1
N003
XPL2A10WFW
SPRING PIN
CJPS6-5-B
2
N004
KXF07S0AA00
CYLINDER
N0S4T
1
N006
N533N0S4T
ROD END
NOS4TL
1
N007
N533N0S4TL
ROD END
M-5H-6-X83
1
N008
MTNP000833AA
JOINT
M-5HL-6-X83
1
N009
N510067307AA
JOINT
KQ2L06-M5N
2
N014
N510066798AA
JOINT
87LMST10
1
N015
N510036441AA
PLATE
87SFJ8-20.0-LKC
2
N016
N510059451AA
SHAFT
MMS4-10
2
N019
N986MMS410
PIN
87LBMKN4-60
1
N023
N510041171AA
ROD
E0240-029-1000-SH
2
N024
MTNK000434AA
SPRING
M3X8-10.9 A2J (Trivalent)
25
X502
N510017341AA
HEX. SOCKET HEAD CAP BOLT
M3X12-10.9 A2J (Trivalent)
14
X503
N510017308AA
HEX. SOCKET HEAD CAP BOLT
M4X8-10.9 A2J (Trivalent)
4
X615
N510017381AA
HEX. SOCKET HEAD CAP BOLT
M4X12-10.9 A2J (Trivalent)
2
X616
N510017346AA
HEX. SOCKET HEAD CAP BOLT
M4X30-10.9 A2J (Trivalent)
1
X619
N510017361AA
HEX. SOCKET HEAD CAP BOLT
M5X20-10.9 A2J (Trivalent)
3
X510
N510017398AA
HEX. SOCKET HEAD CAP BOLT
M6X20-10.9 A2J (Trivalent)
3
X513
N510017435AA
HEX. SOCKET HEAD CAP BOLT
4 10H A2J (Trivalent)
5
X562
N510018497AA
ROUND PLAIN WASHER
5 10H A2J (Trivalent)
3
X563
N510018499AA
ROUND PLAIN WASHER
6 10H A2J (Trivalent)
3
X564
N510018501AA
ROUND PLAIN WASHER
10 10H A2J (Trivalent)
1
X556
N510018483AA
ROUND PLAIN WASHER
M3-6H-4T A2J (Trivalent)
6
X591
N510017849AA
HEXAGON NUT
M4-6H-4T A2J (Trivalent)
2
X592
N510017855AA
HEXAGON NUT
M248
FN610125684AA_12-1

部品加工部(部品位置決め部(2P)2)
PARTS PROCESS SECT.(PARTS POSITIONING SECT.(2P)-2)
20
FN610125684AA_12-2
M249