RL132四跨具部品书N7203A389B44 - 第287页
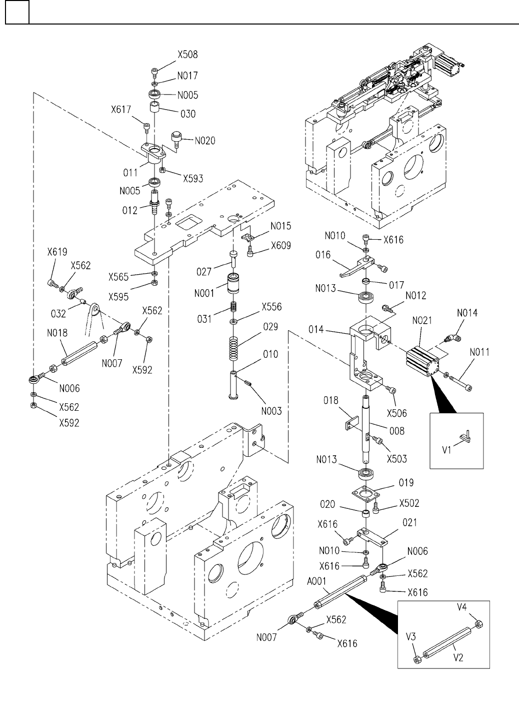
PART No. イラスト No. REF No. PART NAME REMARKS Q'TY 20 部品加 工部(部品 位置決め 部(4P)2) PARTS PROCESS SECT.( PARTS POSITI ONING SECT(4P) .-2) 部 品 名 品 番 個数 備 考 R 2 R 3 R 1 1 008 N210154460AA SHAFT 1 010 N210085719AC PIN 1 011 N21…

部品加工部(部品位置決め部(4P)2)
PARTS PROCESS SECT.(PARTS POSITIONING SECT(4P).-2)
20
FN610130086AA_13-2
M253

PART No.
イラスト
No.
REF
No.
PART NAME
REMARKSQ'TY
20
部品加工部(部品位置決め部(4P)2)
PARTS PROCESS SECT.(PARTS POSITIONING SECT(4P).-2)
部 品 名品 番 個数 備 考
R
2
R
3
R
1
1
008 N210154460AA
SHAFT
1010 N210085719AC
PIN
1011 N210085720AA
LEVER
1
012 N210085721AA
PIN
1014 N210154643AB
BRACKET
1016 X01L11026
LEVER
1
017 X01A11046
COLLAR
1
018 X02G11120
PLATE
1019 X01L11050
PLATE
1020 X01L11051
SPACER
1
021 X01A11047
LEVER
1
027 N210103579AB
PIN
1029 N210088897AA
SPRING
1030 N210088898AA
COLLAR
1
031 X01A1102603
SPRING
1032 N210098686AA
COLLAR
LM10UU
1
N001
N513LM10UU
BUSHING
2X10,STEEL
1
N003
XPL2A10WFW
SPRING PIN
6800ZZ
2
N005
KXF00M6AA00
BALL BEARING
N0S4T
2
N006
N533N0S4T
ROD END
NOS4TL
2
N007
N533N0S4TL
ROD END
87FWSSB-D15.0-V4.0-T3.0
2
N010
N510028123AA
WASHER
M3X40
2
N011
N401CDQS-D87
BOLT
UST4-15
1
N012
N510061715AA
STOPPER BOLT
6000ZZ
2
N013
KXF0E3BVA00
BEARING
KQ2L06-M5N
2
N014
N510066798AA
JOINT
87LMST10
1
N015
N510036441AA
PLATE
87FWSSB-D12.0-V5.0-T3.0
1
N017
N510036443AA
WASHER
87LBMFN4-75
1
N018
N510041172AA
ROD
CFN5R-A
1
N020
N531CFN5RA
CAM FOLLOWER
CDQSB16-15D-M9NVS
1
N021
N510064092AA
CYLINDER
1
A001
N610136060AA
ROD
M3X6-10.9 A2J (Trivalent)
2
X609
N510017337AA
HEX. SOCKET HEAD CAP BOLT
M3X8-10.9 A2J (Trivalent)
4
X502
N510017341AA
HEX. SOCKET HEAD CAP BOLT
M3X12-10.9 A2J (Trivalent)
2
X503
N510017308AA
HEX. SOCKET HEAD CAP BOLT
M4X12-10.9 A2J (Trivalent)
5
X616
N510017346AA
HEX. SOCKET HEAD CAP BOLT
M4X16-10.9 A2J (Trivalent)
3
X506
N510017351AA
HEX. SOCKET HEAD CAP BOLT
M4X20-10.9 A2J (Trivalent)
1
X617
N510017354AA
HEX. SOCKET HEAD CAP BOLT
M4X30-10.9 A2J (Trivalent)
1
X619
N510017361AA
HEX. SOCKET HEAD CAP BOLT
M5X12-10.9 A2J (Trivalent)
1
X508
N510017390AA
HEX. SOCKET HEAD CAP BOLT
4 10H A2J (Trivalent)
5
X562
N510018497AA
ROUND PLAIN WASHER
8 10H A2J (Trivalent)
1
X565
N510018503AA
WASHER
10 10H A2J (Trivalent)
1
X556
N510018483AA
ROUND PLAIN WASHER
M4-6H-4T A2J (Trivalent)
2
X592
N510017855AA
HEXAGON NUT
M5-6H-4T A2J (Trivalent)
1
X593
N510017862AA
HEXAGON NUT
M8-6H-4T A2J (Trivalent)
1
X595
N510017877AA
HEXAGON NUT
D-M9NV
1V 1 N510000684AA
SWITCH
1
V 2 N210160264AA
ROD
M4-6H-LH-4T A2J (Trivalent)
1V 3 N510018939AA
HEXAGON NUT
M4-6H-4T A2J (Trivalent)
1V 4 N510017855AA
HEXAGON NUT
M254
FN610130086AA_13-2

部品加工部(Vカット部(2P/3P)1)
PART PROCESS SECT. (V-CUT SECT.(2P/3P)-1)
20
FN610125960AA_04-1
M255