RL132四跨具部品书N7203A389B44 - 第290页
部品加工 部(Vカット部(2P /3P)2) PART P ROCESS SECT. ( V-CUT SECT.( 2P/3P)-2) 20 FN610125960AA_04-2 M257

PART No.
イラスト
No.
REF
No.
PART NAME
REMARKSQ'TY
20
部品加工部(Vカット部(2P/3P)1)
PART PROCESS SECT. (V-CUT SECT.(2P/3P)-1)
部 品 名品 番 個数 備 考
R
2
R
3
R
1
1
N610125960AA
PARTS PROCESS UNIT
1
A001
N610134299AA
POST
1001 N210149186AA
BLOCK
1
002 N210131188AC
PUSHER
2003 X02G13105
PIN
1004 X02G13111
COLLAR
1
005 X01L1300201
FORK
1
010 X01A13001
HOOK
1011 N210156839AA
GUIDE
2013 X01A13014
BUSHING
2
014 X01A13016
BUSHING
1
026 N210108085AA
PLATE
1027 N210130940AB
LEVER
1030 N210088893AB
PIN
6566
1
N001
N9866566
SPRING
MR95ZZ1
2
N003
N510001936AA
BEARING
SPP4-15
2
N004
KXF052RAA00
PIN
NP3.2X3.5
2
N006
N560NP3.23.5
GREASE NIPPLE
MMS4-10
2
N015
N986MMS410
PIN
M4X20-6g 4T A2J (Trivalent)
1
N017
N510017729AA
HEXAGON HEAD BOLT
M3X5-10.9 A2J (Trivalent)
1
X501
N510017333AA
HEX. SOCKET HEAD CAP BOLT
M3X12-10.9 A2J (Trivalent)
3
X503
N510017308AA
HEX. SOCKET HEAD CAP BOLT
M4X8-10.9 A2J (Trivalent)
4
X615
N510017381AA
HEX. SOCKET HEAD CAP BOLT
M4X12-10.9 A2J (Trivalent)
4
X616
N510017346AA
HEX. SOCKET HEAD CAP BOLT
M4X25-10.9 A2J (Trivalent)
1
X618
N510017359AA
HEX. SOCKET HEAD CAP BOLT
M5X12-10.9 A2J (Trivalent)
2
X508
N510017390AA
HEX. SOCKET HEAD CAP BOLT
M5X20-10.9 A2J (Trivalent)
2
X510
N510017398AA
HEX. SOCKET HEAD CAP BOLT
M6X20-10.9 A2J (Trivalent)
2
X513
N510017435AA
HEX. SOCKET HEAD CAP BOLT
6 10H A2J (Trivalent)
2
X564
N510018501AA
ROUND PLAIN WASHER
3 10H A2J (Trivalent)
1
X551
N510018478AA
ROUND PLAIN WASHER
5 10H A2J (Trivalent)
4
X553
N510018480AA
ROUND PLAIN WASHER
M4-6H-4T A2J (Trivalent)
2
X592
N510017855AA
HEXAGON NUT
SPOS-M4X30-B
1
V 1 N510060301AA
POST
M4,1-TYPE,STAINLESS(SUS304)
1
V 2 XNG4AVW
HEXAGON NUT
M256
FN610125960AA_04-1

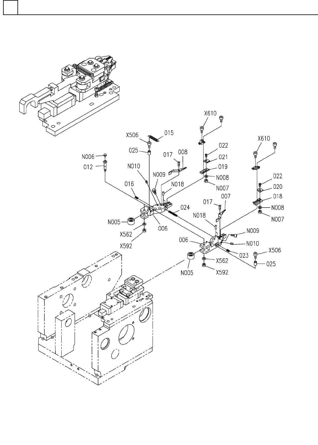
部品加工部(Vカット部(2P/3P)2)
PART PROCESS SECT. (V-CUT SECT.(2P/3P)-2)
20
FN610125960AA_04-2
M257

PART No.
イラスト
No.
REF
No.
PART NAME
REMARKSQ'TY
20
部品加工部(Vカット部(2P/3P)2)
PART PROCESS SECT. (V-CUT SECT.(2P/3P)-2)
部 品 名品 番 個数 備 考
R
2
R
3
R
1
1
006 N210149093AA
LEVER
1007 X01L1301202
LEVER
1008 X01L1301302
LEVER
2
012 X01A13008
PIN
1015 X01A13029
SPRING
1016 X01A13030
SPRING
2
017 X01A13033
PIN
1
018 N210130982AB
CUTTER
1019 N210130983AB
CUTTER
1020 N210066470AC
GUIDE
1
021 N210066471AB
GUIDE
2
022 X01A13038
PIN
1023 X01A13042
SPRING
1024 X01A13044
SPRING
2
025 X01A13054
SPRING HOOK
NART6UUVR
2
N005
N531NART-060
ROLLER FOLLOWER
NP3.2X3.5
2
N006
N560NP3.23.5
GREASE NIPPLE
M2.5-6H-4T A2J (Trivalent)
2
N007
N510017841AA
HEXAGON NUT
2.5 10H A2J (Trivalent)
2
N008
N510041286AA
ROUND PLAIN WASHER
M2.5X6-10.9 A2J (Trivalent)
2
N009
N510017246AA
HEX. SOCKET HEAD CAP BOLT
M4X16-45H A2J (Trivalent)
2
N010
N510018367AA
HEX. SOCKET SET SCREW
MMS2.5-8
4
N018
N510020582AA
PIN
M4X16-10.9 A2J (Trivalent)
2
X506
N510017351AA
HEX. SOCKET HEAD CAP BOLT
4 10H A2J (Trivalent)
2
X562
N510018497AA
ROUND PLAIN WASHER
M4-6H-4T A2J (Trivalent)
2
X592
N510017855AA
HEXAGON NUT
M3X10-10.9 A2J (Trivalent)
4
X610
N510017305AA
HEX. SOCKET HEAD CAP BOLT
M258
FN610125960AA_04-2