RL132四跨具部品书N7203A389B44 - 第301页
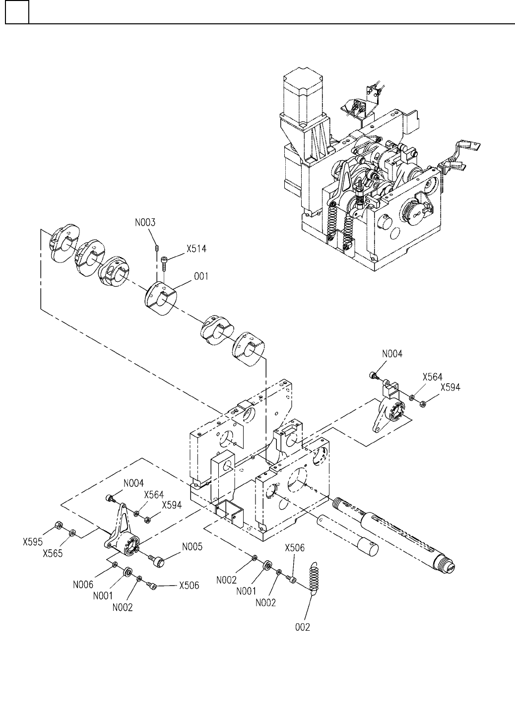
PART No. イラスト No. REF No. PART NAME REMARKS Q'TY 20 部品加工部(専用部 ) PARTS PROCESS SECT.( EXCLUSIVE SE CT.) 部 品 名 品 番 個数 備 考 R 2 R 3 R 1 1 N610133112AA PARTS PROC ESS UNIT 1 001 N210156460AA CAM 1 002 X01A14054 SPRING SS…

部品加工部(専用部)
PARTS PROCESS SECT.(EXCLUSIVE SECT.)
20
FN610133112AA_01
M267

PART No.
イラスト
No.
REF
No.
PART NAME
REMARKSQ'TY
20
部品加工部(専用部)
PARTS PROCESS SECT.(EXCLUSIVE SECT.)
部 品 名品 番 個数 備 考
R
2
R
3
R
1
1
N610133112AA
PARTS PROCESS UNIT
1001 N210156460AA
CAM
1002 X01A14054
SPRING
SS4-13VZZNIGACEW(BF)
2
N001
MTNB000224AA
BEARING
87FWSSB-D6.0-V4.0-T1.0
3
N002
N510031417AA
WASHER
M8X10-45H A2J (Trivalent)
1
N003
N510018455AA
SET SCREW
CFN6R-A
2
N004
N531CFN6RA
CAM FOLLOWER
CFN10R-A
1
N005
N531CFN10RA
CAM FOLLOWER
87FWSSB-D6.0-V4.0-T2.0
1
N006
N510028901AA
WASHER
M4X16-10.9 A2J (Trivalent)
2
X506
N510017351AA
HEX. SOCKET HEAD CAP BOLT
M6X25-10.9 A2J (Trivalent)
2
X514
N510017437AA
HEX. SOCKET HEAD CAP BOLT
6 10H A2J (Trivalent)
2
X564
N510018501AA
ROUND PLAIN WASHER
8 10H A2J (Trivalent)
1
X565
N510018503AA
WASHER
M6-6H-4T A2J (Trivalent)
2
X594
N510017867AA
HEXAGON NUT
M8-6H-4T A2J (Trivalent)
1
X595
N510017877AA
HEXAGON NUT
M268
FN610133112AA_01

部品ガイドマウント部(左右共通取付部)(40ステーション)
PARTS GUIDE MOUNT SECT.(L & R COMMON ATTACHMENT SECT.)(40 STATION)
21
FN610123559AA_04
M269