RL132四跨具部品书N7203A389B44 - 第351页
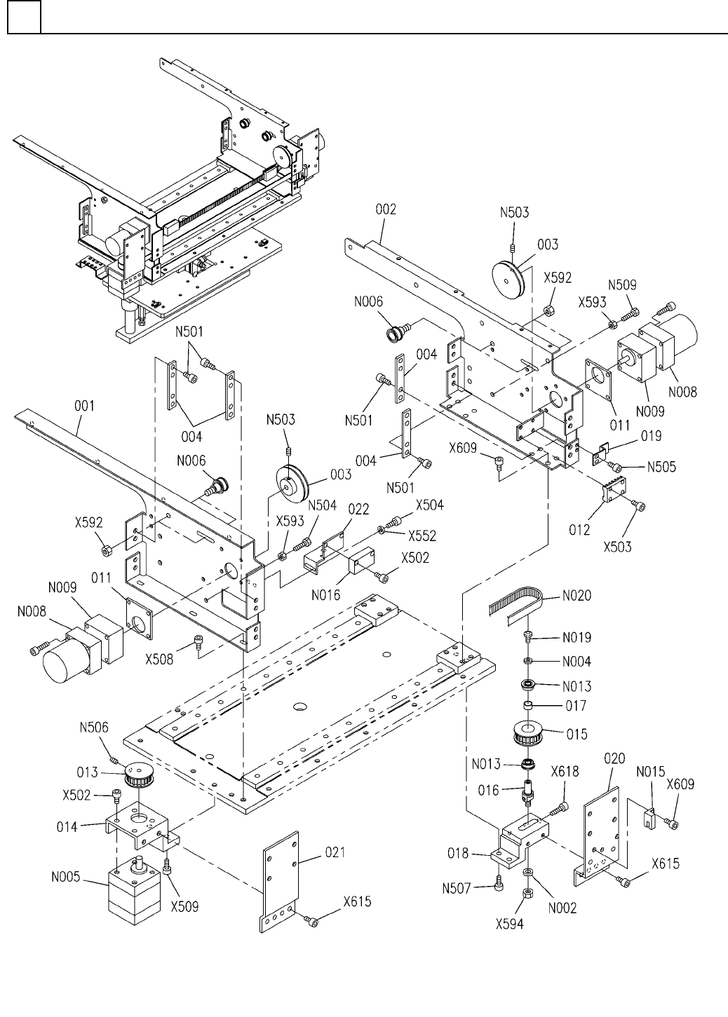
PART No. イラスト No. REF No. PART NAME REMARKS Q'TY 25 ローダ・ アンローダ部 (ローダ自動幅寄 せ部2) LOADER & UNLOADER SE CT.(LOADER A UTO WIDTH CONT ROL SECT. -2) 部 品 名 品 番 個数 備 考 R 2 R 3 R 1 1 001 N210152372AF PLATE 1 002 N210152…

ローダ・アンローダ部(ローダ自動幅寄せ部2)
LOADER & UNLOADER SECT.(LOADER AUTO WIDTH CONTROL SECT.-2)
25
FN610128955AA_15-2
M317

PART No.
イラスト
No.
REF
No.
PART NAME
REMARKSQ'TY
25
ローダ・アンローダ部(ローダ自動幅寄せ部2)
LOADER & UNLOADER SECT.(LOADER AUTO WIDTH CONTROL SECT.-2)
部 品 名品 番 個数 備 考
R
2
R
3
R
1
1
001 N210152372AF
PLATE
1002 N210152371AG
PLATE
2003 1099705118
PULLEY
4
004 N210149411AA
PLATE
2011 X02P05031
SPACER
1012 N210149414AA
RACK
1
013 N210151259AA
PULLEY
1
014 N210149417AC
BRACKET(MOTOR)
1015 N210151258AA
PULLEY
1016 N210149416AA
PIN
1
017 N210149420AA
COLLAR
1
018 N210152755AB
BLOCK
1019 N210156079AA
DOG FOR SENSOR
1020 N210156064AA
BRACKET
1
021 N210156324AA
PLATE
1022 N210154678AB
BRACKET
M6
1
N002
N510020101AA
WASHER
M4
1
N004
N510020099AA
WASHER
103H5331-03GXF4 S
1
N005
N510028188AA
MOTOR
MB019200
4
N006
N510058700AA
PULLEY
0IK1GN-CW2J
2
N008
N510031297AA
MOTOR
0GN9K
2
N009
N510058907AA
GEAR HEAD
F688AZZ1
2
N013
KXF0DYPHA00
BEARING
P914S1
1
N015
N310P914S1
SENSOR
P919T
1
N016
N310P919T
SWITCH
M4X8-8.8 SOB
1
N019
N510067815AA
BOLT
1080-EV5GT-9
1
N020
N510059529AA
BELT
M5X6-10.9 A2J (Trivalent)
16
N501
N510017414AA
HEX. SOCKET HEAD CAP BOLT
M4X8-45H A2J (Trivalent)
2
N503
N510018440AA
HEX. SOCKET SET SCREW
M5X35-6g 4T A2J (Trivalent)
1
N504
N510017749AA
HEXAGON HEAD BOLT
M3X5-4.8 A2J (Trivalent)
2
N505
N510018251AA
TRUSS HEAD SCREW
M3X8-45H A2J (Trivalent)
1
N506
N510018426AA
HEX. SOCKET SET SCREW
M5X15-10.9 A2J (Trivalent)
2
N507
N510017394AA
HEX. SOCKET HEAD CAP BOLT
M5X12-6g 4T A2J (Trivalent)
1
N509
N510017741AA
HEXAGON HEAD BOLT
M3X8-10.9 A2J (Trivalent)
4
X502
N510017341AA
HEX. SOCKET HEAD CAP BOLT
M3X12-10.9 A2J (Trivalent)
4
X503
N510017308AA
HEX. SOCKET HEAD CAP BOLT
M4X6-10.9 A2J (Trivalent)
2
X504
N510017376AA
HEX. SOCKET HEAD CAP BOLT
M5X12-10.9 A2J (Trivalent)
3
X508
N510017390AA
HEX. SOCKET HEAD CAP BOLT
M5X16-10.9 A2J (Trivalent)
2
X509
N510017395AA
HEX. SOCKET HEAD CAP BOLT
4 10H A2J (Trivalent)
2
X552
N510018479AA
ROUND PLAIN WASHER
M4-6H-4T A2J (Trivalent)
8
X592
N510017855AA
HEXAGON NUT
M5-6H-4T A2J (Trivalent)
2
X593
N510017862AA
HEXAGON NUT
M6-6H-4T A2J (Trivalent)
1
X594
N510017867AA
HEXAGON NUT
M3X6-10.9 A2J (Trivalent)
9
X609
N510017337AA
HEX. SOCKET HEAD CAP BOLT
M4X8-10.9 A2J (Trivalent)
4
X615
N510017381AA
HEX. SOCKET HEAD CAP BOLT
M4X25-10.9 A2J (Trivalent) Full thread
1
X618
N510017360AA
HEX. SOCKET HEAD CAP BOLT
M318
FN610128955AA_15-2

ローダ・アンローダ部(アンローダ自動幅寄せ部1)
LOADER & UNLOADER SECT.(UNLOADER AUTO WIDTH CONTROL SECT.-1)
25
FN610128954AA_15-1
M319