RL132四跨具部品书N7203A389B44 - 第454页
テープフィー ダ部(15.0 X5.0(1) ) TAPE FEEDE R SECT.(15.0X5 .0(1)) 28 FN610071919AA_04-1 M421

PART No.
イラスト
No.
REF
No.
PART NAME
REMARKSQ'TY
28
テープフィーダ部(12.7X7.5(2))
TAPE FEEDER SECT.(12.7X7.5(2))
部 品 名品 番 個数 備 考
R
2
R
3
R
1
1
A003
N610071899AA
SENSOR UNIT
1
A006
N610026102AA
LEVER UNIT
1
A007
N610026103AA
SLIDER UNIT
1
012 X01A38012
PIN
3039 X01A38039
PIN
1041 X01A3804102
CLAW
1
043 X01A38043
SPRING
1
049 X01A38049
SPRING
1050 X01A38050
PIN
1051 MTPA011972AA
SPRING
2
053 X01A38053
PIN
2
054 X01A38054
SPACER
1075 X01A3807502
STOPPER
1076 X01A38076
PIN
1
092 X01A38092
PIN
1099 X01A38099
SPACER
1103 N210168707AA
CAM
2
114 X01A38114
PIN
1
117 X01A38117
ROLLER
2118 X01A38118
SPACER
1119 X01A3811901
PIN
1
120 X01A38120
SPACER
1.2X5
1
N004
XPL12A5WFW
SPRING PIN
M2X8-10.9 A2J (Trivalent)
1
N005
N510017261AA
HEX. SOCKET HEAD CAP BOLT
No.2 5 S A2J (Trivalent)
1
N006
N510018332AA
SPRING WASHER
L-1260ZZ
2
N008
KXF02F9AA00
BEARING
M2X2-45H A2J (Trivalent)
1
N009
N510018353AA
HEX. SOCKET SET SCREW
2 10H A2J (Trivalent)
1
N010
N510018477AA
ROUND PLAIN WASHER
M420
FN610071918AA_05-2

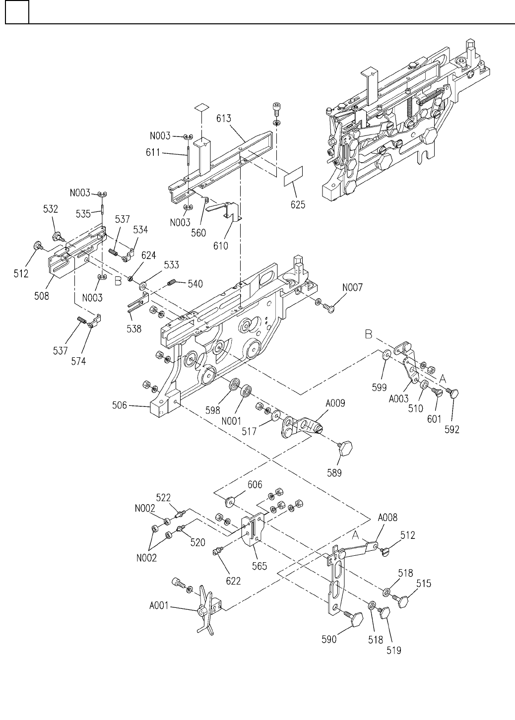
テープフィーダ部(15.0X5.0(1))
TAPE FEEDER SECT.(15.0X5.0(1))
28
FN610071919AA_04-1
M421

PART No.
イラスト
No.
REF
No.
PART NAME
REMARKSQ'TY
28
テープフィーダ部(15.0X5.0(1))
TAPE FEEDER SECT.(15.0X5.0(1))
部 品 名品 番 個数 備 考
R
2
R
3
R
1
1
N610071919AA
TAPE FEEDER UNIT
1
A001
MTKA008813AA
SCISSORS UNIT
1
A003
N610016681AA
LEVER UNIT
1
A008
N610026100AA
LEVER UNIT
1
A009
N610026101AA
LEVER UNIT
1506 N210168560AA
MAIN FRAME
1
508 X01A3850802
SLIDER
1
510 X01A38010
ROLLER
2512 X01A38012
PIN
1515 X01A3801501
PIN
1
517 X01A38017
COLLAR
2
518 X01A38018
ROLLER
1519 X01A3801901
PIN
1520 X01A3802002
PIN
1
522 X01A3802202
PIN
2532 X01A3803201
PIN
2533 X01A3803301
SPACER
1
534 X01A3803402
CLAW
2
535 X01A38035
PIN
2537 X01A38037
SPRING
1538 X01A3803803
CLAW
1
540 X01A38040
SPRING
1
560 X01A38060
SPRING
1565 X01A38065
SLIDER
1574 N210087041AA
CLAW
1
589 X01A38089
PIN
1590 X01A38090
PIN
1592 X01A38092
PIN
1
598 X01A38098
SPACER
1
599 X01A38099
SPACER
1601 X01A38101
PIN
1606 X01A38106
COLLAR
1
610 X01A3811002
LEVER
1
611 X01A38111
PIN
1613 X02P58056
TAPE GUIDE
1622 X01A38122
PIN
2
624 X01A38124
ROLLER
1625 N210194037AA
SEAL
MR106ZZS
1
N001
KXF05XWAA00
BEARING
683ZZ
3
N002
KXF0C8ZAA00
BEARING
ETW-1.5
6
N003
KXF01X6AA00
RETAINING RING E-TYPE
M3X5-4.8 A2J (Trivalent)
1
N007
N510017981AA
ROUND HEAD SCREW
M422
FN610071919AA_04-1