RL132四跨具部品书N7203A389B44 - 第557页
PART No. イラスト No. REF No. PART NAME REMARKS Q'TY 36 部品加 工部(3Pリ ード修正) PART P ROCESS SECT. ( 3P LEAD CORR ECTION) 部 品 名 品 番 個数 備 考 R 2 R 3 R 1 1 N610144946AA PARTS PROC ESS UNIT 1 001 X02P19008 SPACER 1 002 X02P19009…

部品加工部(3Pリード修正)
PART PROCESS SECT. (3P LEAD CORRECTION)
36
FN610144946AA_01
M523

PART No.
イラスト
No.
REF
No.
PART NAME
REMARKSQ'TY
36
部品加工部(3Pリード修正)
PART PROCESS SECT. (3P LEAD CORRECTION)
部 品 名品 番 個数 備 考
R
2
R
3
R
1
1
N610144946AA
PARTS PROCESS UNIT
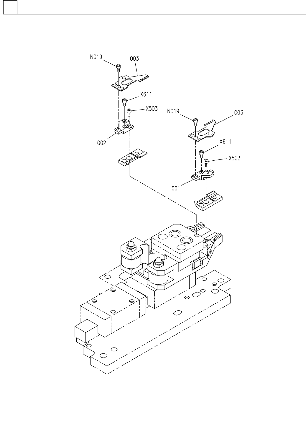
1001 X02P19008
SPACER
1002 X02P19009
SPACER
2
003 N210168702AA
GUIDE
M3X3-10.9 A2J (Trivalent)
4
N019
N510017325AA
HEX. SOCKET HEAD CAP BOLT
M3X12-10.9 A2J (Trivalent)
2
X503
N510017308AA
HEX. SOCKET HEAD CAP BOLT
M3X16-10.9 A2J (Trivalent)
2
X611
N510017313AA
HEX. SOCKET HEAD CAP BOLT
M524
FN610144946AA_01

部品加工部(修正ブロック部(2P/3P))
PARTS PROCESS SECT.(AMENDMENT BLOCK SECT.(2P/3P))
36
FN610147546AA_00
M525