RL132四跨具部品书N7203A389B44 - 第59页
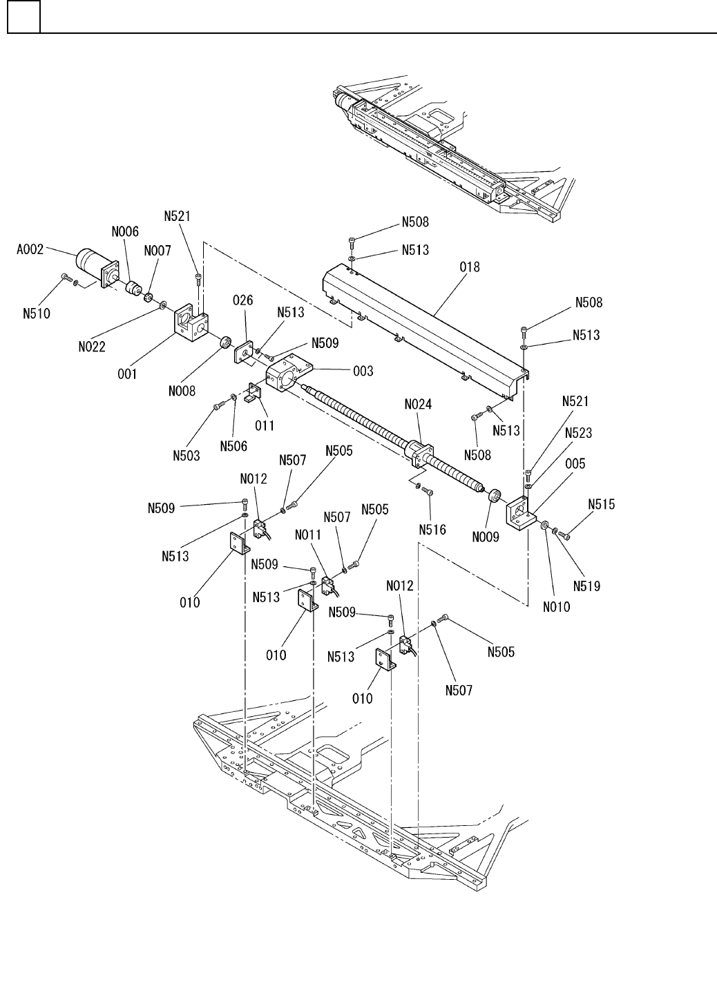
PART No. イラスト No. REF No. PART NAME REMARKS Q'TY 3 メイン駆動 部(3) MAIN D RIVING SECT.(3 ) 部 品 名 品 番 個数 備 考 R 2 R 3 R 1 1 013 N210086211AA PLATE 1 014 N210086215AA BRACKET 2 016 N210086221AA PIN 1 017 N210086223AA PLATE …

メイン駆動部(3)
MAIN DRIVING SECT.(3)
3
FN610130987AA_05-3
M25

PART No.
イラスト
No.
REF
No.
PART NAME
REMARKSQ'TY
3
メイン駆動部(3)
MAIN DRIVING SECT.(3)
部 品 名品 番 個数 備 考
R
2
R
3
R
1
1
013 N210086211AA
PLATE
1014 N210086215AA
BRACKET
2016 N210086221AA
PIN
1
017 N210086223AA
PLATE
1018 N210086224AA
PULLEY
VEL-7055
1
N006
N648VFL7055
PULLEY
M8X70-10.9 A2J (Trivalent) Full thread
1
N014
N510017490AA
HEX. SOCKET HEAD CAP BOLT
6202ZZ
2
N015
KXF00KUAA00
BEARING
87WASMH20-6
2
N016
N510035527AA
WASHER
M10
2
N017
N510020103AA
WASHER
M4X8-10.9 A2J (Trivalent)
3
N501
N510017381AA
HEX. SOCKET HEAD CAP BOLT
4 10H A2J (Trivalent)
3
N503
N510018497AA
ROUND PLAIN WASHER
M6X16-10.9 A2J (Trivalent)
2
N508
N510017433AA
HEX. SOCKET HEAD CAP BOLT
M8X20-10.9 A2J (Trivalent)
4
N512
N510017472AA
HEX. SOCKET HEAD CAP BOLT
8 10H A2J (Trivalent)
4
N514
N510018503AA
WASHER
M8-6H-4T A2J (Trivalent)
1
N515
N510017877AA
HEXAGON NUT
M10X25-10.9 A2J (Trivalent)
4
N516
N510017166AA
HEX. SOCKET HEAD CAP BOLT
10 10H A2J (Trivalent)
2
N518
N510018505AA
WASHER
12 10H A2J (Trivalent)
2
N520
N510018507AA
WASHER
M12-6H-4T A2J (Trivalent)
2
N521
N510017895AA
HEXAGON NUT
M26
FN610130987AA_05-3

X-Yテーブル部(X軸駆動部)
X-Y TABLE SECT.(X-AXIS DRIVING SECT.)
4
FN610055746AA_10-1
M27