Components table 80 mobile_20211119_072157 - 第2页
Components table 80 mobile Page 2 / 14 19.11.2021

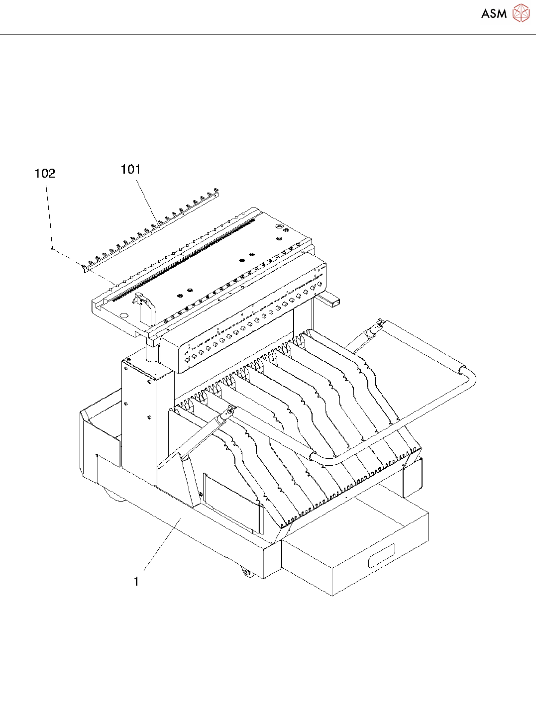
Components table 80 mobile
Page 1 / 14 19.11.2021

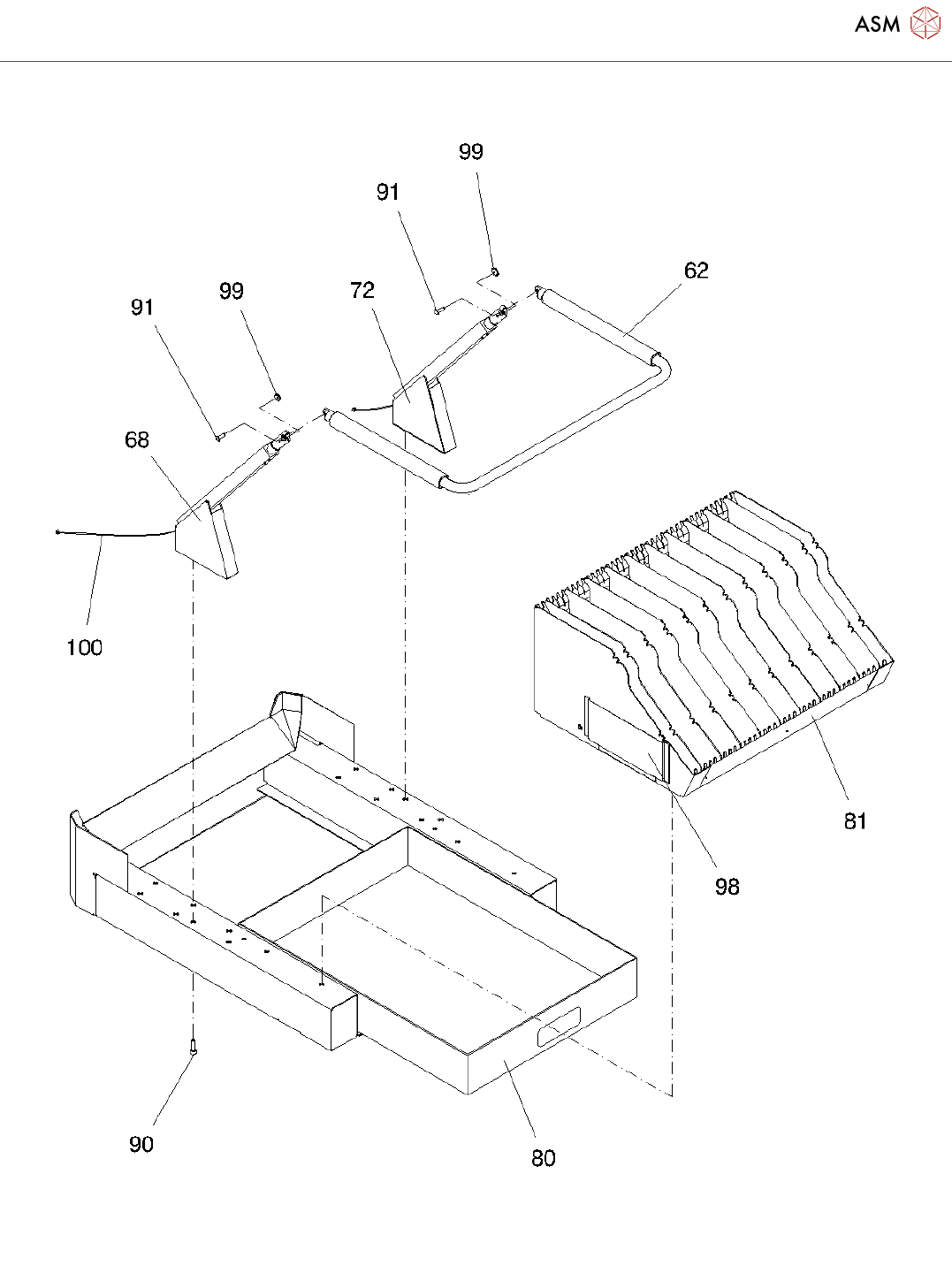
Components table 80 mobile
Page 2 / 14 19.11.2021

Components table 80 mobile
Page 3 / 14 19.11.2021
Components table 80 mobile Page 2 / 14 19.11.2021


