AG900 and AG900 S Applicators Customer Product Manual - 第19页
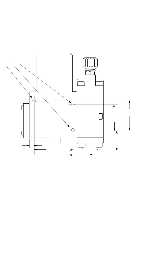
AG − 900+ and AG900+S Applicators 15 2009 Nordson Corporation Part 1098464A M5 Screw (X3) 48.25 mm (1.90 in.) 42.67 mm (1.68 in.) 9.65 mm (.38 in.) 14 mm (.55 in.) 39.88 mm (1.57 in.) 54.36 mm (2.14 in.) Figure 4: Moun…

AG−900+ and AG900+S Applicators
14
Part 1098464A
2009 Nordson Corporation
Physical Dimensions (contd)
To install the AG-900+/AG900+S applicator, perform the following procedures:
1. See Figures 3 and . Remove the M5 mounting screws.
NOTE: On heated applicators, these screws also secure the heater assembly module
to the applicator.
38.7 mm
(1.525 in.)33 mm
(1.3 in.)
54.4 mm
(2.14 in.)
7.2 mm
(0.285 in.)
M5 Screw
24.1 mm
(.95 in.)
(1.1 in.)
28 mm
Figure 3: Mounting Dimensions for AG-900+/AG900+S Applicator with Regulator

AG−900+ and AG900+S Applicators
15
2009 Nordson Corporation
Part 1098464A
M5 Screw (X3)
48.25 mm
(1.90 in.)
42.67 mm
(1.68 in.)
9.65 mm
(.38 in.)
14 mm
(.55 in.)
39.88 mm
(1.57 in.)
54.36 mm
(2.14 in.)
Figure 4: Mounting Dimensions for AG-900+/AG900+S Applicator with Adapter Block
2. Position the applicator assembly against the customer-supplied bracket, and then
reinstall the three M5 screws and tighten securely.
3. Remove the steel hex cap from the
1
/
8
NPT port in the applicator body, and then thread
an air supply line to the port. Use PTFE tape or an equivalent on the air supply line.
4. See Figure 5. Thread a muffler to the air-close port.
NOTE: Order part number 1096469 solenoid assembly with tubing to use air-close.
5. Connect the air line(s) to an independently regulated, filtered, unlubricated and controlled
air supply.
6. For heated applicators only: connect the male plugs from the heater block adapter to the
female accessory connectors located on the heated hose or extension cords.

AG−900+ and AG900+S Applicators
16
Part 1098464A
2009 Nordson Corporation
Operation
WARNING! Allow only personnel with appropriate training and
experience to operate or service the equipment. The use of
untrained or inexperienced personnel to operate or service the
equipment can result in injury, including death, to themselves and
others, and damage to the equipment.
The needle and nozzle is typically installed onto the applicator at the factory.
1. See Figure 6. Rotate the knurled needle adjustment knob
(1) clockwise until it stops.
2. Turn the adjustment knob 4−5 turns counterclockwise.
3. Apply material pressure to the applicator. Adjust the knob
until no material flows from the nozzle.
Figure 6: AG900+/AG900+S Module
1. Needle adjustment knob
2. Air close inlet
3. Air open inlet
4.
9
/
16
−18 in. SAE port
4. Apply air pressure to the applicator.
5. To adjust output pressure at the nozzle, turn the regulator adjustment screw clockwise to
increase pressure, counterclockwise to decrease pressure. Change setting on the melter
if no regulator is used.
NOTE: A change in pressure causes a change in maximum velocity and flow.
Pressure adjustments can be made with the applicator in the on or off position.
NOTE: Install a gauge into one of the
9
/
16
−18 inch SAE ports (4) monitor applicator
pressure.
NOTE: When using the air−close feature, adjust the air−close regulator for minimum
pressure by turning the air regulator adjustment screw counterclockwise several turns.
Make final adjustments to the air−close regulator to achieve good cut-off at the nozzle
after obtaining the material output flow rate.
The applicator is now ready for normal operation.
1
2
3
4