文档中心
/
Cable trees_20211123_073205
Cable trees_20211123_073205 - 第15页
Cable trees Page 15 / 35 23.11.2021
目录
100%
显示:宽度
宽度
1 / 35
回到旧版
旧版
?
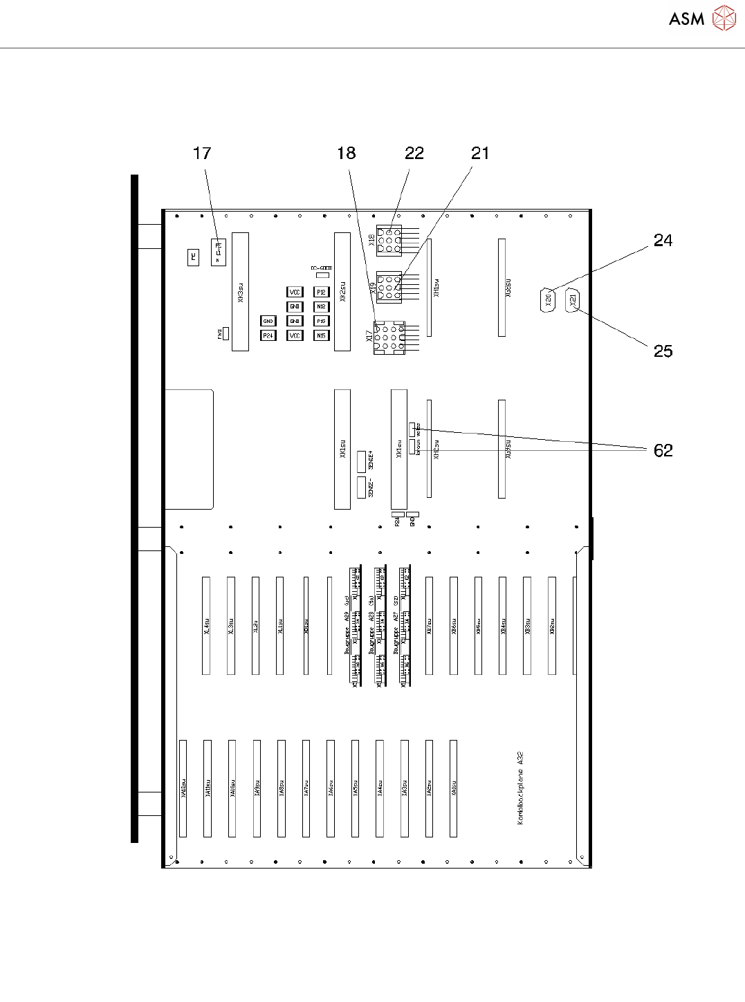
Cable trees
Page 14 / 35
23.11.2021
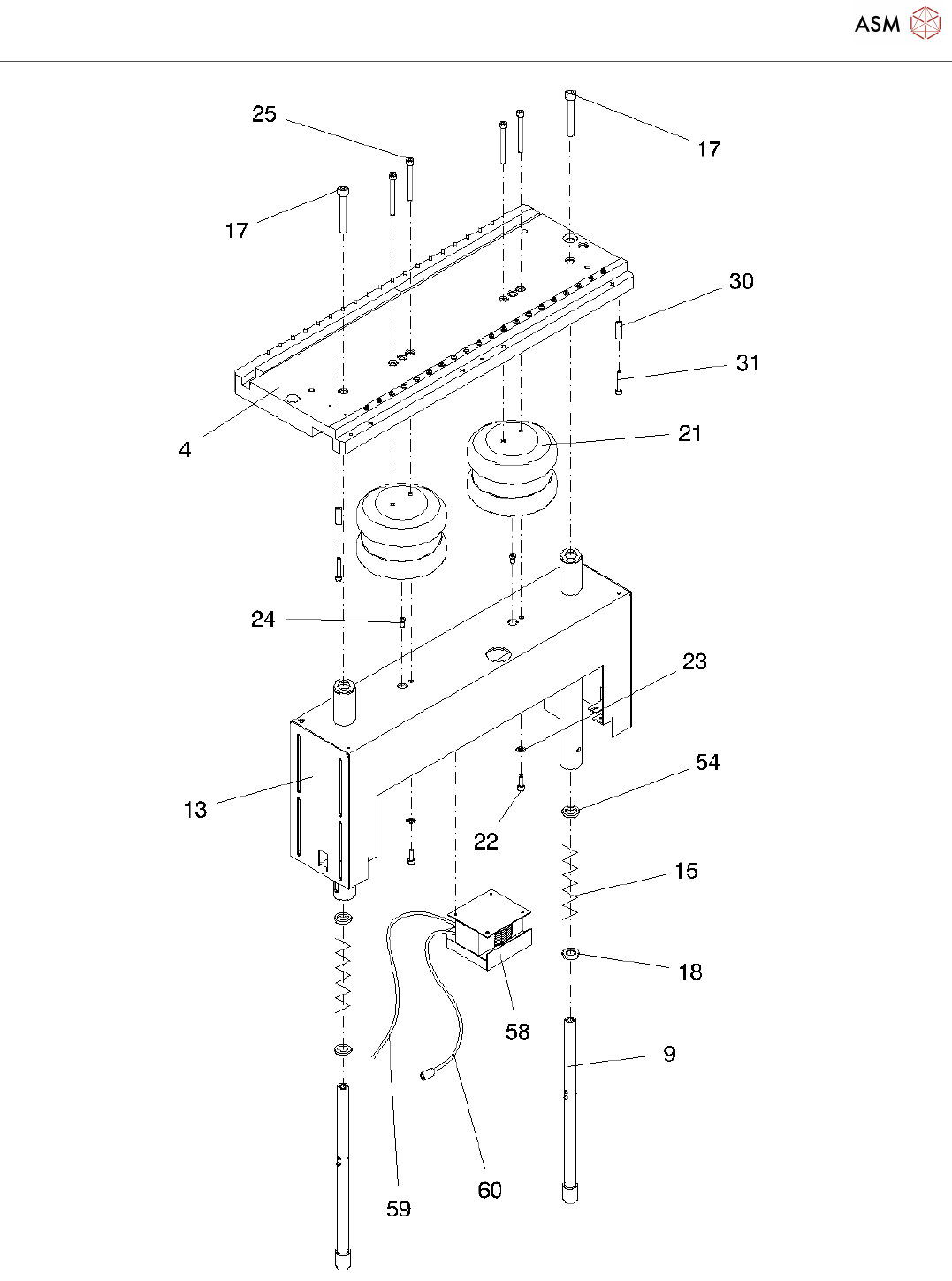
Cable trees
Page 15 / 35
23.11.2021
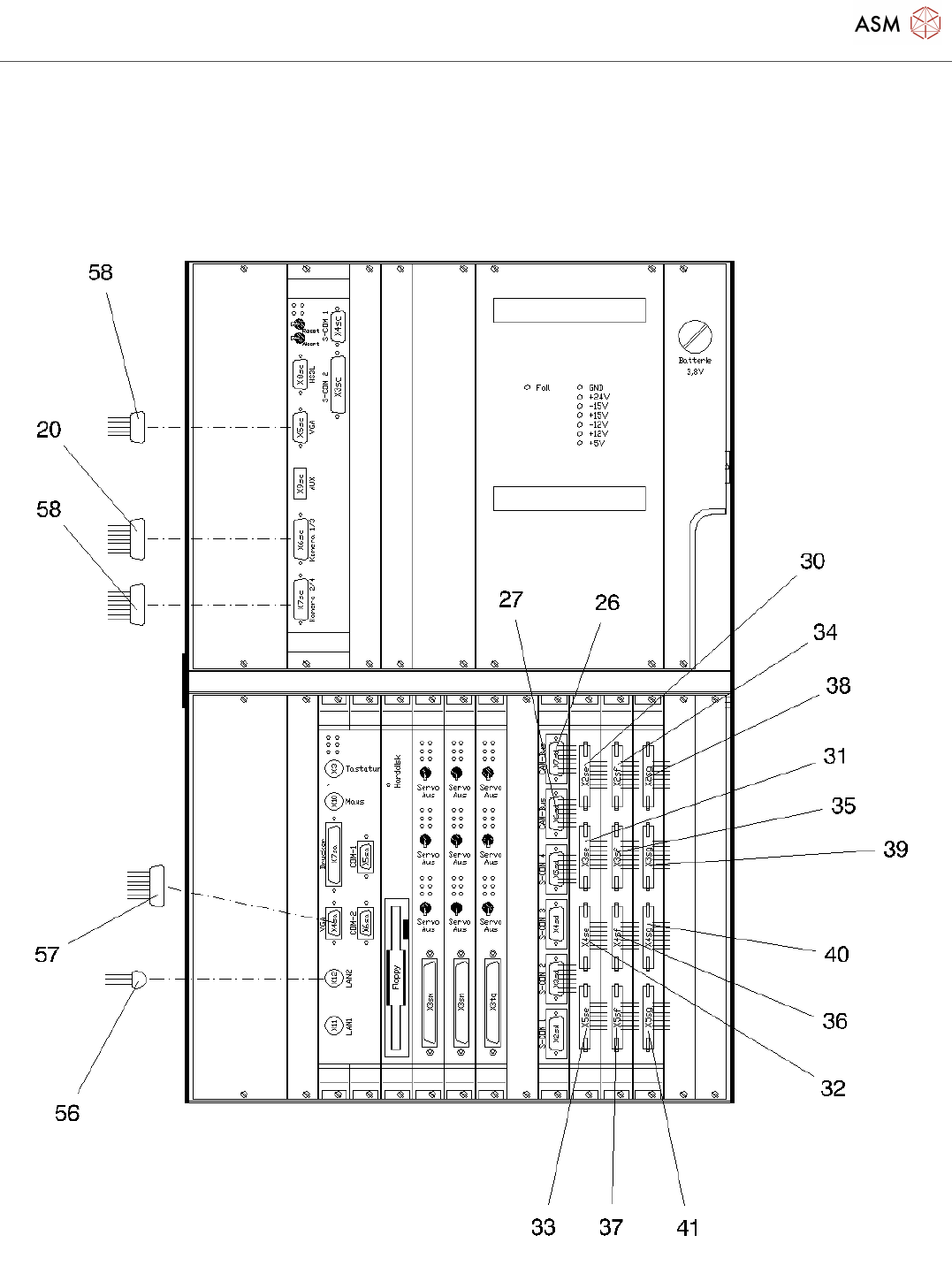
Cable trees
Page 16 / 35
23.11.2021
该页面需要启用 JavaScript 才能进行交互式预览。