00196509-02_UM_X-Serie_SR705_HU - 第190页
Az automata m ű szaki adatai Üzemeltetési útmutató SIPLACE X-sorozat X-szállítók Az SR.70x.xx szoftververziótól Kiadás 01/2011 190 Foglalt szállítóhelyek 3 3 Alkatrészkészlet Rudas táranként ma x. 150 darab, 3 az alkatré…

Üzemeltetési útmutató SIPLACE X-sorozat Az automata műszaki adatai
Az SR.70x.xx szoftververziótól Kiadás 01/2011 X-szállítók
189
3.9.4.2 Szállítóadapterek rezgő hosszanti szállítóval ellátott X-sorozathoz
UTALÁS 3
Az X sorozatú szállítómodulok számára való adapter szállítási terjedelméhez még egy adapterle-
mez tartozik:
– Max. 16,5 mm AR magasságig helyezze be az adapterlemezt.
– A 16,5 mm és 25 mm közötti magasságú alkatrészek megmunkálása adapter-lemez nél-
kül történik.
3
3.9 - 15 ábra Szállítóadapterek rezgő hosszanti szállítóval ellátott X-sorozathoz
(1) Adapterek az X-sorozat szállítóihoz (cikk-sz. 00141305-xx)
(2) 16,5 mm adapterlemez (a szállítási terjedelem része)
(3) Rezgő hosszanti szállító, 3-as típus (cikk-sz. 00142031-xx)
Szélesség 34,4 mm
Nyomvonal szállítónként 1, 2 vagy 3 3

Az automata műszaki adatai Üzemeltetési útmutató SIPLACE X-sorozat
X-szállítók Az SR.70x.xx szoftververziótól Kiadás 01/2011
190
Foglalt szállítóhelyek 3 3
Alkatrészkészlet Rudas táranként max. 150 darab, 3
az alkatrész hosszúsága szerint 3
Fajlagos adatok a rudas tárra vonatkozóan 9,5 mm szélesség / 3 darab 3
15 mm szélesség / 2 darab 3
> 15 mm szélesség / 1 darab 3
30 mm szélesség / 1 darab 3
Rázási idő SIPLACE Pro esetén 400-tól
1000 ms-ig állítható 3
3.9.4.3 Szállítóadapterek Reject Conveyor (eltávolító modul) egységgel ellátott
X-sorozat számára
3
3.9 - 16 ábra Szállítóadapterek eltávolító modullal ellátott X-sorozathoz
(1) Adapterek az X-sorozat szállítóihoz (cikk-sz. 00141305-xx)
(2) Adapter-lemez Reject Conveyor számára (cikk-sz. 00141308-xx)
(3) Reject Conveyor (eltávolító modul)

Üzemeltetési útmutató SIPLACE X-sorozat Az automata műszaki adatai
Az SR.70x.xx szoftververziótól Kiadás 01/2011 X-szállítók
191
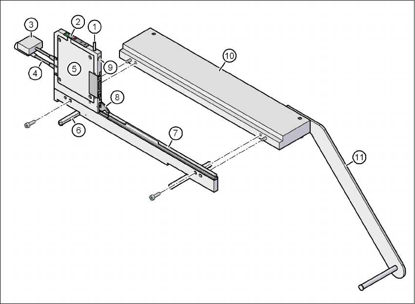
3.9.5 Energia- és adatinterfész X-szállítómodulokhoz
Cikkszám 00141247-xx Energia- és adatinterfész X-szállítómodulhoz
3
3.9 - 17 ábra Energia- és adatinterfész X-szállítómodulokhoz
(1) Kireteszelő gomb a reteszelő kilincs kioldásához
(2) Kezelőpult
(3) Adatkábel
(4) Áramellátó kábel
(5) Elektronikaház
(6) Kihajtható lábak
(7) Omega-profil a szállítómodulok vezetéséhez
(8) Reteszelő kilincs
(9) Tartófurat a szállítómodul elülső központosító csapjához
(10) Alaplap
(11) Tekercstartó