文档中心
/
Cable trees_20211124_070108
Cable trees_20211124_070108 - 第3页
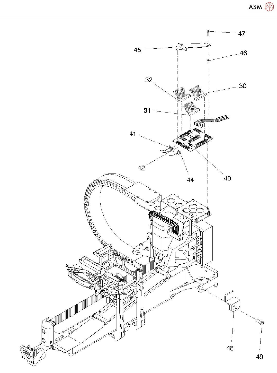
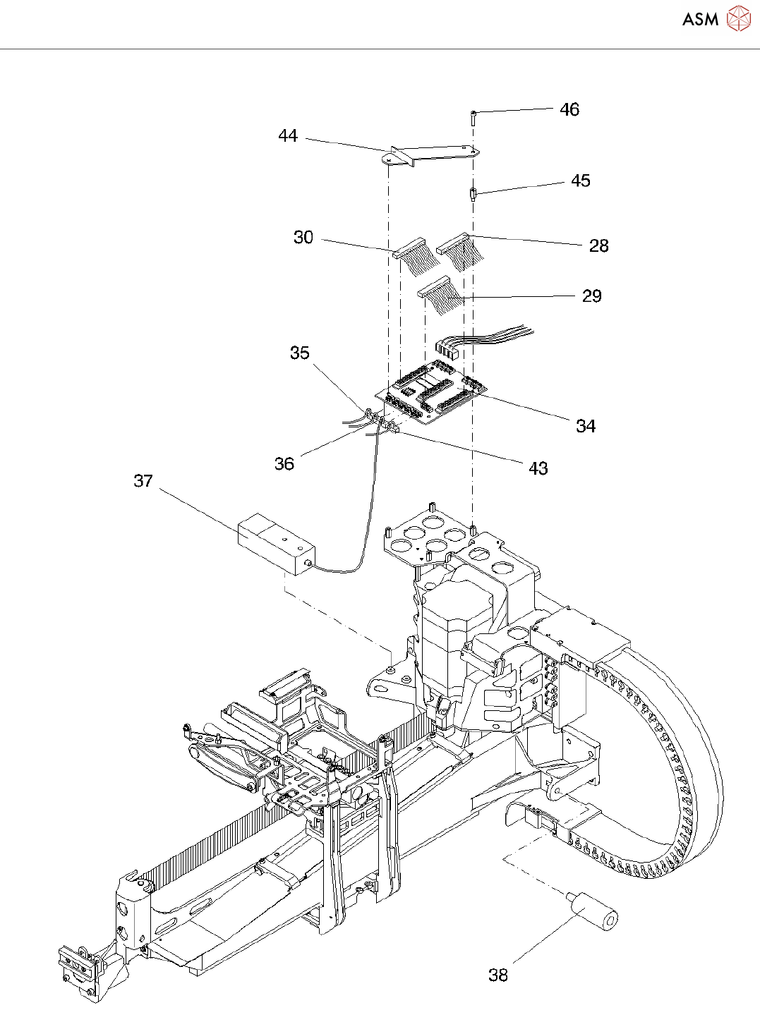
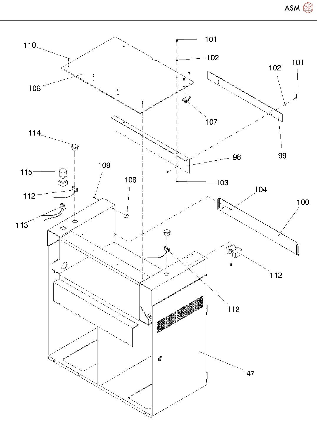
Cable trees Page 3 / 33 24.11.2021
目录
100%
显示:宽度
宽度
1 / 33
回到旧版
旧版
?
Cable trees
Page 2 / 33
24.11.2021
Cable trees
Page 3 / 33
24.11.2021
Cable trees
Page 4 / 33
24.11.2021
该页面需要启用 JavaScript 才能进行交互式预览。