00198719-01_UM_X-Serie-S_PL - 第223页
Instrukcja eksploatacji SIPLACE ser ii X S 4 Ustawienie i uruchomienie Od wersji oprogramowania 713.0 Wydanie 11/2019 4.3 Ustawienie automatu 223 4.3.8.2 Poziomowanie automatu systemem transportowym na poduszce powietrzn…

4 Ustawienie i uruchomienie Instrukcja eksploatacji SIPLACE serii X S
4.3 Ustawienie automatu Od wersji oprogramowania 713.0 Wydanie 11/2019
222
Uważać, aby nie wykręcać za daleko środkowych łap, co spowoduje rozregulowanie wypo-
ziomowania automatu.
4
Rys. 4.3 - 12 Ustawianie i kontrolowanie środkowej łapy maszyny
Sprawdzić jeszcze raz dokładność wypoziomowania automatu poziomnicą maszynową.
Kluczem płaskim rozw. 65 dokręć przeciwnakrętkę M24 (poz. 3).
(1) Element dystansowy
(2) Środkowa łapa maszyny
(3) Przeciwnakrętka M24

Instrukcja eksploatacji SIPLACE serii X S 4 Ustawienie i uruchomienie
Od wersji oprogramowania 713.0 Wydanie 11/2019 4.3 Ustawienie automatu
223
4.3.8.2 Poziomowanie automatu systemem transportowym na poduszce powietrznej
Podłożyć cztery poduszki powietrzne układu transportowego z poduszkami powietrznymi pod
punkty przylegania na ramie maszyny.
Podnieść automat i ustawić go względem linii.
Sprawdzić odległość od przenośników płytek drukowanych sąsiadujących automatów. Powi-
nien wynosić od 1 mm do 3 mm.
Opuścić automat.
4
Rys. 4.3 - 13 Pozycje podporowe do systemu transportowego z poduszkami powietrznymi (przykład SIPLACE X2 S /
X3 S / X4 S)
(1) 4 punkty przylegania układu transportowego z poduszkami powietrznymi
(1)
(1)

4 Ustawienie i uruchomienie Instrukcja eksploatacji SIPLACE serii X S
4.3 Ustawienie automatu Od wersji oprogramowania 713.0 Wydanie 11/2019
224
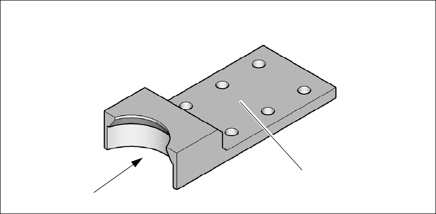
4.3.8.3 Montaż kotew mocujących do podłoża (opcjonalny)
W razie potrzeby automat można zabezpieczyć kotwami w podłożu przed wstrząsami i ześlizgnię-
ciem (np. w wyniku trzęsienia ziemi).
Do każdej łapy zamontować jedną kotwę.
4
Rys. 4.3 - 14 Kotwa do podłoża
Założyć kotwę (1) na łapę.
Odpowiednimi elementami mocującymi przykręcić kotwę do sześciu otworów (2) w podłożu.
4.3.9 Zdejmowanie zabezpieczeń transportowych
Zabezpieczenia transportowe są przykręcone na prowadnicach liniowych. Każdy portal jest za-
bezpieczony na osi X i osi Y dwoma zabezpieczeniami transportowymi.
Zdejmij wszystkie zabezpieczenia transportowe z osi portali.
Przed rozpoczęciem transportu automatu SIPLACE zamontować zabezpieczenia transpor-
towe.
4.3.10 Usuwanie środka antykorozyjnego z prowadnic szynowych
Przed wysyłką automaty są zabezpieczane środkiem antykorozyjnym.
(2)
(1)