00196511-02_UM_X-Serie_SR705_RU - 第190页
Техническ ие данные автомата Руководство по эксплуатации SIPLACE серия X Подающие модули X ПО - версия SR.70x.xx и выше Издание 01/2011 190 Ширина 34,4 мм Дор ож ек на пи татель 1, 2 ил и 3 3 Использ у емые места установ…

Руководство по эксплуатации SIPLACE серия X Технические данные автомата
ПО-версия SR.70x.xx и выше Издание 01/2011 Подающие модули X
189
3.9.4.2 Адаптер подающего модуля для серии Х с линейным питателем
ССЫЛКА 3
В комплект поставки адаптера подающего модуля серии Х входит также адаптерная плас-
тина:
– при высотах компонентов до 16,5 мм рекомендуется использовать адаптерную
пластину;
– при высотах компонентов от 16,5 мм до 25 мм адаптерную пластину не используют.
3
Pис. 3.9 - 15 Адаптер подающего модуля для серии Х с линейным питателем
(1) Адаптер подающего модуля для серии Х (Изделие № 00141305-xx)
(2) Адаптерная пластина 16,5 мм (входит в комплект поставки)
(3) Линейный питатель, тип 3 (изделие № 00142031-xx)

Технические данные автомата Руководство по эксплуатации SIPLACE серия X
Подающие модули X ПО-версия SR.70x.xx и выше Издание 01/2011
190
Ширина 34,4 мм
Дорожек на питатель 1, 2 или 3 3
Используемые места установки
подающих модулей 3 3
Запас компонентов на трубчатый магазин - макс. 150 штук, 3
в зависимости от длины компонентов 3
Специф. данные по трубчатым магазинам ширина 9,5 мм / 3 штуки 3
ширина 15 мм / 2 штуки 3
ширина > 15 мм / 1 штука 3
ширина 30 мм / 1 штука 3
Время вибрации при помощи SIPLACE Pro с регулировкой
от 400 до > 1000 мс 3
3.9.4.3 Адаптер подающего модуля для серии Х с устройством Reject Conveyor
(транспортер бракованных изделий)
3
Pис. 3.9 - 16 Адаптер подающего модуля для серии Х с устройством Reject Conveyor
(транспортер бракованных изделий)
(1) Адаптер подающего модуля для серии Х (Изделие № 00141305-xx)
(2) Адаптерная пластина для устройства Reject Conveyor (транспортер бракованных изде-
лий) (изделие № 00141308-xx)
(3) Устройство Reject Conveyor (транспортер бракованных изделий)

Руководство по эксплуатации SIPLACE серия X Технические данные автомата
ПО-версия SR.70x.xx и выше Издание 01/2011 Подающие модули X
191
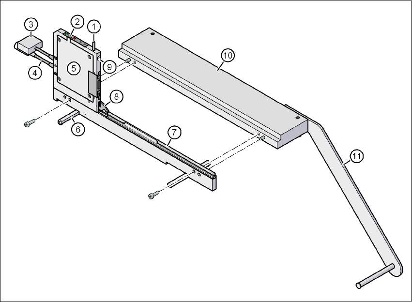
3.9.5 Интерфейс передачи энергии и обмена данных для подающих модулей
Х
Изделие № 00141247-xx Интерфейс передачи энергии и обмена данных для подающего
модуля X
3
Pис. 3.9 - 17 Интерфейс передачи энергии и обмена данных для подающих модулей Х
(1) Кнопка разблокировки блокирующего стопора
(2) Панель управления
(3) Кабель передачи данных
(4) Питающий кабель
(5) Кожух для электронного оборудования
(6) Откидные ножки
(7) Профиль "Омега" для направляющей подающих модулей
(8) Кнопка разблокировки
(9) Посадочное отверстие для переднего центрирующего штифта подающего модуля
(10) Базовая плата
(11) Держатель катушки