KE-2030-Rev08 - 第79页
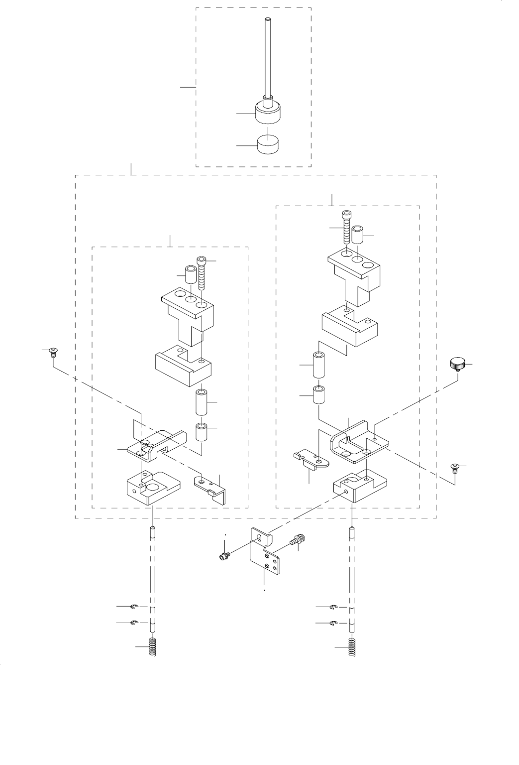
- 74 - NOTE( 注記 ) #01....FOR FRONT ・ LEFT-RIGHT 手前・左右又は奥・ピン用 OR REAR PIN #02....FOR FRONT ・ RIGHT-LEFT OR 手前・ 右左又は奥・外形用 REAR ・ OUTLINE *INSTALLATION POSITION AND DIRE CTION VARY IF THE PW B TRANSFER REFERENCE IS DIFFER E…

- 73 -
37.PWB CONVEYOR COMPONENTS (8)
基板搬送関係(8)
9
3
4
11
10
9
12
13
7
6
2
8
1
3
5
17
18
23
24
24
15
16
14
25
23
24
24
14
19
22
21
20

- 74 -
NOTE( 注記 ) #01....FOR FRONT ・ LEFT-RIGHT 手前・左右又は奥・ピン用
OR REAR PIN
#02....FOR FRONT ・ RIGHT-LEFT OR 手前・右左又は奥・外形用
REAR ・ OUTLINE
*INSTALLATION POSITION AND DIRECTION VARY IF THE PWB TRANSFER
REFERENCE IS DIFFERENT.
基板搬送基準が異なると取付位置、方向が変わります。
REF.NO NOTE PART NO D E S C R I P T I O N
品 名
Qty
1 E2260-725-0B0 GUIDE BLOCK ASM.
ガイドブロック組
2
2 E2260-725-0A0 GUIDE BLOCK ASM.
ガイドブロック組
(1)
3 SB-7040001-00 BEARING
ころがり軸受
(2)
4 E2122-715-000 GB SLEEVE
GB スリーブ
(1)
5 SM-6042002-TN SCREW
六角穴ボルト
(2)
6 E2195-721-000 STOPPER LEVER L
ストッパレバー L
(1)
7 E2240-721-000 DAMPER PLATE L
ダンパプレート L
(1)
8 E2260-725-AA0 GUIDE BLOCK R ASM.
ガイドブロック R 組
(1)
9 SB-7040001-00 BEARING
ころがり軸受
(2)
10 E2122-715-000 GB SLEEVE
GB スリーブ
(1)
11 SM-6042002-TN SCREW
六角穴ボルト
(2)
12 E2196-721-000 STOPPER LEVER R
ストッパレバー R
(1)
13 E2241-721-000 DAMPER PLATE R
ダンパプレート R
(1)
14 SM-1030601-SC SCREW M3 L=6
皿小ねじ M3X0.5 L=6
8
15
#01
E2148-721-000 SENSOR BRACKET R
センサブラケット R
2
16
#02
E2147-721-000 SENSOR BRACKET L
センサブラケット L
2
17
#01
SL-6030692-TN SCREW
座金付き六角穴ボルト
2
18
#02
SL-6030692-TN SCREW
座金付き六角穴ボルト
2
19 SL-4031091-SC SCREW M3 X 10
なべ小ねじセムス
2
20 400-34506 BACK UP PIN ASSEMBLY
バックアップピン組
16
21 400-34507 BACK UP PIN
バックアップピン
(1)
22 E2100-700-000 BACK UP MAGNET
バックアップマグネット
(1)
23 E2127-715-000 DAMPER SPRING
ダンパばね
4
24 RE-0300000-K0 E-RING 3
E 形止め輪 3
8
25 E2076-721-000 BU HAND KNOB
BU ハンドノブ
2

- 75 -
38.PWB CONVEYOR COMPONENTS (9)
基板搬送関係(9)
6
5
10
7
8
18
18
19
17
24
23
21
20
24
22
32
32
25
31
25
31
16
9
7
10
5
6
9
8
30
26
27
28
29
22
60
33
65
59
58
59
58
64
50
52
44
46
61
34
53
13
15
14
4
63
62
39
47
49
66
67
1211
40
A
54
56
54
56
A
57
38
37
36
3
3
36
41
43
35
1
2