Parts List (Mechanical Parts) - 第110页
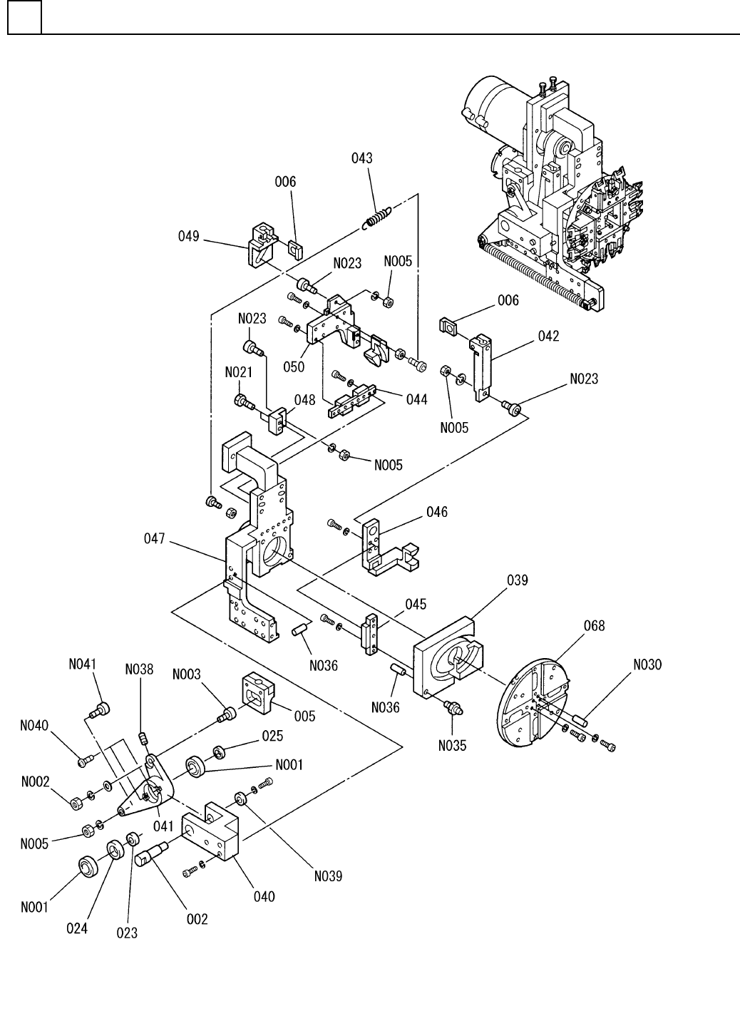
PART NAME REMARKS Q'TY 7 挿入ユニット駆動部 INSERTION U NIT DRIVING SE CT. イラスト No. REF No. PART No. 部 品 品 番 個数 備 考 R 1 R 2 1 1087123000 INSERTION UN IT DRIVING UNIT ソウニュウユニットクドウ ブ 1 001 108712300101 HOUSING ハウジング 1 002 …

挿入ユニット駆動部
INSERTION UNIT DRIVING SECT.
7
F10871-23-000-AF_02
M91

PART NAME
REMARKS
Q'TY
7
挿入ユニット駆動部
INSERTION UNIT DRIVING SECT.
イラスト
No.
REF
No.
PART No.
部 品 品 番 個数 備 考
R
1
R
2
1 1087123000
INSERTION UNIT DRIVING UNIT ソウニュウユニットクドウ ブ
1
001 108712300101
HOUSING ハウジング
1
002 108712300201
HOUSING ハウジング
1003 108712300302
PULLEY プーリー
1005 1087123005
DOG FOR SENSOR ドグ
1
006 108712300602
PULLEY プーリー
1
007 108712300702
PLATE プレート
1008 N210062742AA
FRAME フレーム
1010 N210047002AA
BRACKET ブラケット
1
011 108712301102
BRACKET ブラケット
1012 108712301202
PLATE プレート
1013 N210047001AA
BRACKET ブラケット
1
014 108712301401
BRACKET ブラケット
NCLM5-8-10
1
N001
N560NCLM-259
COLLAR カラー
M5,SUS301,2-TYPE,SS400
2
N002
N510004700AA
LOCK-NUT ロックナット
F605ZZ
1
N003
KXF0AL7AA00
BALL BEARING ボールベアリング
HMW-TAP-WER NO4
1
N004
N986HMWT-179
ADHESIVE TAPE ネンチャクテープ
M3X6,STEEL,P.C
1
N005
XXE3C6FP
HEX. SOCKET SET SCREW ロッカクアナツキトメネジ
MBF0602RL-2.7RRGT+107L
1
N006
N510019399AA
BALL SCREW ボールネジ
315 3GT-6
1
N007
N6413153GT6
BELT(TIMING) ベルト(タイミング)
P914SA1
1
N008
N310P914SA1
SENSOR センサ
M3X6-4.8 A2J (Trivalen
2
N009
N510018253AA
TRUSS HEAD SCREW トラスコネジ
2RSR7MUUC1S+65LPMS
2
N010
N5132RSR-A63
LINEAR MOTION UNIT リニアモーションユニット
3X8,A-TYPE
4
N011
N986YYYY-508
PARALLEL PIN ヘイコウピン
4X10,A-TYPE
2
N012
N986YYYY-509
PARALLEL PIN ヘイコウピン
M2X8-10.9 A2J (Trivale
6
N014
N510017261AA
HEX. SOCKET HEAD CAP BOLT ロッカクアナツキボルト
M2X4-10.9 A2J (Trivale
8
N015
N510017257AA
BOLT ボルト
CIMRB10-14-0.05
1
N017
N986C1MR-T56
RING リング
605ZZ
2
N018
N510003188AA
BALL BEARING ボールベアリング
2X2X6,PARALLEL,B.S.R
1
N019
XPA2L2F6
SUNK KEY シズミキー
MSM5AZAJA S
1V 1 308712300201
MOTOR モータ
M92
F10871-23-000-AF_02

移載チャック部(1)
TRANSFER CHUCK SECT.(1)
8
F10871-11-000-AE_02-1
M93