Parts List (Mechanical Parts) - 第112页
PART NAME REMARKS Q'TY 8 移載チャック部(1) TRANSFER CH UCK SECT.(1) イラスト No. REF No. PART No. 部 品 品 番 個数 備 考 R 1 R 2 1 1087111000 TRANSFER CHU CK UNIT イサイチャックブ 1 002 108711100201 PIN ピン 1 005 108711100502 BLOCK(SLIDE) ブ…

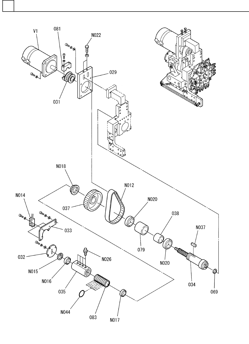
移載チャック部(1)
TRANSFER CHUCK SECT.(1)
8
F10871-11-000-AE_02-1
M93

PART NAME
REMARKS
Q'TY
8
移載チャック部(1)
TRANSFER CHUCK SECT.(1)
イラスト
No.
REF
No.
PART No.
部 品 品 番 個数 備 考
R
1
R
2
1 1087111000
TRANSFER CHUCK UNIT イサイチャックブ
1
002 108711100201
PIN ピン
1
005 108711100502
BLOCK(SLIDE) ブロック(スライド)
2006 104131110801
SPACER スペーサ
1023 1087111023
COLLAR カラー
1
024 1087111024
COLLAR カラー
1
025 1087111025
COLLAR カラー
1039 N210044600AA
CAM カム
1040 108711104003
BRACKET ブラケット
1
041 108711104102
LEVER レバー
1042 108711104201
SLIDER スライダ
1043 104131106301
SPRING バネ
1
044 1087111044
LINEAR MOTION UNIT リニアモーションユニット
1
045 1087111045
LINEAR MOTION UNIT リニアモーションユニット
1046 N210044602AB
CAM カム
1047 108711104704
FRAME フレーム
1
048 104131109001
BLOCK ブロック
1
049 104131102906
SLIDER スライダ
1050 N210044280AB
CAM カム
1068 104691107801
PLATE プレート
7902AST YSULP4
2
N001
N510003558AA
BEARING ベアリング
M6-6H-4T A2J (Trivalen
1
N002
N510017868AA
NUT ナット
CFN6RA-0251202
1
N003
N531CFN6-057
CAM FOLLOWER カムフォロア
M5-6H-4T A2J (Trivalen
4
N005
N510017864AA
HEXAGON NUT ロッカクナット
M4X25-6g 4T A2J (Triva
2
N021
N510017730AA
BOLT ボルト
CF5RA
3
N023
N531CF5RA
CAM FOLLOWER カムフォロア
2X6,h8B,STEEL
1
N030
XPJ2E6FW
PARALLEL PIN ヘイコウピン
NGA-610S
1
N035
N510021518AA
GREASE NIPPLE グリースニップル
3X10,h8B,STEEL
2
N036
XPJ3E10FW
PARALLEL PIN ヘイコウピン
M3X8-45H A2J (Trivalen
1
N038
N510018426AA
HEX. SOCKET SET SCREW ロッカクアナツキトメネジ
WSSB20-5-3
1
N039
KXF0CTMAA00
WASHER ザガネ
M3X6-4.8 A2J (Trivalen
2
N040
N510018253AA
TRUSS HEAD SCREW トラスコネジ
CFN5R-A-1508794
1
N041
N531CFN5-071
CAM FOLLOWER カムフォロア
M94
F10871-11-000-AE_02-1

移載チャック部(2)
TRANSFER CHUCK SECT.(2)
8
F10871-11-000-AE_02-2
M95