Parts List (Mechanical Parts) - 第116页
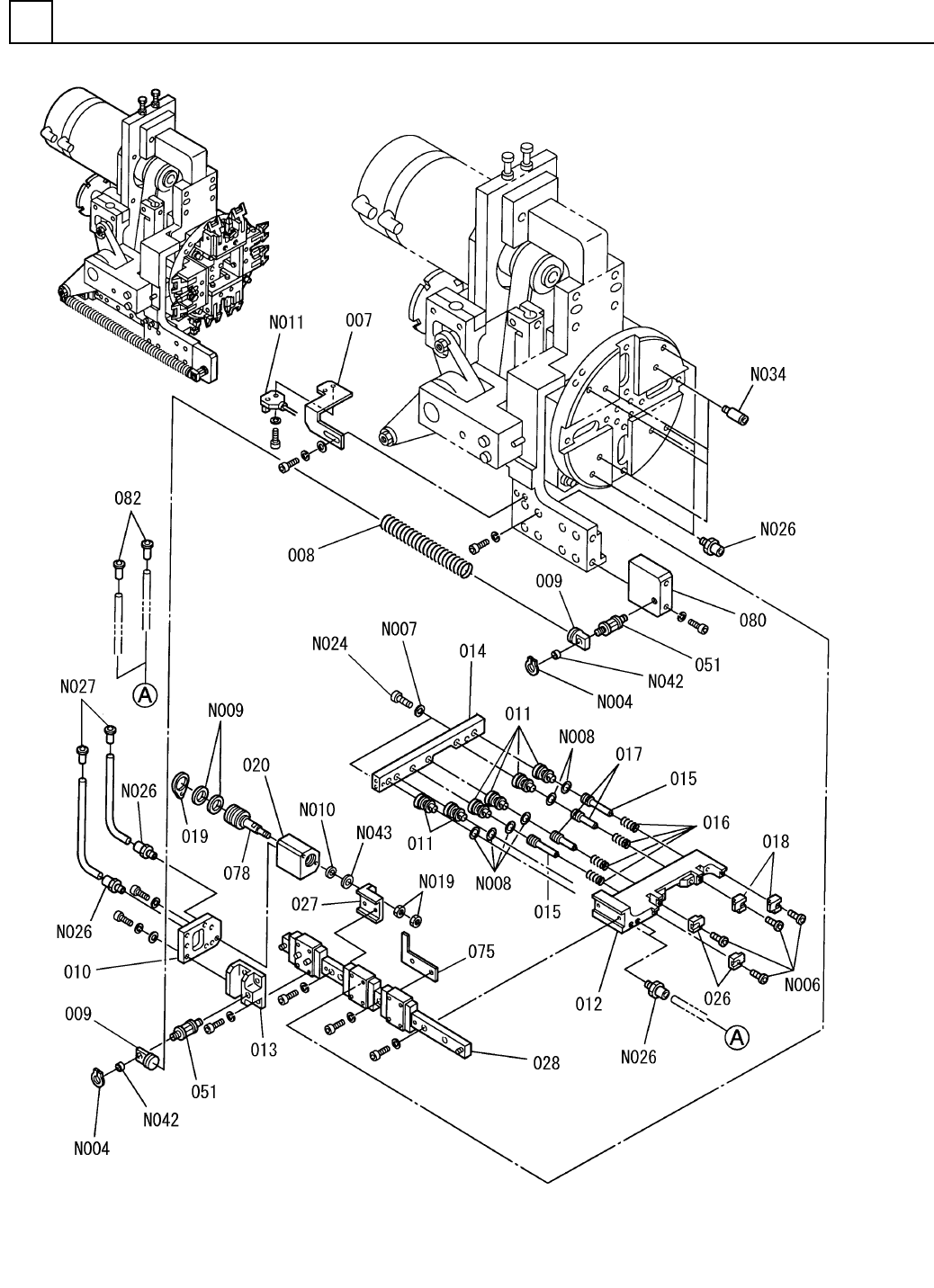
PART NAME REMARKS Q'TY 8 移載チャック部(3) TRANSFER CH UCK SECT.(3) イラスト No. REF No. PART No. 部 品 品 番 個数 備 考 R 1 R 2 1 007 108711100702 BRACKET ブラケット 1 008 1087111008 SPRING バネ 2 009 108711100902 HOOK フック 1 010 108711101…

移載チャック部(3)
TRANSFER CHUCK SECT.(3)
8
F10871-11-000-AE_02-3
M97

PART NAME
REMARKS
Q'TY
8
移載チャック部(3)
TRANSFER CHUCK SECT.(3)
イラスト
No.
REF
No.
PART No.
部 品 品 番 個数 備 考
R
1
R
2
1007 108711100702
BRACKET ブラケット
1
008 1087111008
SPRING バネ
2
009 108711100902
HOOK フック
1010 1087111010
PLATE(GUIDE) プレート(ガイド)
6011 108711101101
SPACER スペーサ
1
012 108711101201
SLIDER スライダ
1
013 108711101302
BLOCK(GUIDE) ブロック(ガイド)
1014 1087111014
CAP キャップ
2015 108381101501
PISTON ピストン
4
016 104131100803
SPRING バネ
2017 108381101701
PISTON ピストン
2018 N210050981AA
BLOCK ブロック
1
019 108711101901
PACKING パッキン
1
020 108711102001
HOUSING ハウジング
2026 N210050982AA
BLOCK ブロック
1027 N210065600AA
BRACKET ブラケット
1
028 1087111028
LINEAR MOTION UNIT リニアモーションユニット
2
051 108711105102
PIN ピン
1075 108711107502
DOG FOR SENSOR ドグ
1078 N210065536AA
PISTON ピストン
1
080 108711108002
BLOCK ブロック
2
082 N210060559AA
ORIFICE RING オリフィスリング
6,STEEL,P.C
2
N004
XUB6FP
RETAINING RING C-TYPE,SHAFT C ガタジクヨウトメワ
FECAP-2X5-3CR-202
4
N006
N510015919AA
HEX. SOCKET HEAD CAP BOLT ロッカクアナツキボルト
No.2 2 S A2J (Trivalen
2
N007
N510018324AA
SPRING WASHER バネザガネ
C03835A
6
N008
KXF0DWKFA00
O-RING O リング
MYA-12
2
N009
N555MYA12
PACKING パッキン
MYA-5
1
N010
KXF0CSQAA00
PACKING パッキン
EE-SX871
1
N011
N310EESX871
SENSOR センサ
M3-6H-4T A2J (Trivalen
2
N019
N510017849AA
HEXAGON NUT ロッカクナット
Hexagon socket head ca
2
N024
N510017254AA
BOLT ボルト
M-5H-4
8
N026
KXF02T7AA00
FITTING ニップル
R2.5X0.5
2
N027
KXF08ZYAA00
RING リング
KJH04-M5
4
N034
KXF029HAA00
JOINT ジョイント
K5B0606
2
N042
N510022566AA
BUSHING ブッシュ
1
N043
N560WSSB1451
WASHER ワッシャ
M98
F10871-11-000-AE_02-3

移載チャック部(4)
TRANSFER CHUCK SECT.(4)
8
F10871-11-000-AE_02-4
M99