Parts List (Mechanical Parts) - 第122页
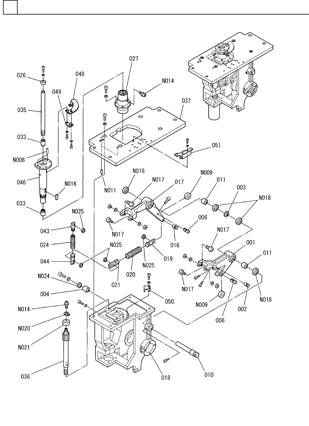
PART NAME REMARKS Q'TY 9 上部アンビル部(2) UPPER ANVIL SECT.(2) イラスト No. REF No. PART No. 部 品 品 番 個数 備 考 R 1 R 2 1 001 1087121001 PIPE パイプ 1 002 108712100201 PIPE パイプ 2 004 1016323037 PIN ピン 2 005 N210034873AA BLOCK …

上部アンビル部(2)
UPPER ANVIL SECT.(2)
9
F10871-21-000-AF_03-2
M103

PART NAME
REMARKS
Q'TY
9
上部アンビル部(2)
UPPER ANVIL SECT.(2)
イラスト
No.
REF
No.
PART No.
部 品 品 番 個数 備 考
R
1
R
2
1001 1087121001
PIPE パイプ
1
002 108712100201
PIPE パイプ
2
004 1016323037
PIN ピン
2005 N210034873AA
BLOCK ブロック
4006 108712100601
PIN ピン
2
007 1010461017
ROLLER ローラ
2
008 1010461016
ROLLER ローラ
2009 1087121009
SPRING バネ
2012 101632300409
COVER カバー
2
013 104132101501
BASE(CLINCH) ベース(クリンチ)
2015 108712101501
LEVER レバー
2016 1011368033
PIN ピン
2
017 1041321020
CUTTER & CLINCHER カッター & クリンチャ
2
018 N210057771AA
LEVER レバー
1022 108712102202
DOG FOR SENSOR ドグ
2024 N210061730AA
PIN ピン
2RSR7MUUC1S+65LPMS
2
N002
N5132RSR-A63
LINEAR MOTION UNIT リニアモーションユニット
M2X6-10.9 A2J (Trivale
6
N003
N510017260AA
HEX. SOCKET HEAD CAP BOLT ロッカクアナツキボルト
M2.5X5-4.8 A2J (Trival
4
N005
N510018123AA
FLUSH HEAD SCREW サラコネジ
M2X14-10.9 A2J (Trival
4
N006
N510022988AA
BOLT ボルト
M2X8-10.9 A2J (Trivale
4
N009
N510017261AA
HEX. SOCKET HEAD CAP BOLT ロッカクアナツキボルト
FECAP-4X7-3CR
4
N012
N510023704AA
BOLT ボルト
MS3-6
2
N017
KXF086LAA00
PIN ピン
D6.0XD10.0
1V 1 N434YYYY-003
TUBE チューブ
TF225
1
V 2 N434TF225
TUBE チューブ
M104
F10871-21-000-AF_03-2

下部アンビル部(1)
UNDER ANVIL SECT.(1)
10
F10871-12-000-AF_02-1
M105