Parts List (Mechanical Parts) - 第125页
下部アンビル部(2) UNDER ANVIL SECT.(2) 10 F10871-12-000-AF_0 2-2 M107

PART NAME
REMARKS
Q'TY
10
下部アンビル部(1)
UNDER ANVIL SECT.(1)
イラスト
No.
REF
No.
PART No.
部 品 品 番 個数 備 考
R
1
R
2
1 1087112000
UNDER ANVIL UNIT カブアンビルユニット
1
001 104131200103
LEVER レバー
1
002 1041312002
PIN ピン
1003 1087109048
COLLAR カラー
1004 102460901701
COLLAR カラー
2
006 102460903701
PIN ピン
1
010 104131201001
SHAFT シャフト
2011 104131201101
COLLAR カラー
1016 1046912016
PIN ピン
1
017 104131201703
LEVER レバー
1018 108711201804
FRAME フレーム
1019 1087112019
PIN ピン
1
020 104131202002
SPRING バネ
1
021 1087112021
PIN ピン
1024 104131202403
SPRING バネ
1026 104131202603
COLLAR カラー
1
027 108711202702
FLANGE(ANVIL) フランジ(アンビル)
2
033 1087112033
BUSHING ブッシュ
1035 1087112035
ROD ロッド
1036 104131203601
SHAFT シャフト
1
037 108711203702
PLATE プレート
1
043 1087112043
PIN ピン
1044 1087112044
PIN ピン
1046 108711204603
UNDER ANVIL アンビル(アンダー)
1
048 1087112048
PLATE プレート
1049 1087112049
BRACKET ブラケット
1050 108711205002
BRACKET ブラケット
1
051 108711205102
COVER カバー
6X12,A-TYPE
2
N008
N986YYYY-510
PARALLEL PIN ヘイコウピン
NART10R-040010
2
N009
N531NART-016
ROLLER FOLLOWER ローラフォロア
10X30,m6A,STEEL
2
N011
XPK10A30FW
PARALLEL PIN ヘイコウピン
NGA-6075S
2
N014
N510022291AA
GREASE NIPPLE グリースニップル
8X7X18,STEEL,PARALLEL,
1
N016
XPA8L7F18
SUNK KEY シズミキー
CF6RA-840178
4
N017
N531CF6R-015
CAM FOLLOWER カムフォロア
6003ZZ
4
N018
XLC6003ZZ
BALL BEARING ボールベアリング
12,STEEL,P.C
1
N020
XUB12FP
RETAINING RING C-TYPE C ガタジクヨウトメワ
6201ZZ
1
N021
XLC6201ZZ
BALL BEARING ボールベアリング
SRW16
1
N024
KXF03KJAA00
WASHER ザガネ
K5B0806
4
N025
N510022568AA
BUSHING ブッシュ
M106
F10871-12-000-AF_02-1

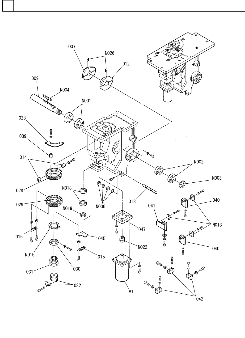
下部アンビル部(2)
UNDER ANVIL SECT.(2)
10
F10871-12-000-AF_02-2
M107

PART NAME
REMARKS
Q'TY
10
下部アンビル部(2)
UNDER ANVIL SECT.(2)
イラスト
No.
REF
No.
PART No.
部 品 品 番 個数 備 考
R
1
R
2
1007 108711200704
CAM カム
1
009 108711200902
SHAFT シャフト
1
012 108711201204
CAM カム
1013 1041312013
SHAFT シャフト
1014 104131201402
COTTER コッタ
2
015 1041312015
SPRING バネ
1
023 1087112023
DOG FOR SENSOR センサドグ
1028 104131202801
GEAR ギヤー
1029 104131202901
GEAR ギヤー
1
030 N210027746AA
RING リング
1031 1087112031
NUT ナット
1032 1083513040
GUIDE ガイド
2
039 1041312039
SPACER スペーサ
2
040 108711204001
BRACKET ブラケット
1041 1087112041
BRACKET ブラケット
3042 1015808003
BLOCK ブロック
1
045 104131204501
PLATE プレート
1
047 1046912047
BRACKET ブラケット
6206ZZ
2
N001
XLC6206ZZ
BALL BEARING ボールベアリング
6205ZZ
2
N002
XLC6205ZZ
BALL BEARING ボールベアリング
FU05SC
1
N003
KXF0239AA00
LOCK-NUT ロックナット
8X7X63,STEEL,PARALLEL,
1
N004
XPA8L7F63
SUNK KEY シズミキー
6,STEEL,P.C
4
N006
XUC6FP
RETAINING RING E-TYPE E ガタトメワ
EE-SPX403+EE-1006
3
N013
N310EESP-051
SENSOR センサ
50,STEEL,P.C
1
N015
XUB50FP
RETAINING RING C-TYPE, SHAF C ガタジクヨウトメワ
6003ZZ
2
N018
XLC6003ZZ
BALL BEARING ボールベアリング
FU03SC
1
N019
N510003047AA
NUT ナット
N-14-19
1
N022
N644N1419
COUPLING カップリング
M8X10-45H A2J (Trivale
2
N026
N510018455AA
SET SCREW ロッカクアナツキトメネジ
MSM082AJA S
1V 1 308712200101
MOTOR モータ
M108
F10871-12-000-AF_02-2