Parts List (Mechanical Parts) - 第128页
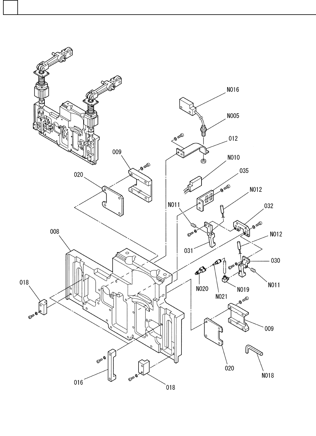
PART NAME REMARKS Q'TY 11 テ-プカッタ部(1) TAPE CUTTER SECT.(1) イラスト No. REF No. PART No. 部 品 品 番 個数 備 考 R 1 R 2 1 1087118000 TAPE CUTTER UNIT テ-プカッタユニット 1 008 N210029947AA BRACKET ブラケット 2 009 108711800903 GUIDE (L) ガ…

テ-プカッタ部(1)
TAPE CUTTER SECT.(1)
11
F10871-18-000-AJ_01-1
M109

PART NAME
REMARKS
Q'TY
11
テ-プカッタ部(1)
TAPE CUTTER SECT.(1)
イラスト
No.
REF
No.
PART No.
部 品 品 番 個数 備 考
R
1
R
2
1 1087118000
TAPE CUTTER UNIT テ-プカッタユニット
1
008 N210029947AA
BRACKET ブラケット
2
009 108711800903
GUIDE (L) ガイド(L)
1012 1087118012
BRACKET ブラケット
2016 108711801602
BLOCK ブロック
2
018 108711801802
BLOCK ブロック
2
020 104131803102
PLATE プレート
1030 108711803005
BRACKET ブラケット
1031 108711803104
BRACKET ブラケット
1
032 108711803203
PLATE プレート
1035 1087118035
BRACKET ブラケット
P916C-012
1
N005
N310P916C012
SENSOR センサ
FX-7
1
N010
N310FX7
AMPLIFIER FOR SENSOR アンプユニット
M2X4,STEEL,P.C
2
N011
XXE2C4FP
HEX. SOCKET SET SCREW ロッカクアナツキトメネジ
FT-SFM2SV2
1
N012
N310FTSF-054
OPTICAL FIBER CABLE UNIT ファイバユニット
P916
1
N016
N310P916
AMPLIFIER FOR SENSOR アンプユニット
211C-0.89
1
N018
N972211C0.89
WRENCH レンチ
M-3ALU-4
1
N019
N431M3ALU4
FITTING ツギテ
KQ2U06-00
1
N020
N431KQ2U0600
FITTING ツギテ
KQ2R04-06
1
N021
N431KQ2R0406
FITTING ツギテ
M110
F10871-18-000-AJ_01-1

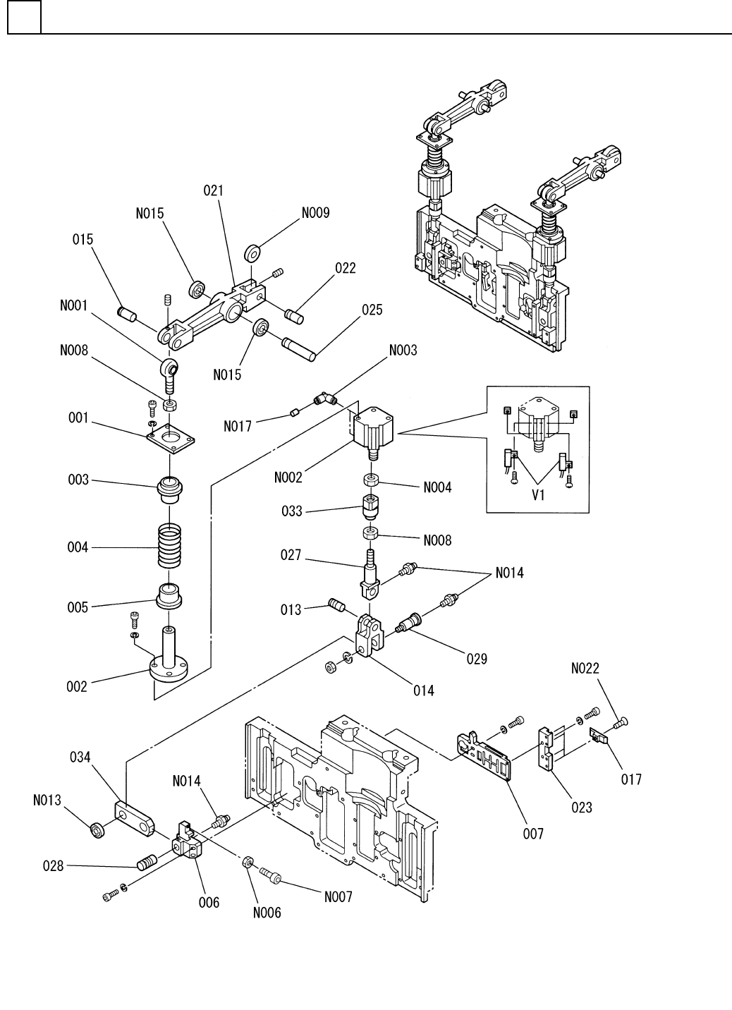
テ-プカッタ部(2)
TAPE CUTTER SECT.(2)
11
F10871-18-000-AJ_01-2
M111