Parts List (Mechanical Parts) - 第137页
スクラップダクト部 SCRAP DUCT SECT. 14 F10871-25-000_01 M119

PART NAME
REMARKS
Q'TY
13
スポットライト表示
SPOT LIGHT INDICATOR
イラスト
No.
REF
No.
PART No.
部 品 品 番 個数 備 考
R
1
R
2
1 1087124100
SPOT LIGHT UNIT スポットライトユニット
1
101 108712410102
BRACKET ブラケット
P937P
1
N 1 N942P937P
LIGHTING UNIT ショウメイユニット
M118
F10871-24-100-AB

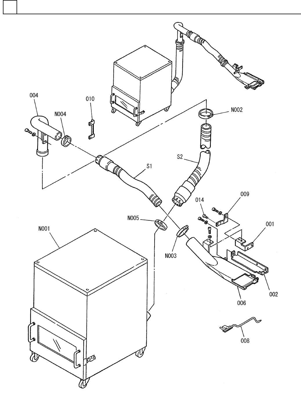
スクラップダクト部
SCRAP DUCT SECT.
14
F10871-25-000_01
M119

PART NAME
REMARKS
Q'TY
14
スクラップダクト部
SCRAP DUCT SECT.
イラスト
No.
REF
No.
PART No.
部 品 品 番 個数 備 考
R
1
R
2
1 1087125000
SCRAP DUCT UNIT スクラップダクトユニット
1
001 1041325015
BRACKET ブラケット
1
002 1083825002
BRACKET ブラケット
1004 104132501901
DUCT ダクト
1006 108382500601
DUCT ダクト
1
008 1083825008
PIPE パイプ
1
009 104132501801
PLATE プレート
1010 1046925010
BRACKET ブラケット
1014 N210064347AA
PIN ピン
513M101-19-03 S
1
N001
N939513M-079
DUST COLLECTOR シュウジンキ
92210-SY65(SUS)
1
N002
N510023057AA
BAND バンド
92210-SY50(SUS)
1
N003
N510023056AA
BAND バンド
TM-144SS-64(5737)
1
N004
N982TM5737
BAND バンド
TM-144SS-75(5738)
1
N005
N982TM5738
BAND バンド
1S 1 10413S0007AA
HOSE SET ホースセット
1S 2 10413S0008AA
HOSE SET ホースセット
M120
F10871-25-000_01