Parts List (Mechanical Parts) - 第146页
PART NAME REMARKS Q'TY 17 プリント基板ストッパ部 P.C.B. STOP PER SECT. イラスト No. REF No. PART No. 部 品 品 番 個数 備 考 R 1 R 2 1 1087105000 P.C.B. STOPP ER UNIT プリントキバンストッパ ユニット 1 1 1041305952 PLATE プレート 1 2 1041305953 PLATE プ…

プリント基板ストッパ部
P.C.B. STOPPER SECT.
17
F10871-05-000_A
M127

PART NAME
REMARKS
Q'TY
17
プリント基板ストッパ部
P.C.B. STOPPER SECT.
イラスト
No.
REF
No.
PART No.
部 品 品 番 個数 備 考
R
1
R
2
1 1087105000
P.C.B. STOPPER UNIT プリントキバンストッパユニット
1
1 1041305952
PLATE プレート
1
2 1041305953
PLATE プレート
13 1046905004
BRACKET ブラケット
CDA12X15
1N 1 N403CDA1215
CYLINDER シリンダ
KQ2L06-M5
2
N 2 N431KQ2L06M5
FITTING ツギテ
M5X10
2
N 3 N986YYYY-114
BOLT ロッカクアナツキサラボルト
M128
F10871-05-000_A

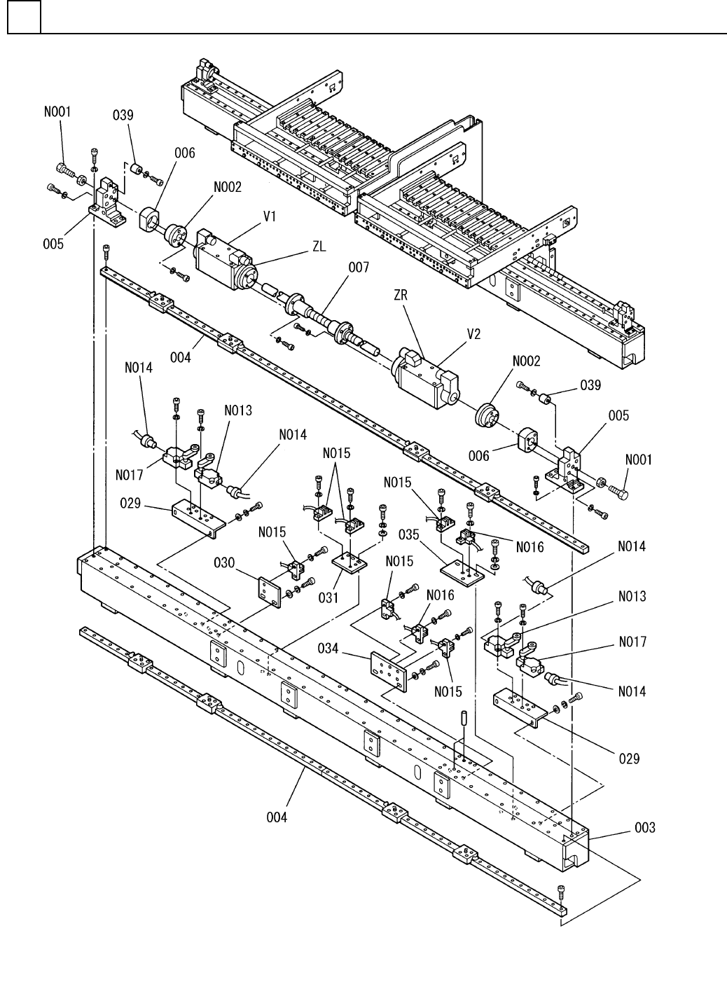
部品供給部(1)
FEEDER CARRIAGE SECT.(1)
18
F10871-07-000-AH_01-1
M129