Parts List (Mechanical Parts) - 第149页
部品供給部 (2) FEEDER CARR IAGE SECT.(2) 18 F10871-07-000-AH_0 1-2 M131

PART NAME
REMARKS
Q'TY
18
部品供給部(1)
FEEDER CARRIAGE SECT.(1)
イラスト
No.
REF
No.
PART No.
部 品 品 番 個数 備 考
R
1
R
2
1 1087107000
SUPPLY UNIT キョウキュウユニット
1
003 104690700310
CROSS BEAM クロスビーム
2
004 1087107004
LINEAR MOTION UNIT リニアモーションユニット
2005 104690700501
BRACKET ブラケット
2006 1046907006
HOLDER ホルダ
1
007 102070700301
BALL SCREW ボールネジ
2
029 108710702901
PLATE プレート
1030 108710703001
PLATE プレート
1031 108710703102
PLATE プレート
1
034 108710703402
PLATE プレート
1035 108710703503
PLATE プレート
2039 1046907046
STOPPER ストッパー
M10X90-12.9 SCHP
2
N001
N510004048AA
HEX. SOCKET HEAD CAP BOLT ロッカクアナツキボルト
SCE201-40X62
2
N002
N645SCE2-022
COUPLING カップリング
AT0-20-1-I/R S
2
N013
N300AT02011R
SWITCH スイッチ
V-M20
4
N014
KXF0DG3AA00
CABLE ケーブル
PANADAC921SA1
6
N015
N310P921SA1
SENSOR センサ
PANADAC921S1
2
N016
N310P921S1
SENSOR センサ
AT0-11-S-I/R S
2
N017
N300AT011S1R
SWITCH スイッチ
MFA250LE4NSJ S
1V 1 308380701902
MOTOR モータ
MFA250LE4NSJ S
1
V 2 308380701202
MOTOR モータ
M130
F10871-07-000-AH_01-1

部品供給部(2)
FEEDER CARRIAGE SECT.(2)
18
F10871-07-000-AH_01-2
M131

PART NAME
REMARKS
Q'TY
18
部品供給部(2)
FEEDER CARRIAGE SECT.(2)
イラスト
No.
REF
No.
PART No.
部 品 品 番 個数 備 考
R
1
R
2
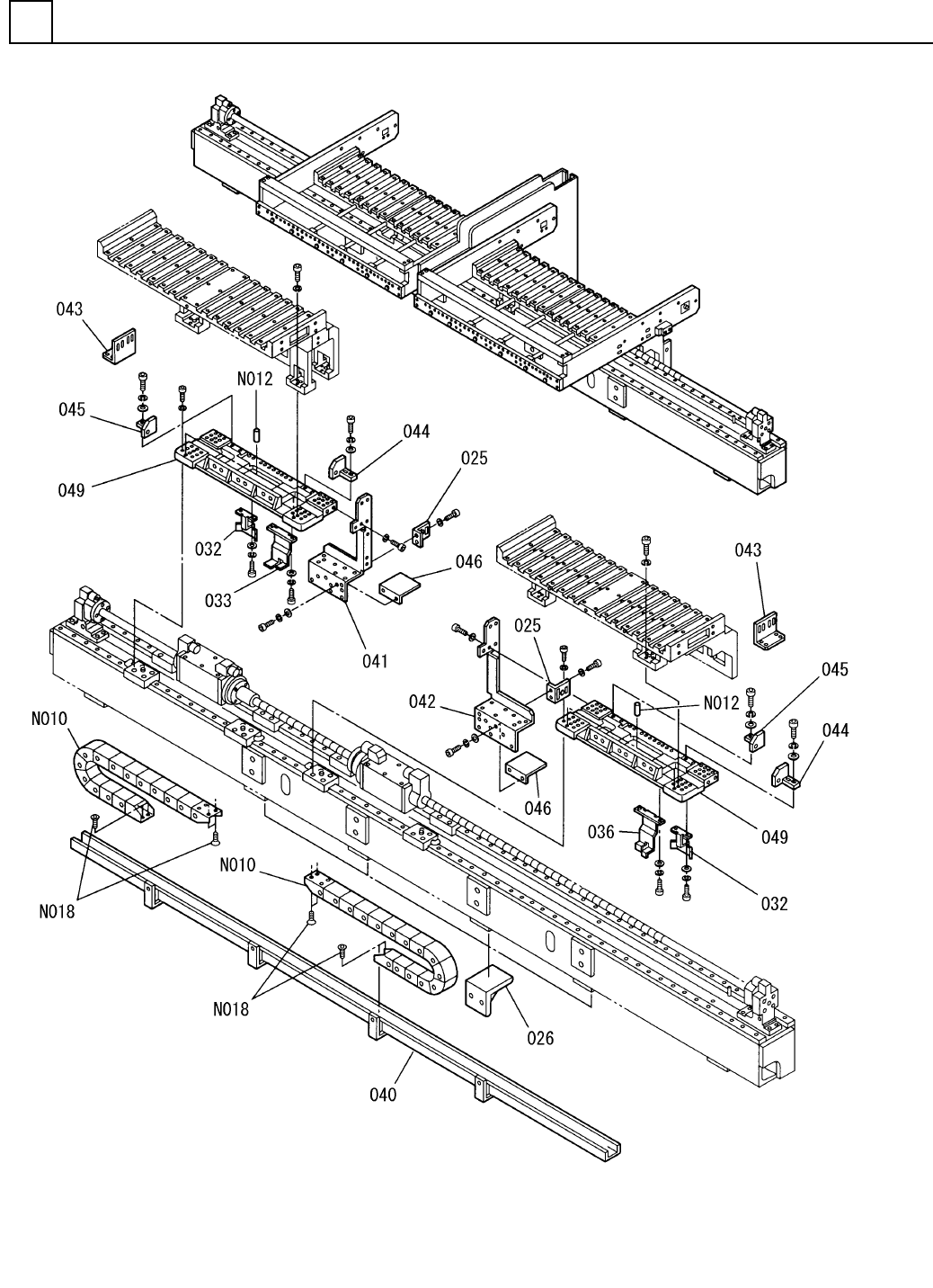
2025 1087107025
BRACKET ブラケット
4
026 104690703104
BRACKET ブラケット
2
032 108710703201
DOG FOR SENSOR ドグ
1033 108710703302
DOG FOR SENSOR ドグ
1036 108710703602
DOG FOR SENSOR ドグ
1
040 104690704701
BRACKET ブラケット
1
041 108710704102
BRACKET ブラケット
1042 108710704202
BRACKET ブラケット
2043 108710704301
BRACKET ブラケット
2
044 104690705201
BRACKET ブラケット
2045 104690705301
BRACKET ブラケット
2046 1046907054
COVER カバー
2
049 104690705703
PLATE プレート
250-03-055-0-32-2030.1
2
N010
N9862500-T61
FLEXIBLE DUCT フレキシブルダクト
5X20,m6A,STEEL
4
N012
XPJ5A20FW
PARALLEL PIN ヘイコウピン
M6X12-10.9 A2J (Trival
8
N018
N510017645AA
BOLT ボルト
M132
F10871-07-000-AH_01-2