Parts List (Mechanical Parts) - 第152页
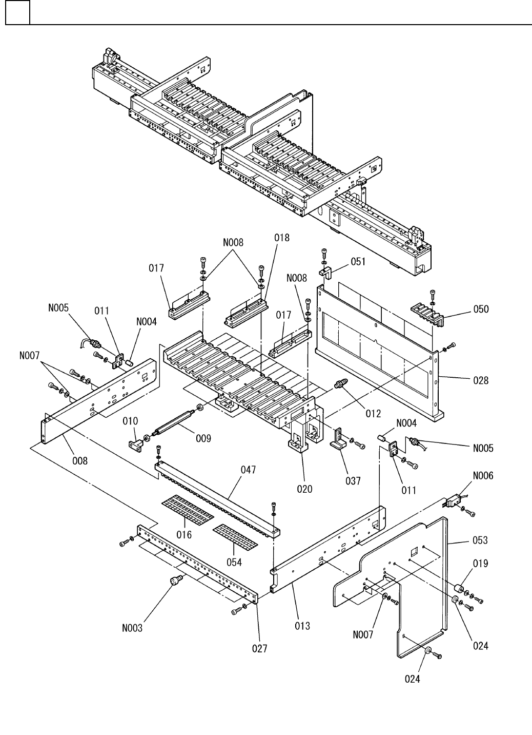
PART NAME REMARKS Q'TY 18 部品供給部 (3) FEEDER CARR IAGE SECT.(3) イラスト No. REF No. PART No. 部 品 品 番 個数 備 考 R 1 R 2 1 008 104690700803 BRACKET ブラケット 3 009 102070708701 ROD ロッド 3 010 104690701001 BRACKET ブラケット 2 011 10…

部品供給部(3)
FEEDER CARRIAGE SECT.(3)
18
F10871-07-000-AH_01-3
M133

PART NAME
REMARKS
Q'TY
18
部品供給部(3)
FEEDER CARRIAGE SECT.(3)
イラスト
No.
REF
No.
PART No.
部 品 品 番 個数 備 考
R
1
R
2
1008 104690700803
BRACKET ブラケット
3
009 102070708701
ROD ロッド
3
010 104690701001
BRACKET ブラケット
2011 1046907012
PLATE プレート
15012 1083807012
PIN ピン
1
013 1087107013
BRACKET ブラケット
1
014 1020707082
LABEL ラベル
1015 102070708301
LABEL ラベル
2017 102070710101
RAIL(GUIDE) レール(ガイド)
14
018 102070710001
RAIL(GUIDE) レール(ガイド)
1022 1083807022
FRAME (R) フレーム(R)
5024 1023871963
COLLAR カラー
1
027 104690703201
PLATE プレート
1
028 104690703405
BRACKET ブラケット
1038 108710703802
DOG FOR SENSOR ドグ
1047 1046907055
BLOCK ブロック
5
050 1046907060
GUIDE ガイド
1
051 1046907061
BRACKET ブラケット
1052 108710705201
PLATE(L) プレート(L)
CF4-A
6
N003
N531CF4A
CAM FOLLOWER カムフォロア
FP1-A01
1
N004
N310FP1A01
ATTACHMENT アタッチメント
EP1-321
1
N005
N310EP1321
OPTICAL FIBER CABLE UNIT ファイバーユニット
PK7-CR-E1
1
N006
N310PK7CRE1
AMPLIFIER FOR SENSOR アンプユニット
8 10H A2J (Trivalent)
8
N007
N510018482AA
ROUND PLAIN WASHER コガタマルヒラザガネ
5 10H A2J (Trivalent)
48
N008
N510018480AA
ROUND PLAIN WASHER コガタマルヒラザガネ
V-M20
1
N014
KXF0DG3AA00
CABLE ケーブル
AT0-11-S-I/R S
1
N017
N300AT011S1R
SWITCH スイッチ
M134
F10871-07-000-AH_01-3

部品供給部(4)
FEEDER CARRIAGE SECT.(4)
18
F10871-07-000-AH_01-4
M135