Parts List (Mechanical Parts) - 第157页
部品供給部 (2) FEEDER CARR IAGE SECT.(2) 18 F10871-07-100_01-2 M139

PART NAME
REMARKS
Q'TY
18
部品供給部(1)
FEEDER CARRIAGE SECT.(1)
イラスト
No.
REF
No.
PART No.
部 品 品 番 個数 備 考
R
1
R
2
1 1087107100
SUPPLY UNIT キョウキュウユニット
1
103 1087107103
CROSS BEAM クロスビーム
2
104 1087107104
LINEAR MOTION UNIT リニアモーションユニット
1105 104690700501
BRACKET ブラケット
2106 1046907006
HOLDER ホルダ
1
107 1087107107
BALL SCREW ボールネジ
2
123 108710702901
PLATE プレート
1124 108710703001
PLATE プレート
1126 108710703503
PLATE プレート
2
128 1046907046
STOPPER ストッパー
1140 1087107140
BRACKET ブラケット
M10X90-12.9 SCHP
1
N001
N510004048AA
HEX. SOCKET HEAD CAP BOLT ロッカクアナツキボルト
SCE201-40X62
2
N002
N645SCE2-022
COUPLING カップリング
AT0-20-1-I/R S
1
N012
N300AT02011R
SWITCH スイッチ
V-M20
3
N013
KXF0DG3AA00
CABLE ケーブル
PANADAC921SA1
2
N014
N310P921SA1
SENSOR センサ
PANADAC921S1
1
N015
N310P921S1
SENSOR センサ
AT0-11-S-I/R S
2
N016
N300AT011S1R
SWITCH スイッチ
MFA250LE4NSJ S
1V 1 308380701202
MOTOR モータ
M138
F10871-07-100_01-1

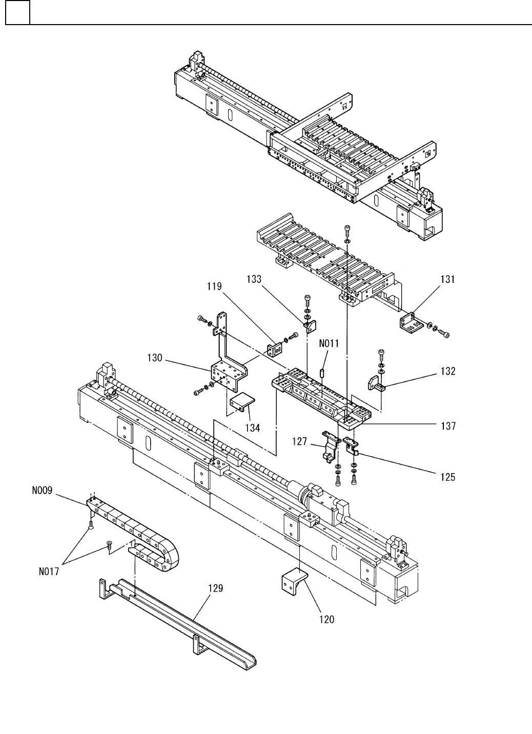
部品供給部(2)
FEEDER CARRIAGE SECT.(2)
18
F10871-07-100_01-2
M139

PART NAME
REMARKS
Q'TY
18
部品供給部(2)
FEEDER CARRIAGE SECT.(2)
イラスト
No.
REF
No.
PART No.
部 品 品 番 個数 備 考
R
1
R
2
1119 1087107025
BRACKET ブラケット
4
120 104690703104
BRACKET ブラケット
1
125 108710703201
DOG FOR SENSOR ドグ
1127 108710703602
DOG FOR SENSOR ドグ
1129 1087107129
BRACKET ブラケット
1
130 108710704202
BRACKET ブラケット
1
131 108710704301
BRACKET ブラケット
1132 104690705201
BRACKET ブラケット
1133 104690705301
BRACKET ブラケット
1
134 1046907054
COVER カバー
1137 104690705703
PLATE プレート
250-03-055-0-32-2030.1
1
N009
N9862500-T61
FLEXIBLE DUCT フレキシブルダクト
5X20,m6A,STEEL
2
N011
XPJ5A20FW
PARALLEL PIN ヘイコウピン
M6X12-10.9 A2J (Trival
4
N017
N510017645AA
BOLT ボルト
M140
F10871-07-100_01-2