Parts List (Mechanical Parts) - 第160页
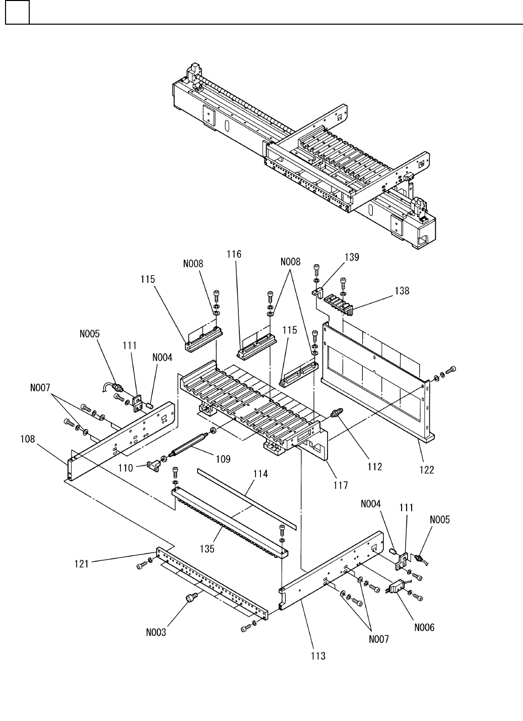
PART NAME REMARKS Q'TY 18 部品供給部 (3) FEEDER CARR IAGE SECT.(3) イラスト No. REF No. PART No. 部 品 品 番 個数 備 考 R 1 R 2 1 108 104690700803 BRACKET ブラケット 3 109 102070708701 ROD ロッド 3 110 104690701001 BRACKET ブラケット 2 111 10…

部品供給部(3)
FEEDER CARRIAGE SECT.(3)
18
F10871-07-100_01-3
M141

PART NAME
REMARKS
Q'TY
18
部品供給部(3)
FEEDER CARRIAGE SECT.(3)
イラスト
No.
REF
No.
PART No.
部 品 品 番 個数 備 考
R
1
R
2
1108 104690700803
BRACKET ブラケット
3
109 102070708701
ROD ロッド
3
110 104690701001
BRACKET ブラケット
2111 1046907012
PLATE プレート
15112 1083807012
PIN ピン
1
113 1087107013
BRACKET ブラケット
1
114 1020707084
LABEL ラベル
2115 102070710101
RAIL(GUIDE) レール(ガイド)
14116 102070710001
RAIL(GUIDE) レール(ガイド)
1
117 1083807022
FRAME (R) フレーム(R)
1121 104690703201
PLATE プレート
1122 104690703405
BRACKET ブラケット
1
135 1046907055
BLOCK ブロック
5
138 1046907060
GUIDE ガイド
1139 1046907061
BRACKET ブラケット
CF4-A
6
N003
N531CF4A
CAM FOLLOWER カムフォロア
FP1-A01
1
N004
N310FP1A01
ATTACHMENT アタッチメント
EP1-321
1
N005
N310EP1321
OPTICAL FIBER CABLE UNIT ファイバーユニット
PK7-CR-E1
1
N006
N310PK7CRE1
AMPLIFIER FOR SENSOR アンプユニット
8 10H A2J (Trivalent)
8
N007
N510018482AA
ROUND PLAIN WASHER コガタマルヒラザガネ
5 10H A2J (Trivalent)
48
N008
N510018480AA
ROUND PLAIN WASHER コガタマルヒラザガネ
M142
F10871-07-100_01-3

アジャストボルト部
ADJUST BOLT SECT.
19
F10438-89-510-AA_B
M143