Parts List (Mechanical Parts) - 第192页
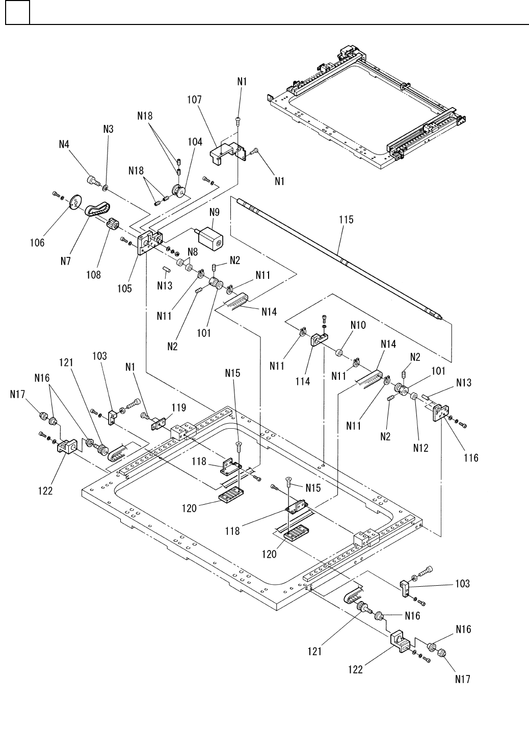
PART NAME REMARKS Q'TY 22 X-Yテーブル部(自動幅寄せ部1) X-Y TABLE S ECT.(AUTO WIDTH CO NTROL SECT.-1) イラスト No. REF No. PART No. 部 品 品 番 個数 備 考 R 1 R 2 1 1087104100 AUTO WIDTH C ONTROL UNIT ジドウハバヨセユニット 2 101 108710410102 PUL…

X-Yテーブル部(自動幅寄せ部1)
X-Y TABLE SECT.(AUTO WIDTH CONTROL SECT.-1)
22
F10871-04-100-AD_A-1
M173

PART NAME
REMARKS
Q'TY
22
X-Yテーブル部(自動幅寄せ部1)
X-Y TABLE SECT.(AUTO WIDTH CONTROL SECT.-1)
イラスト
No.
REF
No.
PART No.
部 品 品 番 個数 備 考
R
1
R
2
1 1087104100
AUTO WIDTH CONTROL UNIT ジドウハバヨセユニット
2
101 108710410102
PULLEY プーリー
2
103 108710410302
BRACKET ブラケット
1104 108710410403
PULLEY プーリー
1105 108710410502
BRACKET(MOTOR) ブラケット(モータ)
1
106 108710410602
DOG FOR SENSOR センサドグ
1
107 108710410703
COVER(MOTOR) カバー(モータ)
1108 108710410802
PULLEY プーリー
1114 1087104114
BRACKET ブラケット
1
115 108710411501
SHAFT シャフト
1116 1087104116
BRACKET ブラケット
2118 108710411802
BRACKET ブラケット
1
119 108710411902
DOG FOR SENSOR センサドグ
2
120 108710412002
BRACKET ブラケット
2121 108710412102
PULLEY プーリー
2122 108710412202
BRACKET ブラケット
M3X6,+,STEEL,Z.C.T
5
N 1 XST3+6FY
TRUSS HEAD SCREW トラスコネジ
M3X5,STEEL,P.C
4
N 2 XXE3C5FP
HEX. SOCKET SET SCREW ロッカクアナツキトメネジ
WSSB10-6-3
1N 3 N986WSSB1063
WASHER ザガネ
CF6A
1N 4 N531CF6A
CAM FOLLOWER カムフォロア
196-2GT-9
1
N 7 N6411962GT9
BELT ベルト
F688AZZ1
2
N 8 XLCNF688AZZ1
BEARING ベアリング
PK243A1-SG18
1N 9 N606PK24-265
STEPPING MOTOR ステッピング モータ
688AZZ1
1N10 XLCN688AZZ1
BEARING ベアリング
STW-8
5
N11 KXF04D1AA00
RETAINING RING C-TYPE,SHAFT C ガタジクヨウトメワ
606ZZ
1N12 KXF00KFAA00
BALL BEARING ボールベアリング
3X8,m6A,STEEL
4N13 XPJ3A8FW
PARALLEL PIN ヘイコウピン
994-2GT-9
2
N14 N6419942GT9
BELT(TIMING) ベルト(タイミング)
M3X8,+,STEEL,Z.C.T
8
N15 XSS3+8FY
FLUSH HEAD SCREW サラコネジ
F605ZZ
4N16 XLCNF605ZZ
BALL BEARING ボールベアリング
M5,2-TYPE,STAINLESS,ST
2N17 XNGNU5YFZ
LOCK-NUT ロックナット
M3X4,STEEL,P.C
4
N18 XXE3C4FP
HEX. SOCKET SET SCREW ロッカクアナツキトメネジ
M174
F10871-04-100-AD_A-1

X-Yテーブル部(自動幅寄せ部2)
X-Y TABLE SECT.(AUTO WIDTH CONTROL SECT.-2)
22
F10871-04-100-AD_A-2
M175