Parts List (Mechanical Parts) - 第227页
ローダ・アンローダ 部(ローダカバー部) LOADER & UN LOADER SECT.(LOADE R COVER SECT.) 23 F10871-05-860 M209

PART NAME
REMARKS
Q'TY
23
ローダ・アンローダ部(ローダカバー部)
LOADER & UNLOADER SECT.(LOADER COVER SECT.)
イラスト
No.
REF
No.
PART No.
部 品 品 番 個数 備 考
R
1
R
2
1 1087105840
LOADER COVER UNIT ローダカバーユニット
W=53
1
841 1087105841
COVER カバー
M4X8,+,STEEL,Z.C.T
9
N 1 XST4+8FY
TRUSS HEAD SCREW トラスコネジ
4,B-TYPE,STEEL,Z.C.T
9N 2 XWC4BFY
TOOTHED LOCK WASHER ハツキザガネ
M208
F10871-05-840_A

ローダ・アンローダ部(ローダカバー部)
LOADER & UNLOADER SECT.(LOADER COVER SECT.)
23
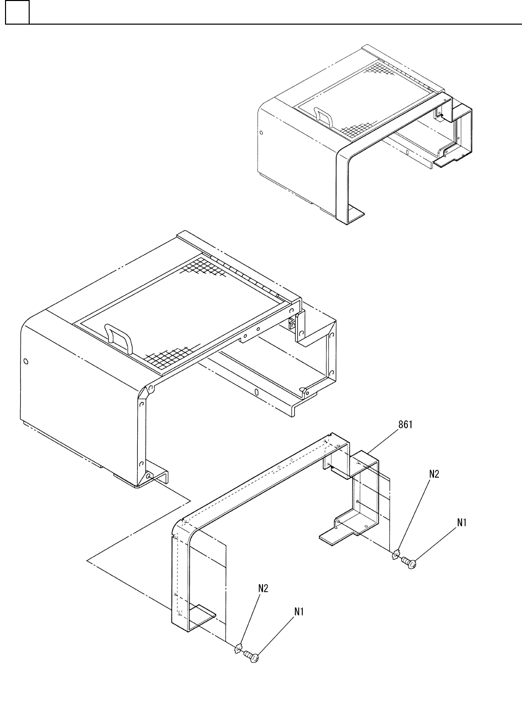
F10871-05-860
M209

PART NAME
REMARKS
Q'TY
23
ローダ・アンローダ部(ローダカバー部)
LOADER & UNLOADER SECT.(LOADER COVER SECT.)
イラスト
No.
REF
No.
PART No.
部 品 品 番 個数 備 考
R
1
R
2
1 1087105860
LOADER COVER UNIT ローダカバーユニット
1
861 1087105861
COVER カバー
M4X8,+,STEEL,Z.C.T
9
N 1 XST4+8FY
TRUSS HEAD SCREW トラスコネジ
4,B-TYPE,STEEL,Z.C.T
9N 2 XWC4BFY
TOOTHED LOCK WASHER ハツキザガネ
M210
F10871-05-860