Parts List (Mechanical Parts) - 第237页
ローダ・アンローダ 部(アンローダカバー部) LOADER & UN LOADER SECT.(UNLOA DER COVER SECT.) 23 F10871-05-960 M219

PART NAME
REMARKS
Q'TY
23
ローダ・アンローダ部(アンローダカバー部)
LOADER & UNLOADER SECT.(UNLOADER COVER SECT.)
イラスト
No.
REF
No.
PART No.
部 品 品 番 個数 備 考
R
1
R
2
1 1087105890
UNLOADER COVER UNIT アンローダカバーユニット
W=61
1
891 1087105891
COVER カバー
M4X8,+,STEEL,Z.C.T
9
N 1 XST4+8FY
TRUSS HEAD SCREW トラスコネジ
4,B-TYPE,STEEL,Z.C.T
9N 2 XWC4BFY
TOOTHED LOCK WASHER ハツキザガネ
M218
F10871-05-890

ローダ・アンローダ部(アンローダカバー部)
LOADER & UNLOADER SECT.(UNLOADER COVER SECT.)
23
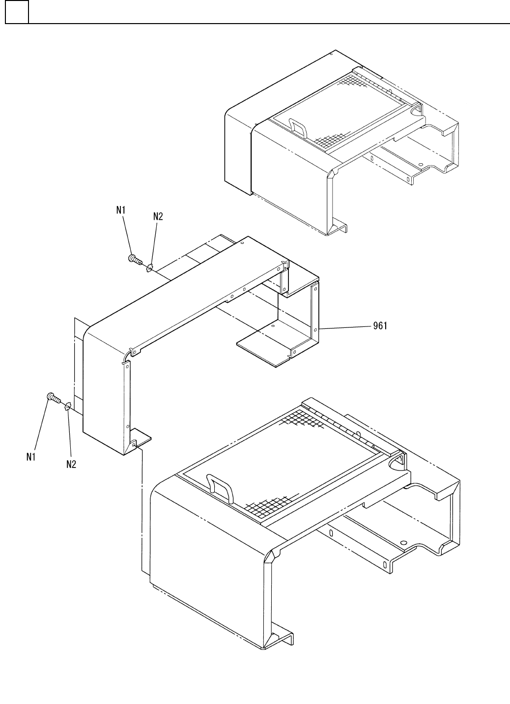
F10871-05-960
M219

PART NAME
REMARKS
Q'TY
23
ローダ・アンローダ部(アンローダカバー部)
LOADER & UNLOADER SECT.(UNLOADER COVER SECT.)
イラスト
No.
REF
No.
PART No.
部 品 品 番 個数 備 考
R
1
R
2
1 1087105960
UNLOADER COVER UNIT アンローダカバーユニット
W=138
1
961 1087105961
COVER カバー
M4X8,+,STEEL,Z.C.T
9
N 1 XST4+8FY
TRUSS HEAD SCREW トラスコネジ
4,B-TYPE,STEEL,Z.C.T
9N 2 XWC4BFY
TOOTHED LOCK WASHER ハツキザガネ
M220
F10871-05-960