Parts List (Mechanical Parts) - 第25页
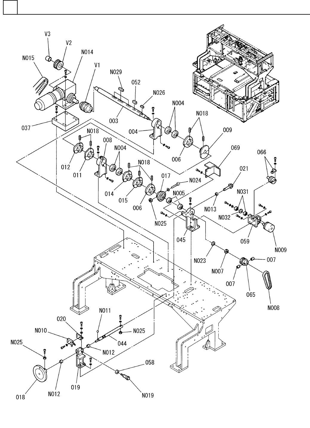
本体部(4) MAIN BODY S ECT.(4) 1 F10871-01-000-AJ_0 1-4 M7

PART NAME
REMARKS
Q'TY
1
本体部(3)
MAIN BODY SECT.(3)
イラスト
No.
REF
No.
PART No.
部 品 品 番 個数 備 考
R
1
R
2
1002 1010422054
COTTER コッタ
1
022 104130103101
PULLEY プーリー
1
023 102460801001
COLLAR カラー
1026 104130103902
PIN ピン
1027 104130104001
BRACKET ブラケット
1
028 1041301041
PULLEY プーリー
1
029 104130104203
SHAFT シャフト
1035 104130105201
COLLAR カラー
1046 1087101046
BRACKET ブラケット
1
070 108710107004
BRACKET ブラケット
1071 1999551800
TERMINAL ターミナル
1072 108710107201
BRACKET ブラケット
SFS-10G-T083MM
1
N001
N644SFS1-062
COUPLING カップリング
M6X10-45H A2J (Trivale
1
N002
N510018447AA
HEX. SOCKET SET SCREW ロッカクアナツキトメネジ
6206ZZ
4
N003
XLC6206ZZ
BALL BEARING ボールベアリング
6904ZZ
2
N016
XLC6904ZZ
BALL BEARING ボールベアリング
8X7X63,STEEL,PARALLEL,
1
N017
XPA8K7F63
SUNK KEY シズミキー
SRW20
1
N027
N560SRW20
WASHER ザガネ
SN0046
2
N028
N972SN0046
SPANNER スパナ
M6
F10871-01-000-AJ_01-3

本体部(4)
MAIN BODY SECT.(4)
1
F10871-01-000-AJ_01-4
M7

PART NAME
REMARKS
Q'TY
1
本体部(4)
MAIN BODY SECT.(4)
イラスト
No.
REF
No.
PART No.
部 品 品 番 個数 備 考
R
1
R
2
1003 108710100302
SHAFT シャフト
1
004 108710100401
BRACKET ブラケット
2
006 108710100604
CAM カム
1007 104131201402
COTTER コッタ
1008 108710100802
BRACKET ブラケット
1
009 108710100904
CAM(PLATE) カム(イタ)
1
011 108710101104
CAM カム
1012 108710101204
CAM カム
1014 108710101405
CAM カム
1
015 108710101505
CAM カム
1017 104130102002
GEAR ギヤー
1018 108710101801
HANDLE ハンドル
1
019 1087101019
BRACKET ブラケット
1
020 1017921066
BRACKET ブラケット
1021 104130103001
GEAR ギヤー
1037 108710103702
SPACER スペーサ
1
044 1087101044
SHAFT シャフト
1
045 108710104502
BRACKET ブラケット
1052 1041301080
KEY キー
1058 1046901062
COLLAR カラー
1
059 108710105901
BRACKET ブラケット
1
065 108710106502
PULLEY プーリー
1066 108710106603
PULLEY プーリー
1069 108710106902
COVER カバー
6207ZZ
4
N004
XLC6207ZZ
BALL BEARING ボールベアリング
6304ZZ
2
N005
XLC6304ZZ
BALL BEARING ボールベアリング
FU04SC
1
N007
KXF0237AA00
LOCK-NUT ロックナット
327-3GT-9
1
N008
N6413273GT9
BELT(TIMING) ベルト(タイミング)
E6F-AB3C
1
N009
N656E6FAB3C
ENCODER エンコーダ
AZ7100 S
1
N010
N300AZ7100
SWITCH スイッチ
D6
1
N011
N506D6
STEEL BALL コウキュウ
K5B1615
2
N012
N510022575AA
BUSHING ブッシュ
K5B1215
1
N013
N510022572AA
BUSHING ブッシュ
MSW-08-K18-E-C-N S
1
N014
N609MSW0-097
MOTOR UNIT モータクドウユニット
2328-8YU-40
1
N015
N6412328-796
BELT(TIMING) ベルト(タイミング)
M8X10-45H A2J (Trivale
7
N018
N510018455AA
SET SCREW ロッカクアナツキトメネジ
NDX10
1
N019
N984NDX10
PLUNGER プランジャー
20 10H A2J (Trivalent)
1
N023
N510018487AA
WASHER ザガネ
M6X55-10.9 A2J (Trival
1
N024
N510017449AA
HEX. SOCKET HEAD CAP BOLT ロッカクアナツキボルト
M-6H-10T A2J (Trivalen
3
N025
N510017870AA
HEXAGON NUT ロッカクナット
6X6X18,PARALLEL,B.S.R
1
N026
XPA6L6F18
SUNK KEY シズミキー
8X7X63,STEEL,PARALLEL,
3
N029
XPA8L7F63
SUNK KEY シズミキー
6900ZZ
2
N031
KXF00MJAA00
BEARING ベアリング
CIMRB10-14-0.05
1
N032
N986C1MR-T56
RING リング
SFS-10W-30M-35M
1V 1 N644SFS1-130
COUPLING カップリング
GA-MEG-G119
1V 2 N510008678AA
PULLEY プーリー
MA-35
1
V 3 N510008839AA
BUSHING ブッシング
M8
F10871-01-000-AJ_01-4