Parts List (Mechanical Parts) - 第252页
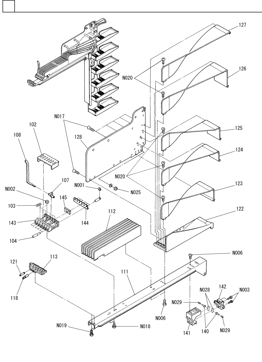
PART NAME REMARKS Q'TY 25 カートリッジ部<52mm> CARTRIDGE S ECT.<52mm> イラスト No. REF No. PART No. 部 品 品 番 個数 備 考 R 1 R 2 1 1020730000 CARTRIDGE UN IT カートリッジユニット 1 001 102073000108 TAPE GUIDE テープガイド 1 002 102…

カートリッジ部<52mm>
CARTRIDGE SECT.<52mm>
25
F10207-30-000-AG_01
M233

PART NAME
REMARKS
Q'TY
25
カートリッジ部<52mm>
CARTRIDGE SECT.<52mm>
イラスト
No.
REF
No.
PART No.
部 品 品 番 個数 備 考
R
1
R
2
1 1020730000
CARTRIDGE UNIT カートリッジユニット
1
001 102073000108
TAPE GUIDE テープガイド
1
002 1020729002
COVER(GUIDE) カバー(ガイド)
4003 1020729003
SPRING バネ
4004 1020729004
ROD ロッド
1
005 1020729005
PLATE プレート
1
007 1020729007
CAM カム
1008 102072900802
LEVER(CAM) レバー(カム)
1011 102072901102
RAIL レール
1
013 1020729013
GUIDE ガイド
1014 102072901402
PACK STAND パックスタンド
4015 1020730015
BASKET バスケット
3
016 1020729016
PLATE プレート
1
017 102072901701
HANDLE ハンドル
1018 1020729018
SHAFT(INSERT) シャフト(インサート)
3019 1020730019
COLLAR カラー
1
020 1020729001
PLATE(GUIDE) プレート(ガイド)
1
021 1020729021
SHAFT(INSERT) シャフト(インサート)
1028 1020730028
PLATE プレート
2029 1046930140
HOLDER(PIN) ホルダ(ピン)
1
030 1046930141
CORE コア
1
031 1046930142
CORE コア
111201-11040
4
N001
XUC4VM
RETAINING RING E-TYPE E ガタトメワ
SB-4005
2
N002
N986SB4005
BIT INSERT ビットインサート
3X12,+,STEEL,C.P
4
N003
XTB3+12GFC
BINDING HEAD TAPPING SCREW バインドタッピンネジ
4X16 A2J (Trivalent)
4
N008
N510018732AA
BINDING HEAD TAPPING SCREW バインドタップタイトネジ
C-30-BW-12-2
1
N010
N980C30BW122
GROMMET グロメット
M3X50-4.8 A2S (Trivale
3
N011
N510018054AA
PAN HEAD SCREW ナベコネジ
3X3
3
N013
N986YYYY-437
SPACER スペーサ
3 10H A2S (Trivalent)
6
N014
N510018495AA
ROUND PLAIN WASHER ミガキマルヒラザガネ
M3-6H-4T A2S (Trivalen
3
N015
N510017850AA
HEXAGON NUT ロッカクナット
M4X10,+,STEEL,T.T.C
2
N016
XSB4+10FT
BINDING HEAD SCREW バインドコネジ
5X20,+,STEEL,T.T.C
2
N017
XTS5+20GFT
FLUSH HEAD TAPPING SCREW サラタッピンネジ
M4X5,+,STEEL,T.T.C
4
N019
XST4+5FT
TRUSS HEAD SCREW トラスコネジ
4X20,+,STEEL,T.T.C
8
N020
XTS4+20GFT
FLUSH HEAD TAPPING SCREW サラタッピンネジ
M4X7,+,STEEL,Z.C.T
2
N021
XSB4+7FY
BINDING HEAD SCREW バインドコネジ
M4X8,+,STEEL,T.T.C
1
N022
XSS4+8FT
FLUSH HEAD SCREW サラコネジ
M4-6H-4T A2S (Trivalen
1
N023
N510017856AA
HEXAGON NUT ロッカクナット
4X10 A2S (Trivalent)
1
N024
N510018753AA
FLUSH HEAD TAPPING SCREW サラタッピンネジ
MS5-15
2
N025
N986MS515
PARALLEL PIN ヘイコウピン
DC575
2
N026
N986DC575
SPRING バネ
M234
F10207-30-000-AG_01

カートリッジ部<52mm,N80X6>
CARTRIDGE SECT.<52mm,N80X6>
25
F10469-30-100-AJ_01-1
M235