Parts List (Mechanical Parts) - 第255页
カートリッジ部<52mm, N80X6> CARTRIDGE S ECT.<52mm,N80X 6> 25 F10469-30-100-AJ_0 1-2 M237

PART NAME
REMARKS
Q'TY
25
カートリッジ部<52mm,N80X6>
CARTRIDGE SECT.<52mm,N80X6>
イラスト
No.
REF
No.
PART No.
部 品 品 番 個数 備 考
R
1
R
2
1 1046930100
CARTRIDGE UNIT カートリッジユニット
1
102 1046930102
COVER(GUIDE) カバー(ガイド)
6
103 1020729003
SPRING バネ
6104 1020729004
ROD ロッド
1107 1020729007
CAM カム
1
108 1046930108
LEVER(CAM) レバー(カム)
1
111 104693011103
RAIL レール
1112 104693011201
PLATE(GUIDE) プレート(ガイド)
1113 1046930113
GUIDE ガイド
1
118 1020729018
SHAFT(INSERT) シャフト(インサート)
1121 1020729021
SHAFT(INSERT) シャフト(インサート)
1122 104693012202
TWIST TAPE GUIDE ツイストテープガイド
1
123 104693012301
TWIST TAPE GUIDE ツイストテープガイド
1
124 104693012401
TWIST TAPE GUIDE ツイストテープガイド
1125 104693012501
TWIST TAPE GUIDE ツイストテープガイド
1126 104693012601
TWIST TAPE GUIDE ツイストテープガイド
1
127 104693012701
TWIST TAPE GUIDE ツイストテープガイド
1
128 104693012803
PLATE(TAPE GUIDE) プレート(テープガイド)
2140 1046930140
HOLDER(PIN) ホルダ(ピン)
1141 1046930141
CORE コア
1
142 1046930142
CORE コア
1
143 1046930143
GUIDE PLATE ガイドプレート
1144 1046930144
PLATE プレート
1145 1046930145
PLATE プレート
111201-11040
6
N001
XUC4VM
RETAINING RING E-TYPE E ガタトメワ
SB-4005
2
N002
N986SB4005
BIT INSERT ビットインサート
3X12,+,STEEL,C.P
4
N003
XTB3+12GFC
BINDING HEAD TAPPING SCREW バインドタッピンネジ
4X16 A2J (Trivalent)
9
N006
N510018732AA
BINDING HEAD TAPPING SCREW バインドタップタイトネジ
4X16 A2S (Trivarent)
14
N017
N510018754AA
FLUSH HEAD TAPPING SCREW サラタッピンネジ
M4X10-4.8 A2J (Trivale
2
N018
N510017941AA
BINDING HEAD SCREW バインドコネジ
M4X7,+,STEEL,Z.C.T
2
N019
XSB4+7FY
BINDING HEAD SCREW バインドコネジ
4X10 A2S (Trivalent)
5
N020
N510018744AA
PAN HEAD TAPPING SCREW ナベタップタイトネジ
M4-6H-4T A2J (Trivalen
1
N025
N510017855AA
NUT ナット
MS5-15
2
N028
N986MS515
PARALLEL PIN ヘイコウピン
DC575
2
N029
N986DC575
SPRING バネ
M236
F10469-30-100-AJ_01-1

カートリッジ部<52mm,N80X6>
CARTRIDGE SECT.<52mm,N80X6>
25
F10469-30-100-AJ_01-2
M237

PART NAME
REMARKS
Q'TY
25
カートリッジ部<52mm,N80X6>
CARTRIDGE SECT.<52mm,N80X6>
イラスト
No.
REF
No.
PART No.
部 品 品 番 個数 備 考
R
1
R
2
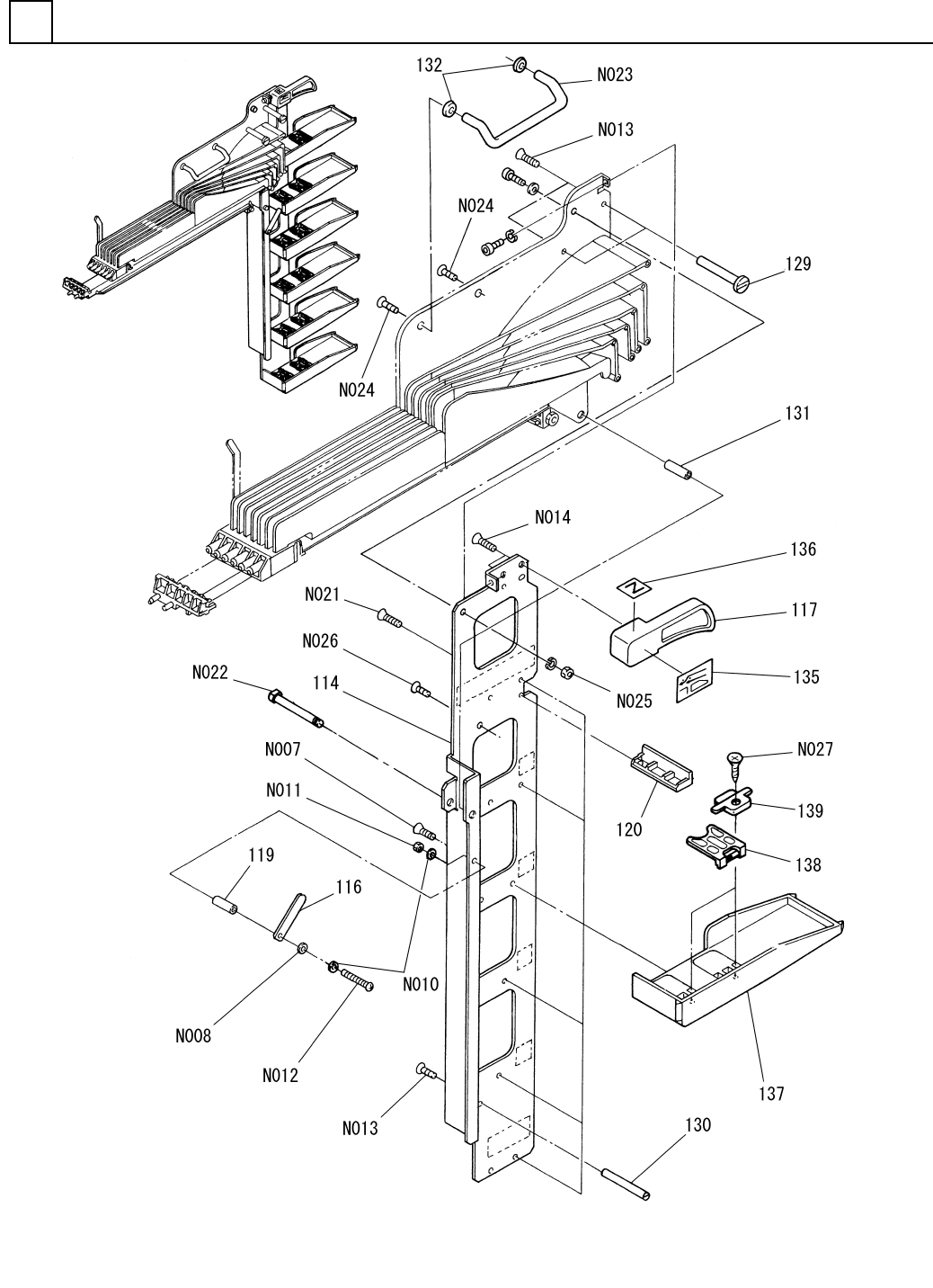
1114 104693011407
PACK STAND パックスタンド
1
116 1046930116
PLATE プレート
1
117 102072901701
HANDLE ハンドル
1119 1020730119
COLLAR カラー
1120 1020730028
PLATE プレート
2
129 104693012902
TAPE GUIDE テープガイド
1
130 104693013002
TAPE GUIDE テープガイド
1131 1046930131
COLLAR カラー
2132 1046930132
WASHER ザガネ
1
135 1046930135
LABEL ラベル
1136 1046930136
LABEL ラベル
6137 104693013701
BASKET バスケット
12
138 104693013801
PIN ピン
12
139 1046930139
PLATE プレート
4X25 A2S (Trivalent)
12
N007
N510018756AA
FLUSH HEAD TAPPING SCREW サラタッピンネジ
3X3
1
N008
N986YYYY-437
SPACER スペーサ
M5,1-TYPE,STEEL,Z.C.T
2
N010
N510018945AA
HEXAGON NUT ロッカクナット
M3-6H-4T A2S (Trivalen
1
N011
N510017850AA
HEXAGON NUT ロッカクナット
M3X40-4.8 A2S (Trivale
1
N012
N510018050AA
PAN HEAD SCREW ナベコネジ
M4X8,+,STEEL,T.T.C
3
N013
XSS4+8FT
FLUSH HEAD SCREW サラコネジ
5X20 A2S (Trivalent)
2
N014
N510018757AA
FLUSH HEAD TAPPING SCREW サラタッピンネジ
4X10 A2S (Trivalent)
1
N021
N510018753AA
FLUSH HEAD TAPPING SCREW サラタッピンネジ
CLBP8-39
1
N022
N986CLBP839
PIN ピン
THA-32-3878
1
N023
N982THA3878
DRAWER PULL トッテ
M5X10,+,STEEL,T.T.C
2
N024
XSS5+10FT
FLUSH HEAD SCREW サラコネジ
M4-6H-4T A2J (Trivalen
1
N025
N510017855AA
NUT ナット
M4X8,+,STEEL,C.P
1
N026
XSS4+8FC
FLUSH HEAD SCREW サラコネジ
3X8 A2S (Trivalent)
12
N027
N510018752AA
FLUSH HEAD TAPPING SCREW サラタッピンネジ
M238
F10469-30-100-AJ_01-2