Parts List (Mechanical Parts) - 第256页
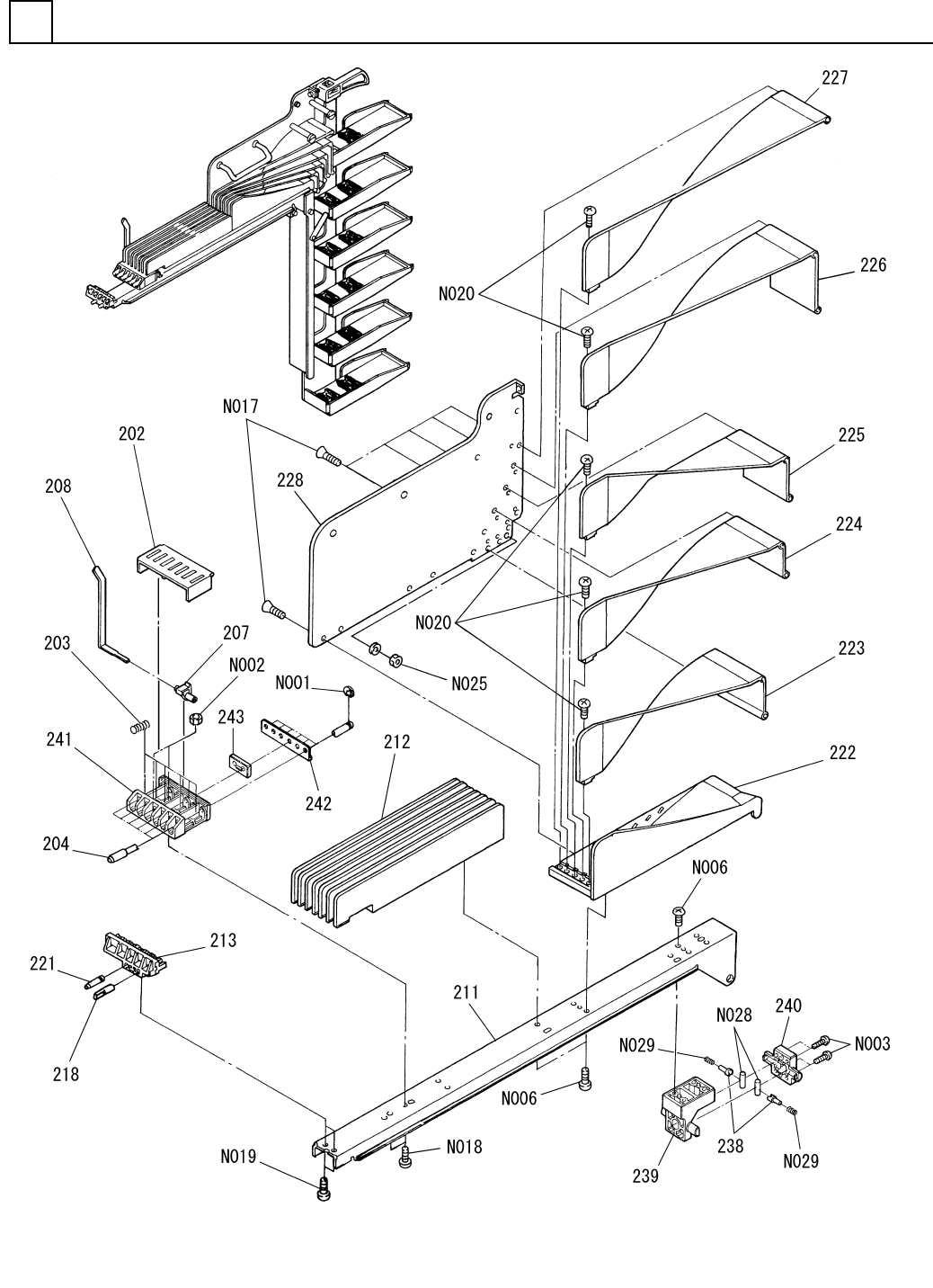
PART NAME REMARKS Q'TY 25 カートリッジ部<52mm, N80X6> CARTRIDGE S ECT.<52mm,N80X 6> イラスト No. REF No. PART No. 部 品 品 番 個数 備 考 R 1 R 2 1 114 104693011407 PACK STAND パックスタンド 1 116 1046930116 PLATE プレート 1 117 1…

カートリッジ部<52mm,N80X6>
CARTRIDGE SECT.<52mm,N80X6>
25
F10469-30-100-AJ_01-2
M237

PART NAME
REMARKS
Q'TY
25
カートリッジ部<52mm,N80X6>
CARTRIDGE SECT.<52mm,N80X6>
イラスト
No.
REF
No.
PART No.
部 品 品 番 個数 備 考
R
1
R
2
1114 104693011407
PACK STAND パックスタンド
1
116 1046930116
PLATE プレート
1
117 102072901701
HANDLE ハンドル
1119 1020730119
COLLAR カラー
1120 1020730028
PLATE プレート
2
129 104693012902
TAPE GUIDE テープガイド
1
130 104693013002
TAPE GUIDE テープガイド
1131 1046930131
COLLAR カラー
2132 1046930132
WASHER ザガネ
1
135 1046930135
LABEL ラベル
1136 1046930136
LABEL ラベル
6137 104693013701
BASKET バスケット
12
138 104693013801
PIN ピン
12
139 1046930139
PLATE プレート
4X25 A2S (Trivalent)
12
N007
N510018756AA
FLUSH HEAD TAPPING SCREW サラタッピンネジ
3X3
1
N008
N986YYYY-437
SPACER スペーサ
M5,1-TYPE,STEEL,Z.C.T
2
N010
N510018945AA
HEXAGON NUT ロッカクナット
M3-6H-4T A2S (Trivalen
1
N011
N510017850AA
HEXAGON NUT ロッカクナット
M3X40-4.8 A2S (Trivale
1
N012
N510018050AA
PAN HEAD SCREW ナベコネジ
M4X8,+,STEEL,T.T.C
3
N013
XSS4+8FT
FLUSH HEAD SCREW サラコネジ
5X20 A2S (Trivalent)
2
N014
N510018757AA
FLUSH HEAD TAPPING SCREW サラタッピンネジ
4X10 A2S (Trivalent)
1
N021
N510018753AA
FLUSH HEAD TAPPING SCREW サラタッピンネジ
CLBP8-39
1
N022
N986CLBP839
PIN ピン
THA-32-3878
1
N023
N982THA3878
DRAWER PULL トッテ
M5X10,+,STEEL,T.T.C
2
N024
XSS5+10FT
FLUSH HEAD SCREW サラコネジ
M4-6H-4T A2J (Trivalen
1
N025
N510017855AA
NUT ナット
M4X8,+,STEEL,C.P
1
N026
XSS4+8FC
FLUSH HEAD SCREW サラコネジ
3X8 A2S (Trivalent)
12
N027
N510018752AA
FLUSH HEAD TAPPING SCREW サラタッピンネジ
M238
F10469-30-100-AJ_01-2

カートリッジ部<52mm,R80X6>
CARTRIDGE SECT.<52mm,R80X6>
25
F10469-30-200-AJ_01-1
M239