Parts List (Mechanical Parts) - 第264页
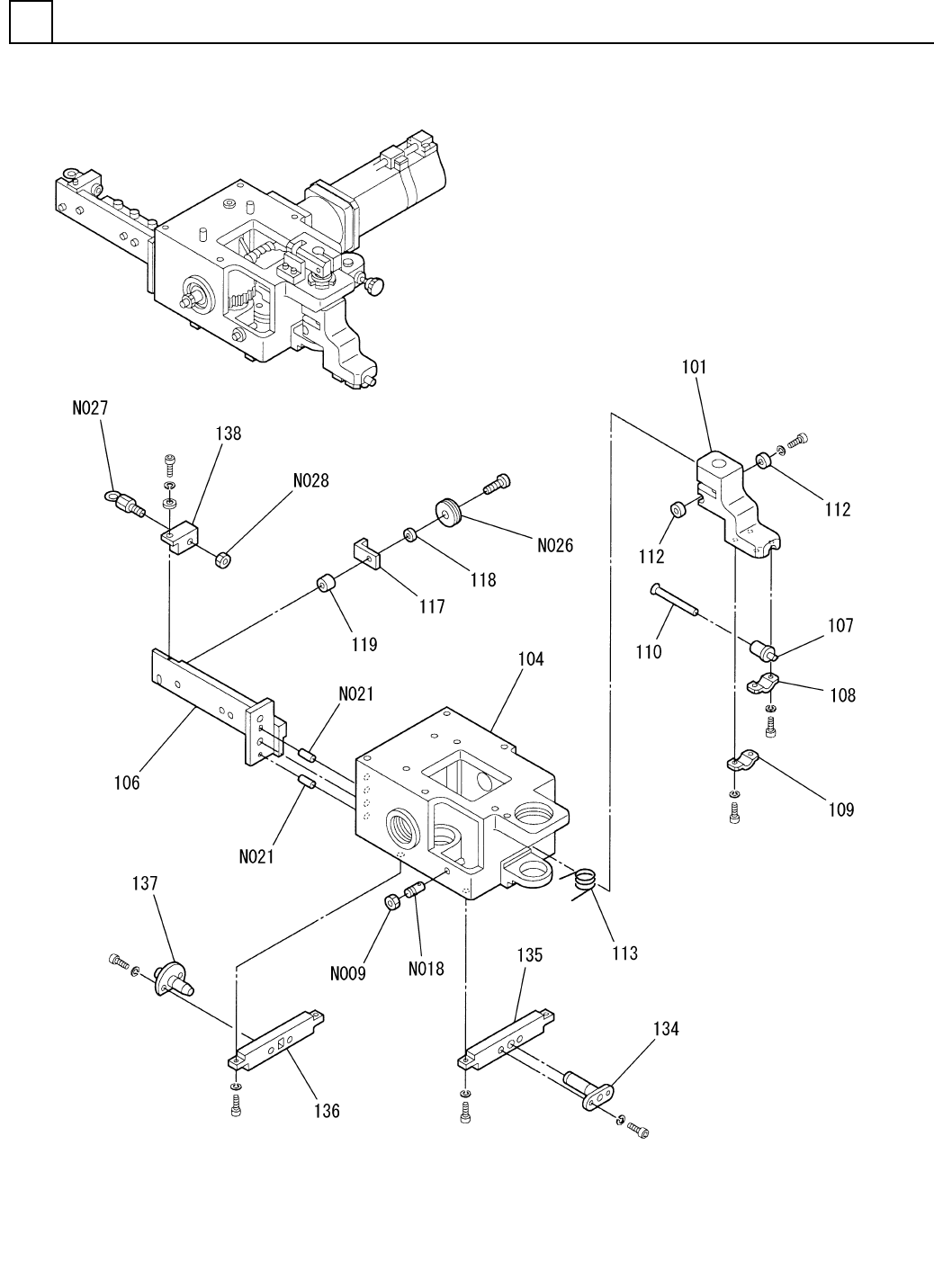
PART NAME REMARKS Q'TY 26 J.W.ヘッド部(1) J.W.HEAD SE CT.(1) イラスト No. REF No. PART No. 部 品 品 番 個数 備 考 R 1 R 2 1 1087120100 J.W. HEAD UN IT J.W. ヘッドユニット 1 101 108382010101 BRACKET ブラケット 1 104 1046920104 FRAME フレーム 1 1…

J.W.ヘッド部(1)
J.W.HEAD SECT.(1)
26
F10871-20-100_01-1
M245

PART NAME
REMARKS
Q'TY
26
J.W.ヘッド部(1)
J.W.HEAD SECT.(1)
イラスト
No.
REF
No.
PART No.
部 品 品 番 個数 備 考
R
1
R
2
1 1087120100
J.W. HEAD UNIT J.W. ヘッドユニット
1
101 108382010101
BRACKET ブラケット
1
104 1046920104
FRAME フレーム
1106 104132010805
BRACKET ブラケット
1107 102031002403
GUIDE ガイド
1
108 1087120108
BAND バンド
1
109 1046920109
BAND バンド
1110 1020310043
TUBE チューブ
1112 101040203101
PIN( CLAMP) ピン(クランプ)
1
113 1041320115
SPRING バネ
1117 101056601901
PLATE プレート
1118 1010566028
COLLAR カラー
1
119 1041320125
COLLAR カラー
1
134 1041420049
GUIDE ガイド
1135 1041420050
BRACKET ブラケット
1136 102031005302
BRACKET ブラケット
1
137 102031005203
GUIDE ガイド
1
138 1041320144
BLOCK ブロック
Type-3 Best class M4-6
1
N009
N510017859AA
HEXAGON NUT ロッカクナット
SPOS-M4X15-A
1
N018
N510023196AA
POST ポスト
3X8,m6A,STEEL
2
N021
XPJ3A8FW
PARALLEL PIN ヘイコウピン
N912019
1
N026
N648N912019
ROLLER ベアリングローラ
A205107-15
1
N027
N986A205-075
GUIDE ガイド
M4-6H-4T A2J (Trivalen
1
N028
N510017855AA
NUT ナット
M246
F10871-20-100_01-1

J.W.ヘッド部(2)
J.W.HEAD SECT.(2)
26
F10871-20-100_01-2
M247