Parts List (Mechanical Parts) - 第28页
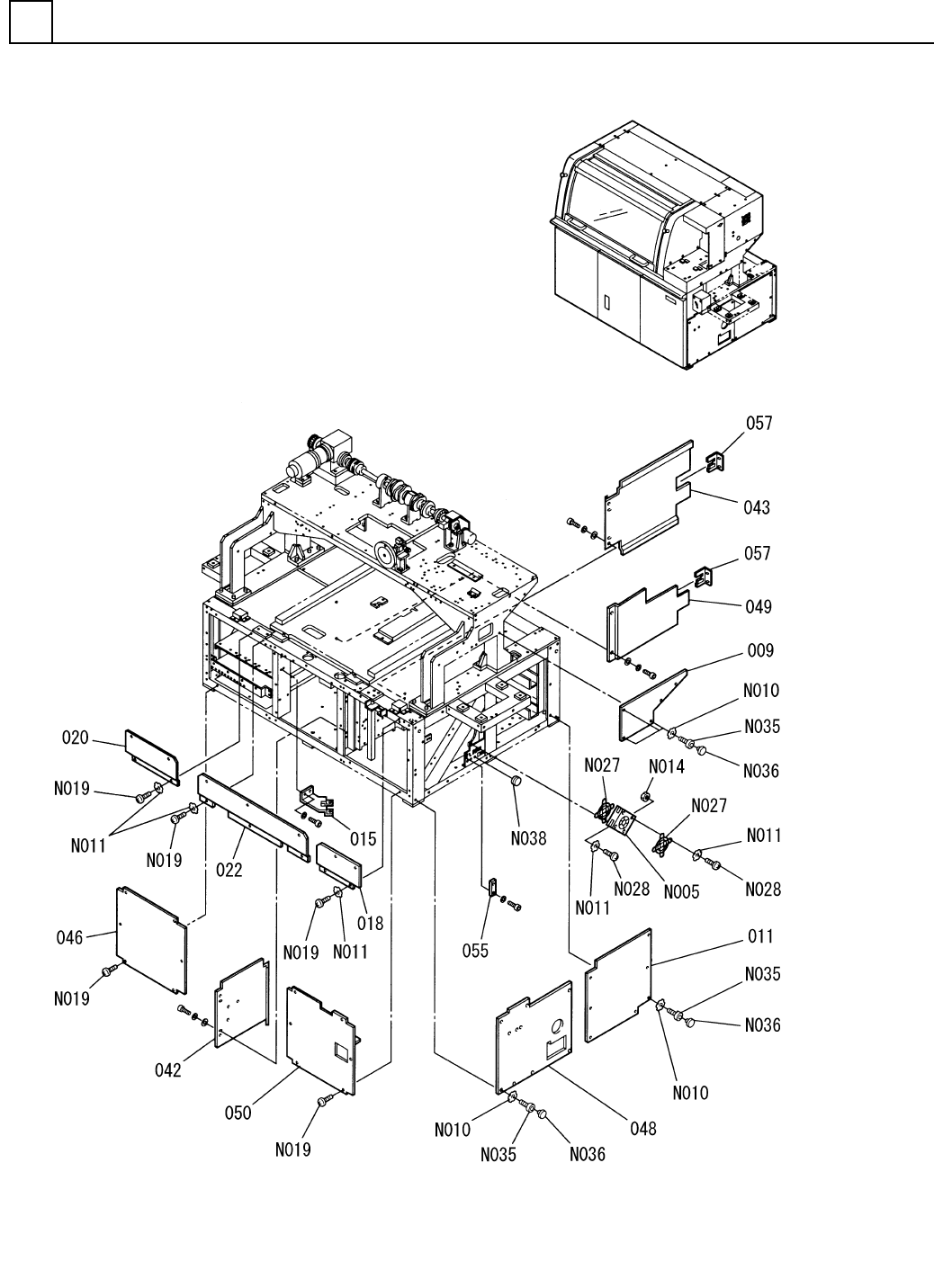
PART NAME REMARKS Q'TY 2 カバ-部(1) COVER SECT. (1) イラスト No. REF No. PART No. 部 品 品 番 個数 備 考 R 1 R 2 1 1087102000 COVER UNIT カバーユニット 1 010 108710201001 SIDE COVER ( L) サイドカバー(L) 1 011 1087102011 SIDE COVER ( R) サイト…

カバ-部(1)
COVER SECT.(1)
2
F10871-02-000-AJ_04-1
M9

PART NAME
REMARKS
Q'TY
2
カバ-部(1)
COVER SECT.(1)
イラスト
No.
REF
No.
PART No.
部 品 品 番 個数 備 考
R
1
R
2
1 1087102000
COVER UNIT カバーユニット
1
010 108710201001
SIDE COVER (L) サイドカバー(L)
1
011 1087102011
SIDE COVER (R) サイドカバー(R)
1014 108710201403
FRAME フレーム
1028 108380201601
COVER カバー
1
031 108710203102
BRACKET ブラケット
1
037 1083802043
BRACKET ブラケット
1038 1083802044
BRACKET ブラケット
1051 108710205101
OIL PAN オイルパン
2
054 1046951696
COVER カバー
1055 1083802081
PLATE プレート
1056 1087105805
BRACKET ブラケット
1
058 108710205801
BRACKET ブラケット
1
061 108710206101
SIDE COVER サイドカバー
4715KL-05W-B20-P00
1
N005
N2384715-093
FAN WITH MOTOR ファンモータ
5 External toothed Ste
17
N010
N510018765AA
TOOTHED LOCK WASHER ハツキザガネ
4 External toothed Ste
32
N011
N510018762AA
TOOTHED LOCK WASHER ハツキザガネ
M4-6H-4T A2J (Trivalen
12
N014
N510017855AA
NUT ナット
D4NS-1BF S
1
N015
N510015338AA
SWITCH スイッチ
ST13.5
1
N017
KXF06F4AA00
JOINT ジョイント
PG-47-02(8130)
2
N027
N238PG47-091
COVER(FAN) カバー(ファン)
M4X12-4.8 A2J (Trivale
16
N028
N510018259AA
TRUSS HEAD SCREW トラスコネジ
4,NYLON
4
N032
N986YYYY-029
WASHER ザガネ
JB-AM5X8
17
N035
N986JBAM58
BOLT ボルト
M5X12
17
N036
N986YYYY-814
CAP キャップ
1
N044
N510009488AA
FAN WITH MOTOR ファンモータ
PG-59-02
2
N045
N510005954AA
GUARD ガード
M10
F10871-02-000-AJ_04-1

カバ-部(2)
COVER SECT.(2)
2
F10871-02-000-AJ_04-2
M11