Parts List (Mechanical Parts) - 第34页
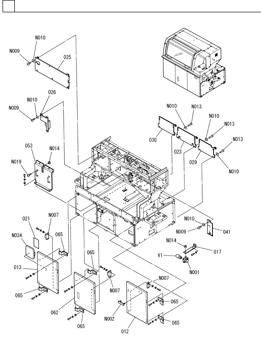
PART NAME REMARKS Q'TY 2 カバ-部(4) COVER SECT. (4) イラスト No. REF No. PART No. 部 品 品 番 個数 備 考 R 1 R 2 1 012 N210060289AA RIGHT DOOR ドア(RIGHT) 1 013 N210060290AA LEFT DOOR ドア(LEFT) 1 017 1083802018 BRACKET ブラケット 1 02…

カバ-部(4)
COVER SECT.(4)
2
F10871-02-000-AJ_04-4
M15

PART NAME
REMARKS
Q'TY
2
カバ-部(4)
COVER SECT.(4)
イラスト
No.
REF
No.
PART No.
部 品 品 番 個数 備 考
R
1
R
2
1012 N210060289AA
RIGHT DOOR ドア(RIGHT)
1
013 N210060290AA
LEFT DOOR ドア(LEFT)
1
017 1083802018
BRACKET ブラケット
1021 N210057390AA
TABLE テーブル
1023 108710202301
REAR COVER カバー(REAR)
1
025 108710202506
COVER カバー
1
026 108710202605
COVER カバー
1029 108710202901
REAR COVER カバー(REAR)
1030 108710203001
REAR COVER カバー(REAR)
1
041 108710204103
COVER カバー
1053 1083802067
COVER カバー
1062 N210060292AA
DOOR ドア
6
065 X01A78058
HINGE ヒンジ
ML-24
1
N001
N510025664AA
LIGHTING UNIT ショウメイユニット
P-18(screw)
1
N002
KXF0DXPLA00
NAME PLATE メイバン
C-100-B-2
6
N007
KXF01EWAA00
MAGNET マグネット
M5X6-4.8 A2J (Trivalen
12
N009
N510018300AA
TRUSS HEAD SCREW トラスコネジ
5 External toothed Ste
18
N010
N510018765AA
TOOTHED LOCK WASHER ハツキザガネ
M5X10-4.8 A2J (Trivale
12
N013
N510018284AA
TRUSS HEAD SCREW トラスコネジ
M4-6H-4T A2J (Trivalen
14
N014
N510017855AA
NUT ナット
M4X10-4.8 A2J (Trivale
9
N019
N510018257AA
SCREW ネジ
500W
1
N034
N986YYYY-B55
POCKET ポケット
D02402505
1V 1 N224D024-693
LAMP ランプ
M16
F10871-02-000-AJ_04-4

カバ-部(5)
COVER SECT.(5)
2
F10871-02-000-AJ_04-5
M17