Parts List (Mechanical Parts) - 第357页
カバー 部 COVER SECT. 35 FN610027000AA_00 M339

PART NAME
REMARKS
Q'TY
34
JWヘッド部(リール対応)
JW HEAD SECT.(REEL TYPE)
イラスト
No.
REF
No.
PART No.
部 品 品 番 個数 備 考
R
1
R
2
1 N610025523AA
REEL TYPE UNIT リールタイオウユニット
1
001 102072025202
SHAFT シャフト
1
002 1020720253
HOUSING ハウジング
1003 1041320231
SHAFT シャフト
1004 1041320245
BUSHING ブッシング
A205107-15
1
N001
N986A205-075
GUIDE ガイド
F608ZZ
1
N002
KXF020LAA00
BEARING ベアリング
M338
FN610025523AA_00

カバー部
COVER SECT.
35
FN610027000AA_00
M339

PART NAME
REMARKS
Q'TY
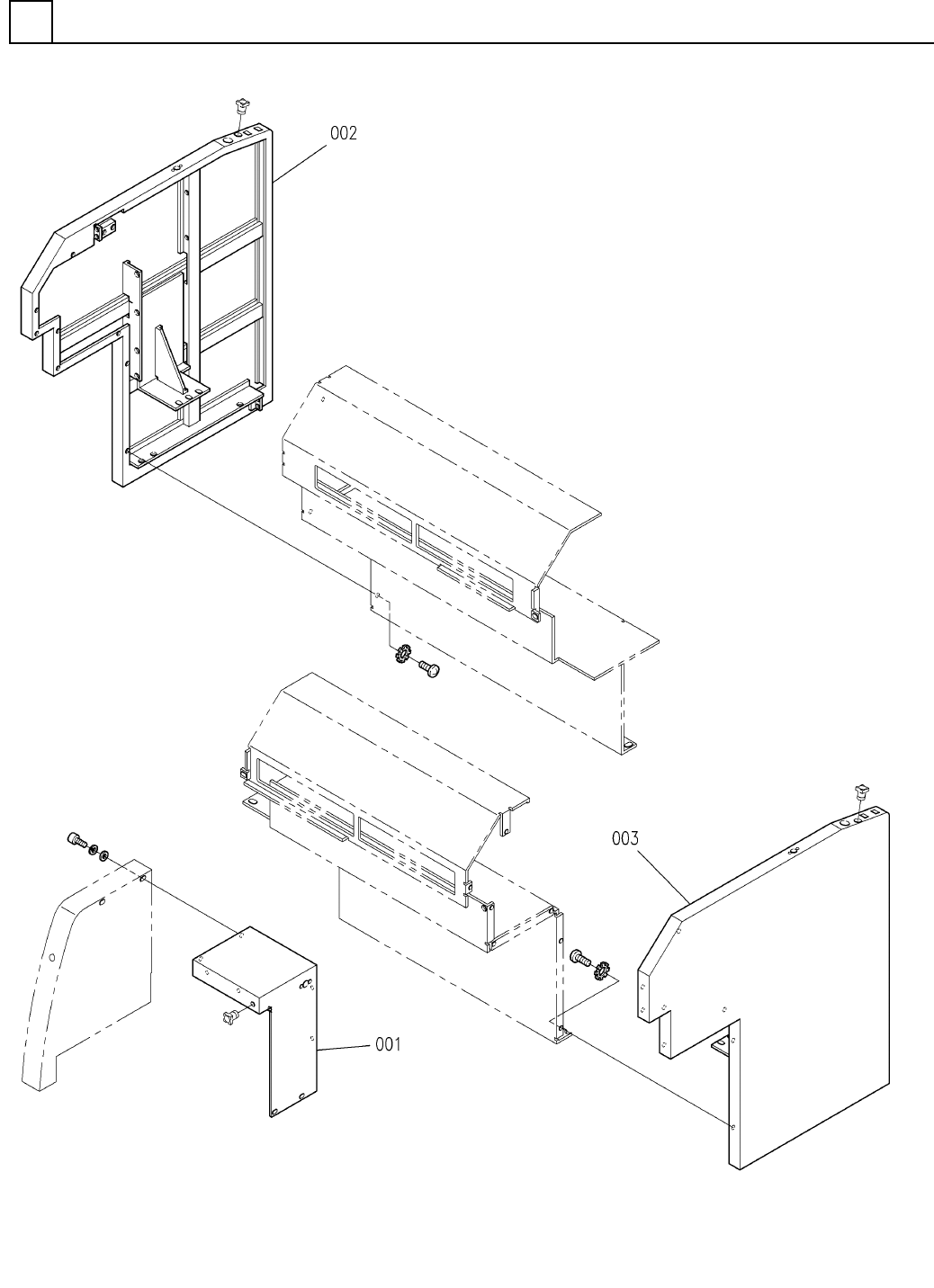
35
カバー部
COVER SECT.
イラスト
No.
REF
No.
PART No.
部 品 品 番 個数 備 考
R
1
R
2
1 N610027000AA
COVER UNIT カバーユニット
1
001 N210040612AA
SIDE COVER(RIGHT) サイドカバー(RIGHT)
1
002 N210040613AA
SIDE COVER(LEFT) サイドカバー(LEFT)
1003 N210040614AA
SIDE COVER(RIGHT) サイドカバー(RIGHT)
M340
FN610027000AA_00