Parts List (Mechanical Parts) - 第38页
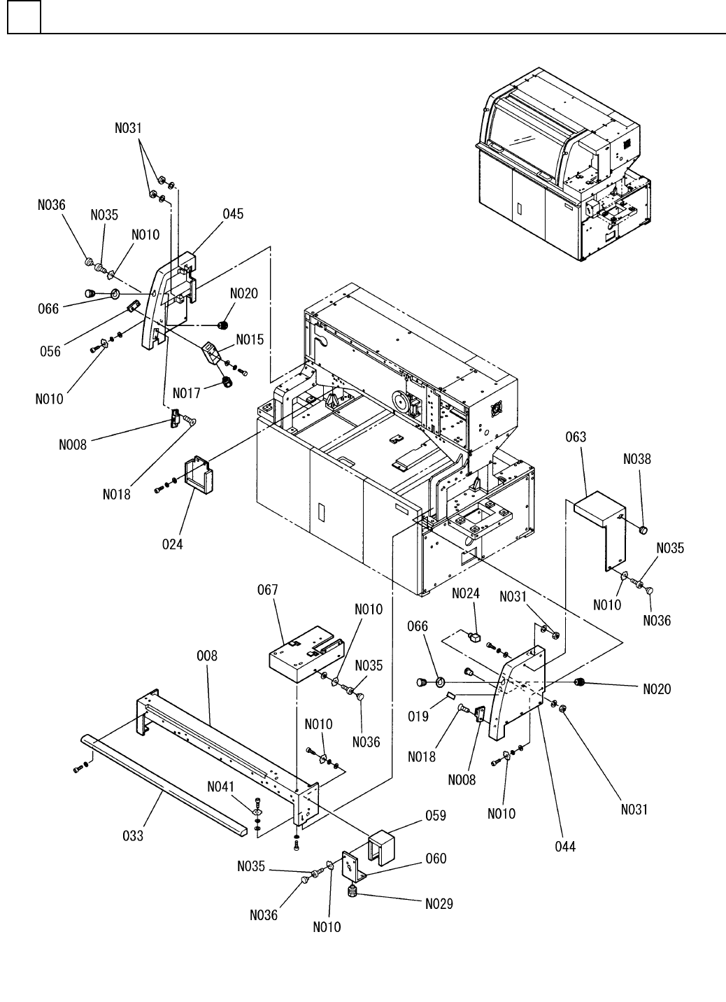
PART NAME REMARKS Q'TY 2 カバ-部(6) COVER SECT. (6) イラスト No. REF No. PART No. 部 品 品 番 個数 備 考 R 1 R 2 1 008 108710200803 FRONT COVER フロントカバー 1 019 1044059662 LABEL ラベル 1 024 1083802082 OIL PAN オイルパン 1 033 1046702086…

カバ-部(6)
COVER SECT.(6)
2
F10871-02-000-AJ_04-6
M19

PART NAME
REMARKS
Q'TY
2
カバ-部(6)
COVER SECT.(6)
イラスト
No.
REF
No.
PART No.
部 品 品 番 個数 備 考
R
1
R
2
1008 108710200803
FRONT COVER フロントカバー
1
019 1044059662
LABEL ラベル
1
024 1083802082
OIL PAN オイルパン
1033 1046702086
GUIDE ガイド
1044 108710204404
SIDE COVER(RIGHT) サイドカバー(RIGHT)
1
045 108710204504
SIDE COVER(LEFT) サイドカバー(LEFT)
1
056 1087105805
BRACKET ブラケット
1059 108710205902
BRACKET(SW) ブラケット(SW)
1060 108710206001
BRACKET(SW) ブラケット(SW)
1
063 108710206301
COVER(L) カバー(L)
2066 3086239031
LABEL ラベル
1067 N210028756AA
FRONT COVER フロントカバー
C-100-B-2
2
N008
KXF01BNAA00
MAGNETIC CATCH マグネットキャッチ
5 External toothed Ste
32
N010
N510018765AA
TOOTHED LOCK WASHER ハツキザガネ
D4NS-1BF S
1
N015
N510015338AA
SWITCH スイッチ
ST13.5
1
N017
KXF06F4AA00
JOINT ジョイント
M3X6-4.8 A2J (Trivalen
4
N018
N510018158AA
FLUSH HEAD SCREW サラコネジ
XW1E-BV402MFR-TK2377 S
2
N020
N510011524AA
SWITCH スイッチ
M22-D-G-X1/K10 S
1
N024
N302M22D-544
SWITCH スイッチ
V-M32
1
N029
N348VM32
GROMMET グロメット
M5-6H-4T A2J (Trivalen
4
N031
N510017862AA
NUT ナット
JB-AM5X8
8
N035
N986JBAM58
BOLT ボルト
M5X12
8
N036
N986YYYY-814
CAP キャップ
C-30-SG-24A,WHITE
1
N038
N980C30S-065
GROMMET グロメット
6 External toothed Ste
2
N041
N510018767AA
TOOTHED LOCK WASHER ハツキザガネ
M20
F10871-02-000-AJ_04-6

カバー部(主操作盤)
COVER SECT.(MAIN CONTROL PANEL)
2
F10871-02-200-AF_01
M21