Parts List (Mechanical Parts) - 第42页
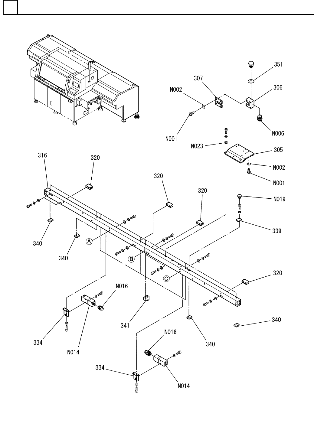
PART NAME REMARKS Q'TY 2 カバー部(Z軸1) COVER SECT. (Z-AXIS-1) イラスト No. REF No. PART No. 部 品 品 番 個数 備 考 R 1 R 2 1 1087102300 COVER UNIT カバーユニット 1 305 1087102305 PLATE プレート 1 306 108710230601 COVER カバー 1 307 108710230…

カバー部(Z軸1)
COVER SECT.(Z-AXIS-1)
2
F10871-02-300-AG_03-1
M23

PART NAME
REMARKS
Q'TY
2
カバー部(Z軸1)
COVER SECT.(Z-AXIS-1)
イラスト
No.
REF
No.
PART No.
部 品 品 番 個数 備 考
R
1
R
2
1 1087102300
COVER UNIT カバーユニット
1
305 1087102305
PLATE プレート
1
306 108710230601
COVER カバー
1307 1087102307
COVER カバー
1316 1087102316
RAIL レール
4
320 108710232003
STOPPER ストッパ
2
334 108710233403
BRACKET ブラケット
8339 108710233901
PLATE プレート
4340 108710234001
PLATE プレート
4
341 108710234101
BLOCK ブロック
1351 3086239031
LABEL ラベル
M3X6-4.8 A2J (Trivalen
10
N001
N510018253AA
TRUSS HEAD SCREW トラスコネジ
3 External toothed Ste
10
N002
N510018760AA
TOOTHED LOCK WASHER ハツキザガネ
XW1E-BV402MFR-TK2377 S
1
N006
N510011524AA
SWITCH スイッチ
D4NS-1BF S
2
N014
N510015338AA
SWITCH スイッチ
ST13.5
2
N016
KXF06F4AA00
JOINT ジョイント
C-30-SG9A(WHITE)
8
N019
N980C30SG9AW
GROMMET グロメット
5 External toothed Ste
3
N023
N510018765AA
TOOTHED LOCK WASHER ハツキザガネ
M24
F10871-02-300-AG_03-1

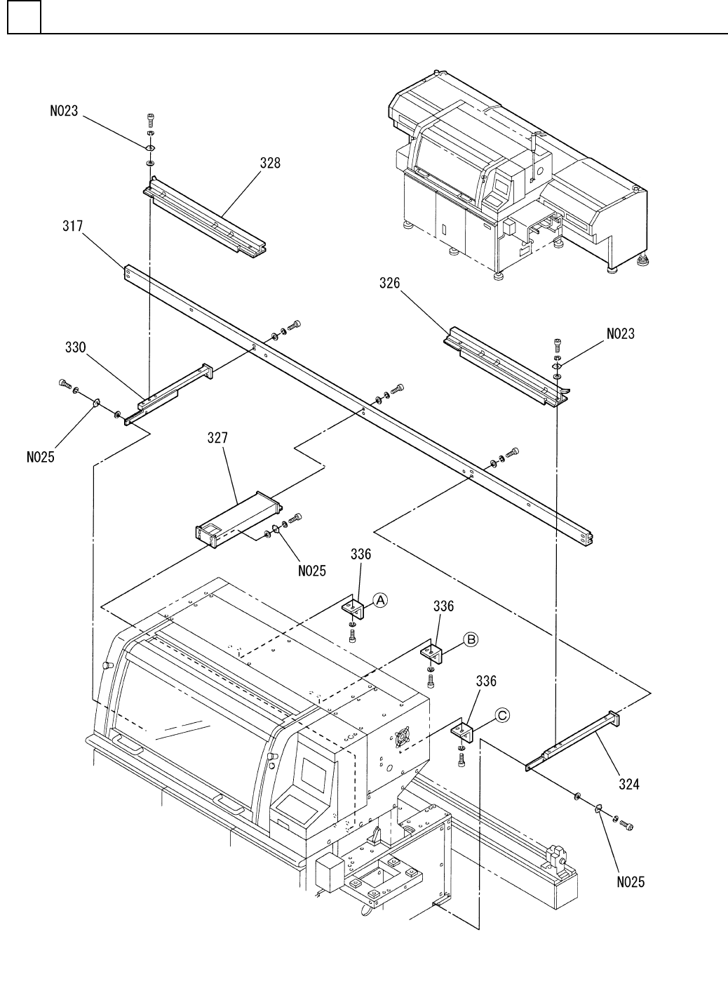
カバー部(Z軸2)
COVER SECT.(Z-AXIS-2)
2
F10871-02-300-AG_03-2
M25