Parts List (Mechanical Parts) - 第54页
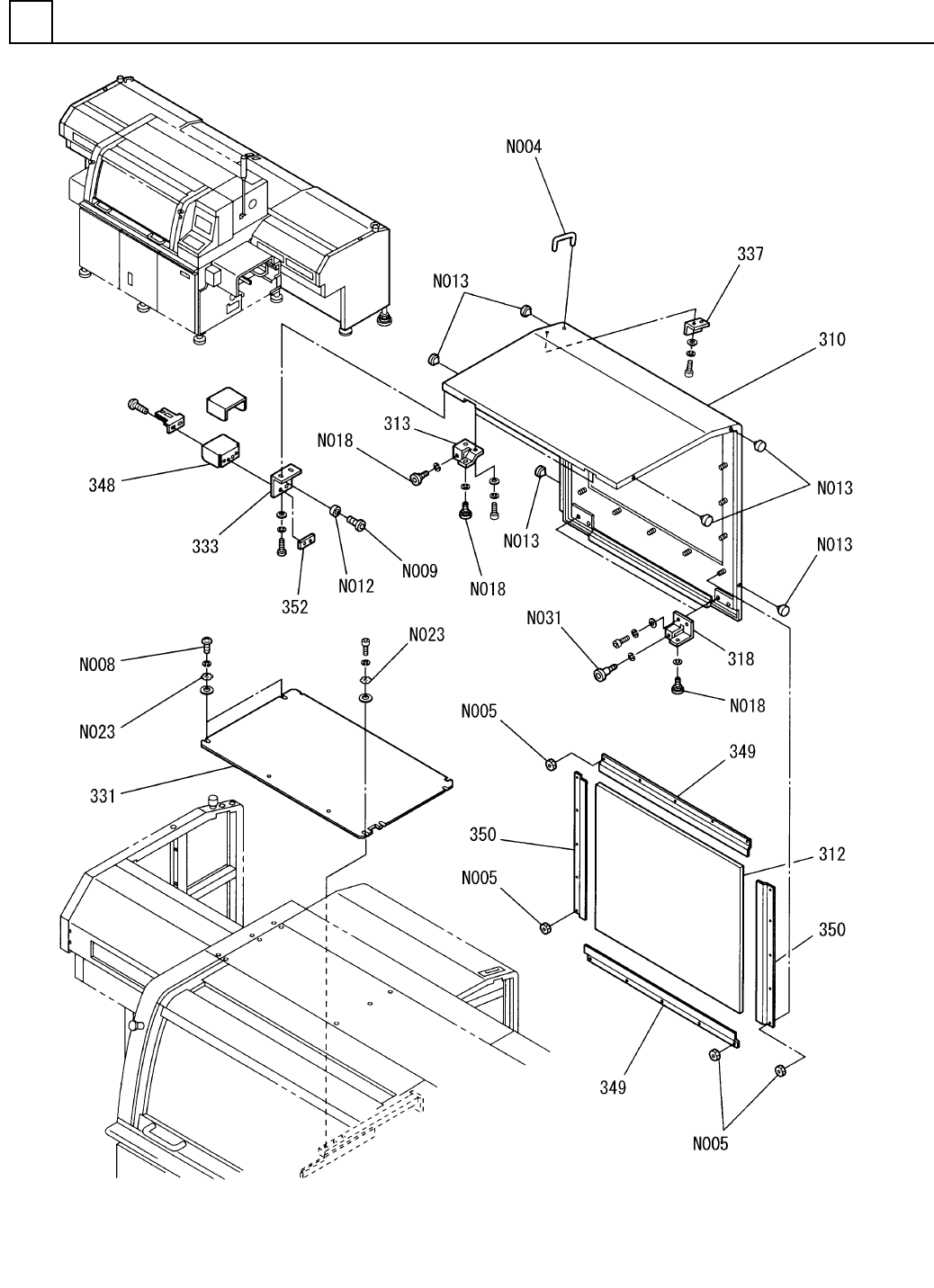
PART NAME REMARKS Q'TY 2 カバー部(Z軸7) COVER SECT. (Z-AXIS-7) イラスト No. REF No. PART No. 部 品 品 番 個数 備 考 R 1 R 2 1 309 108710230902 DOOR(L) ドア(L) 2 314 108710231402 BRACKET ブラケット 2 319 108710231902 BRACKET ブラケット 1 329…

カバー部(Z軸7)
COVER SECT.(Z-AXIS-7)
2
F10871-02-300-AG_03-7
M35

PART NAME
REMARKS
Q'TY
2
カバー部(Z軸7)
COVER SECT.(Z-AXIS-7)
イラスト
No.
REF
No.
PART No.
部 品 品 番 個数 備 考
R
1
R
2
1309 108710230902
DOOR(L) ドア(L)
2
314 108710231402
BRACKET ブラケット
2
319 108710231902
BRACKET ブラケット
1329 108710232901
COVER(L) カバー(L)
1335 108710233501
BRACKET ブラケット
2
338 1046931347
BRACKET ブラケット
A-174-1
1
N003
N980A1741
DRAWER PULL トッテ
22RF602C-1
6
N018
N50022RF-016
BEARING ベアリング
M6X10-4.8 A2J (Trivale
2
N020
N510018304AA
TRUSS HEAD SCREW トラスコネジ
C-158-3
1
N021
N980C1583
MAGNETIC CATCH マグネットキャッチ
5 External toothed Ste
3
N023
N510018765AA
TOOTHED LOCK WASHER ハツキザガネ
22RF603C-1
4
N031
N50022RF-017
BEARING ベアリング
M36
F10871-02-300-AG_03-7

カバー部(Z軸8)
COVER SECT.(Z-AXIS-8)
2
F10871-02-300-AG_03-8
M37