Parts List (Mechanical Parts) - 第57页
カバー部(Z軸カバー部1) COVER SECT. (Z-AXIS COVER SECT.-1) 2 F10871-02-700_03-1 M39

PART NAME
REMARKS
Q'TY
2
カバー部(Z軸8)
COVER SECT.(Z-AXIS-8)
イラスト
No.
REF
No.
PART No.
部 品 品 番 個数 備 考
R
1
R
2
1310 108710231002
DOOR(L) ドア(L)
1
312 1087102312
COVER(DOOR) カバー(ドア)
2
313 108710231303
BRACKET ブラケット
2318 108710231802
BRACKET ブラケット
1331 1087102331
COVER(L) カバー(L)
1
333 108710233301
BRACKET ブラケット
1
337 104693134601
BRACKET ブラケット
1348 1087102064
BRACKET ブラケット
2349 1087102349
BRACKET ブラケット
2
350 1087102350
BRACKET ブラケット
1352 1081102241
NUT PLATE ナットプレート
A-1042-C-15
1
N004
N980A1042C15
DRAWER PULL トッテ
M5-6H-4T A2J (Trivalen
20
N005
N510017862AA
NUT ナット
M5X12-4.8 A2J (Trivale
2
N008
N510018286AA
TRUSS HEAD SCREW トラスコネジ
Hexagon socket head ca
1
N009
XVE2B6FTC
BOLT BOLT
C-30-RK-15-UL
1
N012
N510010453AA
RUBBER LEG ゴムアシ
TM-96-2(7222)
7
N013
N982TM7222
RUBBER CUSHION ゴムクッション
22RF602C-1
6
N018
N50022RF-016
BEARING ベアリング
5 External toothed Ste
5
N023
N510018765AA
TOOTHED LOCK WASHER ハツキザガネ
22RF603C-1
2
N031
N50022RF-017
BEARING ベアリング
M38
F10871-02-300-AG_03-8

カバー部(Z軸カバー部1)
COVER SECT.(Z-AXIS COVER SECT.-1)
2
F10871-02-700_03-1
M39

PART NAME
REMARKS
Q'TY
2
カバー部(Z軸カバー部1)
COVER SECT.(Z-AXIS COVER SECT.-1)
イラスト
No.
REF
No.
PART No.
部 品 品 番 個数 備 考
R
1
R
2
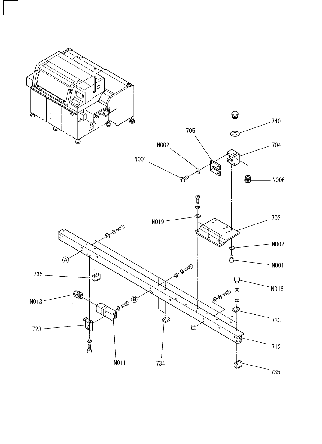
1 1087102700
COVER UNIT カバーユニット
1
703 1087102305
PLATE プレート
1
704 108710230601
COVER カバー
1705 1087102307
COVER カバー
1712 1087102713
RAIL レール
1
728 108710233403
BRACKET ブラケット
4
733 108710233901
PLATE プレート
2734 108710234001
PLATE プレート
2735 1087102736
BLOCK ブロック
1
740 3086239031
LABEL ラベル
M3X6-4.8 A2J (Trivalen
10
N001
N510018253AA
TRUSS HEAD SCREW トラスコネジ
3 External toothed Ste
10
N002
N510018760AA
TOOTHED LOCK WASHER ハツキザガネ
XW1E-BV402MFR-TK2377 S
1
N006
N510011524AA
SWITCH スイッチ
D4NS-1BF S
1
N011
N510015338AA
SWITCH スイッチ
ST13.5
1
N013
KXF06F4AA00
JOINT ジョイント
C-30-SG9A(WHITE)
4
N016
N980C30SG9AW
GROMMET グロメット
5 External toothed Ste
3
N019
N510018765AA
TOOTHED LOCK WASHER ハツキザガネ
M40
F10871-02-700_03-1