Parts List (Mechanical Parts) - 第63页
カバー部(Z軸カバー部4) COVER SECT. (Z-AXIS COVER SECT.-4) 2 F10871-02-700_03-4 M45

PART NAME
REMARKS
Q'TY
2
カバー部(Z軸カバー部3)
COVER SECT.(Z-AXIS COVER SECT.-3)
イラスト
No.
REF
No.
PART No.
部 品 品 番 個数 備 考
R
1
R
2
1701 108710230303
SIDE COVER (R) サイドカバー(R)
1
711 1087102712
FRONT COVER カバー(FRONT)
1
726 1087102727
COVER(RIGHT) カバー(RIGHT)
1740 3086239031
LABEL ラベル
XW1E-BV402MFR-TK2377 S
1
N006
N510011524AA
SWITCH スイッチ
M5X12-4.8 A2J (Trivale
7
N007
N510018286AA
TRUSS HEAD SCREW トラスコネジ
D4NS-1BF S
1
N011
N510015338AA
SWITCH スイッチ
ST13.5
1
N013
KXF06F4AA00
JOINT ジョイント
TM-257-4(6214)
1
N014
N982TM6214
ADJUSTING BOLT アジャストボルト
C-158-3
1
N018
N980C1583
MAGNETIC CATCH マグネットキャッチ
5 External toothed Ste
17
N019
N510018765AA
TOOTHED LOCK WASHER ハツキザガネ
6 External toothed Ste
3
N020
N510018767AA
TOOTHED LOCK WASHER ハツキザガネ
APN122DNS
1
N022
N223APN1-065
LAMP ランプ
M44
F10871-02-700_03-3

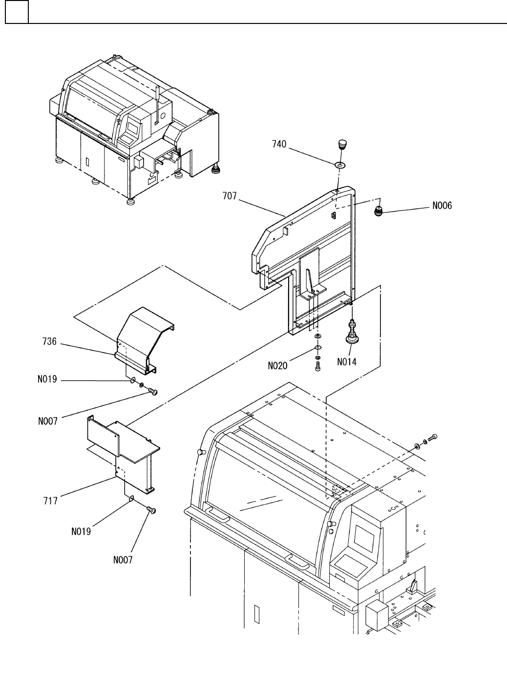
カバー部(Z軸カバー部4)
COVER SECT.(Z-AXIS COVER SECT.-4)
2
F10871-02-700_03-4
M45

PART NAME
REMARKS
Q'TY
2
カバー部(Z軸カバー部4)
COVER SECT.(Z-AXIS COVER SECT.-4)
イラスト
No.
REF
No.
PART No.
部 品 品 番 個数 備 考
R
1
R
2
1707 1087102708
SIDE COVER (L) サイドカバー(L)
1
717 1087102718
COVER(LEFT) カバー(LEFT)
1
736 1087102737
FRONT COVER(LEFT) フロントカバー(LEFT)
1740 3086239031
LABEL ラベル
XW1E-BV402MFR-TK2377 S
1
N006
N510011524AA
SWITCH スイッチ
M5X12-4.8 A2J (Trivale
7
N007
N510018286AA
TRUSS HEAD SCREW トラスコネジ
TM-257-4(6214)
1
N014
N982TM6214
ADJUSTING BOLT アジャストボルト
5 External toothed Ste
17
N019
N510018765AA
TOOTHED LOCK WASHER ハツキザガネ
6 External toothed Ste
3
N020
N510018767AA
TOOTHED LOCK WASHER ハツキザガネ
M46
F10871-02-700_03-4