Parts List (Mechanical Parts) - 第66页
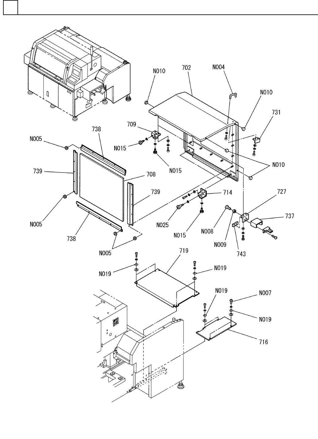
PART NAME REMARKS Q'TY 2 カバー部(Z軸カバー部5) COVER SECT. (Z-AXIS COVER SECT.-5) イラスト No. REF No. PART No. 部 品 品 番 個数 備 考 R 1 R 2 1 702 108710230403 DOOR(R) ドア(R) 1 708 1087102312 COVER(DOOR) カバー(ドア) 2 709 10871023130…

カバー部(Z軸カバー部5)
COVER SECT.(Z-AXIS COVER SECT.-5)
2
F10871-02-700_03-5
M47

PART NAME
REMARKS
Q'TY
2
カバー部(Z軸カバー部5)
COVER SECT.(Z-AXIS COVER SECT.-5)
イラスト
No.
REF
No.
PART No.
部 品 品 番 個数 備 考
R
1
R
2
1702 108710230403
DOOR(R) ドア(R)
1
708 1087102312
COVER(DOOR) カバー(ドア)
2
709 108710231303
BRACKET ブラケット
2714 108710231802
BRACKET ブラケット
1716 1087102717
COVER(RIGHT) カバー(RIGHT)
1
719 1087102720
COVER(RIGHT) カバー(RIGHT)
1
727 108710233301
BRACKET ブラケット
1731 104693134601
BRACKET ブラケット
1737 1087102064
BRACKET ブラケット
2
738 1087102349
BRACKET ブラケット
2739 1087102350
BRACKET ブラケット
1743 1081102241
NUT PLATE ナットプレート
A-1042-C-15
1
N004
N980A1042C15
DRAWER PULL トッテ
M5-6H-4T A2J (Trivalen
20
N005
N510017862AA
NUT ナット
M5X12-4.8 A2J (Trivale
2
N007
N510018286AA
TRUSS HEAD SCREW トラスコネジ
Hexagon socket head ca
1
N008
XVE2B6FTC
BOLT BOLT
C-30-RK-15-UL
1
N009
N510010453AA
RUBBER LEG ゴムアシ
TM-96-2(7222)
4
N010
N982TM7222
RUBBER CUSHION ゴムクッション
22RF602C-1
6
N015
N50022RF-016
BEARING ベアリング
5 External toothed Ste
9
N019
N510018765AA
TOOTHED LOCK WASHER ハツキザガネ
22RF603C-1
2
N025
N50022RF-017
BEARING ベアリング
M48
F10871-02-700_03-5

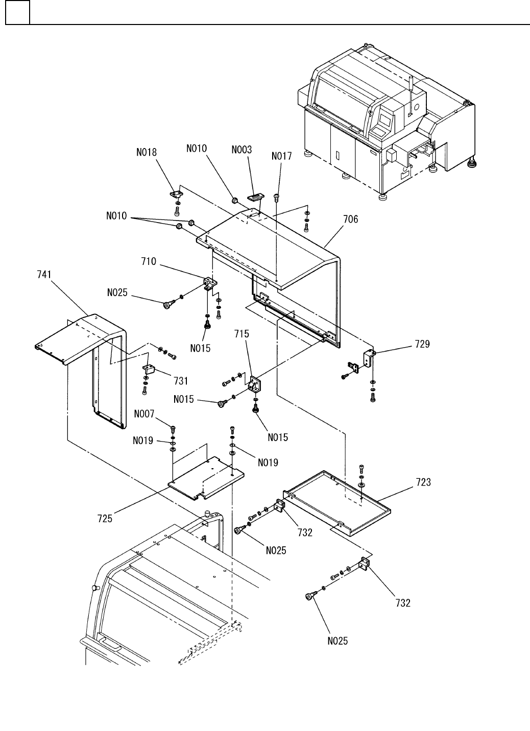
カバー部(Z軸カバー部6)
COVER SECT.(Z-AXIS COVER SECT.-6)
2
F10871-02-700_03-6
M49