Parts List (Mechanical Parts) - 第88页
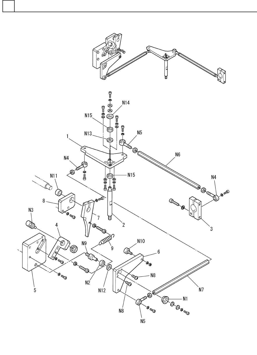
PART NAME REMARKS Q'TY 4 ローダ・アンローダ 部(ローダアーム連動部) LOADER & UN LOADER SECT.(LOADE R ARM SWING SECT. ) イラスト No. REF No. PART No. 部 品 品 番 個数 備 考 R 1 R 2 1 1087116000 LOADER ARM S WING UNIT ローダアームレンドウユニ ット 1 1 10…

ローダ・アンローダ部(ローダアーム連動部)
LOADER & UNLOADER SECT.(LOADER ARM SWING SECT.)
4
F10871-16-000-AD_A
M69

PART NAME
REMARKS
Q'TY
4
ローダ・アンローダ部(ローダアーム連動部)
LOADER & UNLOADER SECT.(LOADER ARM SWING SECT.)
イラスト
No.
REF
No.
PART No.
部 品 品 番 個数 備 考
R
1
R
2
1 1087116000
LOADER ARM SWING UNIT ローダアームレンドウユニット
1
1 108711600103
LEVER レバー
1
2 108711600203
PIN ピン
13 108711600301
LEVER レバー
14 108711600402
BRACKET ブラケット
1
5 108711600502
BRACKET ブラケット
1
6 108711600601
LEVER レバー
17 1087116007
LEVER レバー
18 108711600801
BRACKET ブラケット
1
9 1087116009
SPRING バネ
F688AZZ1
1N 1 XLCNF688AZZ1
BEARING ベアリング
688AZZ1
1N 2 KXF0E2FJA00
BEARING ベアリング
RBQ1604
1
N 3 N437RBQ1604
SHOCK-ABSORBER ショックアブソーバー
N0S4T
2
N 4 N533N0S4T
ROD END ロッドエンド
NOS4TL
2N 5 N533N0S4TL
ROD END ロッドエンド
LBMFN4-206
1N 6 N533LBMF-032
ROD ロッド
LBMFN4-184
1
N 7 N533LBMF-033
ROD ロッド
M3X6,+,STEEL,Z.C.T
2
N 8 XST3+6FY
TRUSS HEAD SCREW トラスコネジ
FXBB8-12-F9-MA4
1N 9 N986FXBB-T57
PIN ピン
CF6R-A
1N10 N531CF6RA
CAM FOLLOWER カムフォロア
MB1410DU
1
N11 N520MB1410DU
BUSHING ブッシング
CIMRB12-16-0.05
1
N12 N986C1MR-T79
RING リング
CIMRB20-24-0.05
1N13 N986C1MR-U87
RING リング
WSSB20-5-3
1N14 N560WSSB2053
WASHER ザガネ
6802ZZ
2
N15 XLCN6802ZZ
BALL BEARING ボールベアリング
M70
F10871-16-000-AD_A

ローダ・アンローダ部(プーリ部)
LOADER & UNLOADER SECT.(PULLEY SECT.)
4
F10997-05-950
M71