Parts List (Mechanical Parts) - 第91页
ローダ・アンローダ 部(ローダカバー部) LOADER & UN LOADER SECT.(LOADE R COVER SECT.) 4 F10871-05-800-AC_0 1 M73

PART NAME
REMARKS
Q'TY
4
ローダ・アンローダ部(プーリ部)
LOADER & UNLOADER SECT.(PULLEY SECT.)
イラスト
No.
REF
No.
PART No.
部 品 品 番 個数 備 考
R
1
R
2
BELT T=1
1 1099705950
PULLEY UNIT プーリーユニット
MB035000
8
N 1 N648MB035000
PULLEY(TENSION) プーリー(テンション)
M72
F10997-05-950

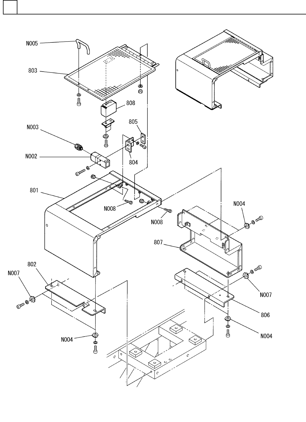
ローダ・アンローダ部(ローダカバー部)
LOADER & UNLOADER SECT.(LOADER COVER SECT.)
4
F10871-05-800-AC_01
M73

PART NAME
REMARKS
Q'TY
4
ローダ・アンローダ部(ローダカバー部)
LOADER & UNLOADER SECT.(LOADER COVER SECT.)
イラスト
No.
REF
No.
PART No.
部 品 品 番 個数 備 考
R
1
R
2
1 1087105800
LOADER COVER UNIT ローダカバーユニット
1
801 108710580103
FRONT COVER カバー(FRONT)
1
802 108710580202
FRONT BRACKET ブラケット(FRONT)
1803 108710580302
NET ネット
1804 1087105804
BRACKET ブラケット
1
805 1087105805
BRACKET ブラケット
1
806 1087105806
BRACKET ブラケット
1807 1087105807
REAR COVER カバー(REAR)
1808 1087102064
BRACKET ブラケット
D4NS-1BF S
1
N002
N510015338AA
SWITCH スイッチ
ST13.5
1
N003
KXF06F4AA00
JOINT ジョイント
5 External toothed Ste
7
N004
N510018765AA
TOOTHED LOCK WASHER ハツキザガネ
THA-32-2(3481)
1
N005
N982THA3481
DRAWER PULL トッテ
6 External toothed Ste
4
N007
N510018767AA
TOOTHED LOCK WASHER ハツキザガネ
SUB-M4X15
2
N008
N510017001AA
BOLT ボルト
M74
F10871-05-800-AC_01