Parts List (Mechanical Parts) - 第94页
PART NAME REMARKS Q'TY 4 ローダ・アンローダ 部(アンローダカバー部) LOADER & UN LOADER SECT.(UNLOA DER COVER SECT.) イラスト No. REF No. PART No. 部 品 品 番 個数 備 考 R 1 R 2 1 1087105900 UNLOADER COV ER UNIT アンローダカバーユニット 1 901 1087105…

ローダ・アンローダ部(アンローダカバー部)
LOADER & UNLOADER SECT.(UNLOADER COVER SECT.)
4
F10871-05-900-AD_01
M75

PART NAME
REMARKS
Q'TY
4
ローダ・アンローダ部(アンローダカバー部)
LOADER & UNLOADER SECT.(UNLOADER COVER SECT.)
イラスト
No.
REF
No.
PART No.
部 品 品 番 個数 備 考
R
1
R
2
1 1087105900
UNLOADER COVER UNIT アンローダカバーユニット
1
901 108710590104
FRONT COVER カバー(FRONT)
1
902 108710590201
BRACKET ブラケット
1903 108710590301
REAR COVER カバー(REAR)
1904 1087105904
REAR BRACKET ブラケット(REAR)
1
905 108710580302
NET ネット
1
906 1087105906
BRACKET ブラケット
1907 1087105805
BRACKET ブラケット
1908 1087105806
BRACKET ブラケット
1
909 1087102064
BRACKET ブラケット
D4NS-1BF S
1
N002
N510015338AA
SWITCH スイッチ
ST13.5
1
N003
KXF06F4AA00
JOINT ジョイント
5 External toothed Ste
7
N004
N510018765AA
TOOTHED LOCK WASHER ハツキザガネ
THA-32-2(3481)
1
N005
N982THA3481
DRAWER PULL トッテ
6 External toothed Ste
4
N007
N510018767AA
TOOTHED LOCK WASHER ハツキザガネ
SUB-M4X15
2
N008
N510017001AA
BOLT ボルト
M76
F10871-05-900-AD_01

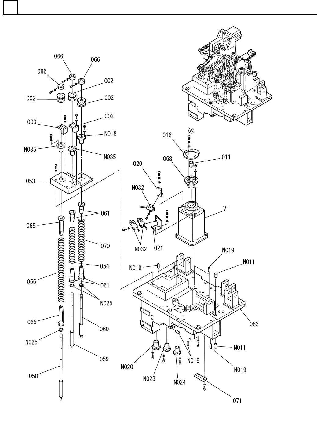
挿入ヘッド部(1)
INSERTION HEAD SECT.(1)
5
F10871-09-000-AF_01-1
M77