Control unit S25-HM_20211123_095841 - 第8页
Control unit S25-HM Page 8 / 10 23.11.2021 Pos. Item no. Description Part marking 1 00356211-02 CONTROL UNIT S25-HM 2 00366803S03 MVS340-6 VME V2321M CALIBR. SPARE PART 3 00356212-02 CONTROL UNIT S25-HM WITHOUT MVS 00356…

Control unit S25-HM
Page 7 / 10 23.11.2021

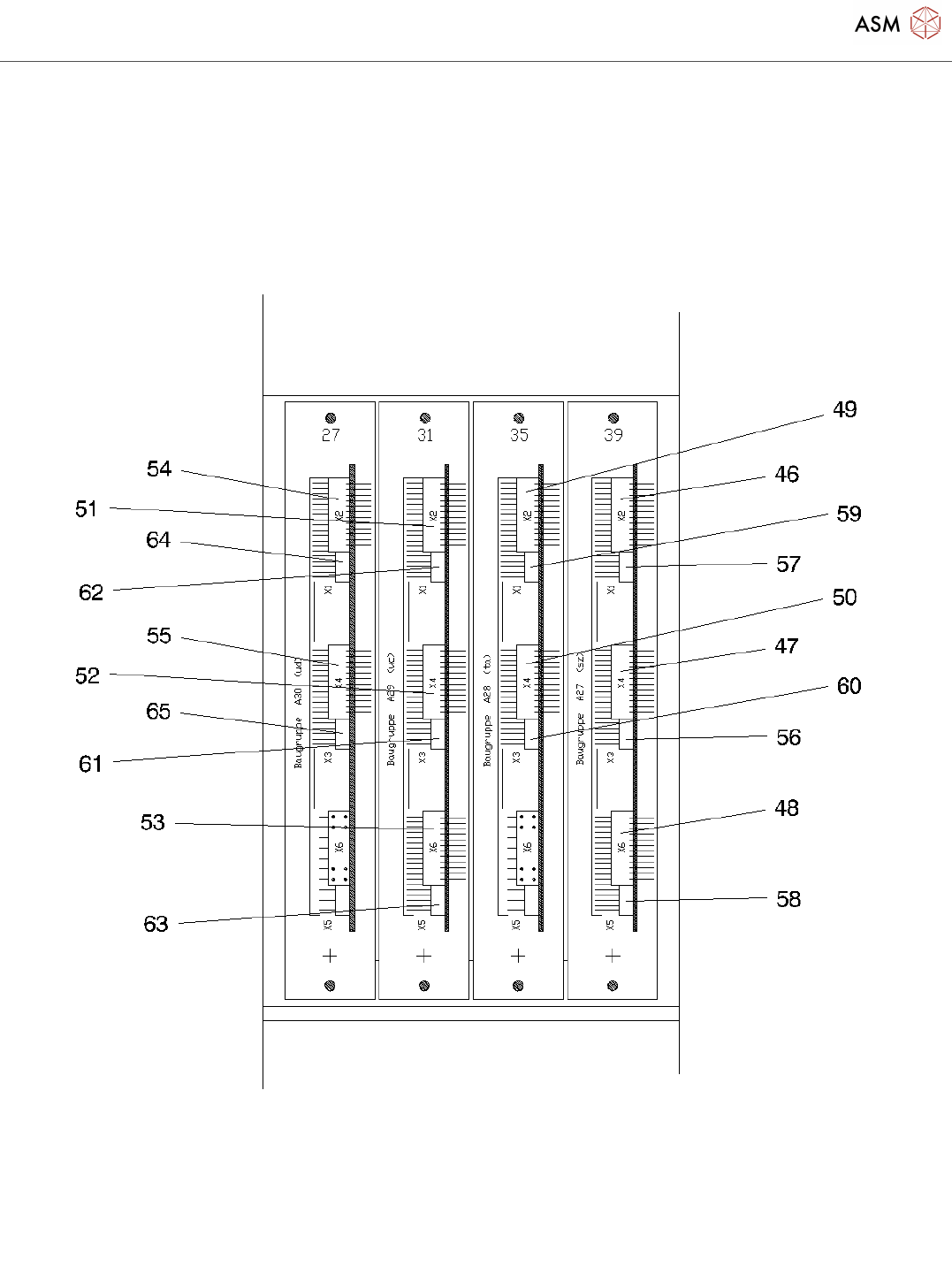
Control unit S25-HM
Page 8 / 10 23.11.2021
Pos. Item no. Description Part marking
1 00356211-02 CONTROL UNIT S25-HM
2 00366803S03 MVS340-6 VME V2321M CALIBR. SPARE PART
3 00356212-02 CONTROL UNIT S25-HM WITHOUT
MVS
00356213S02 CONTROL UNIT S25-F5HM BASIC Spare Part
4 00362548-01 CONTROL UNIT S25-HM/F5-HM
RACK
5 00357328-01 BACKPLANE KSP-SYSS23 SPARE PART
6 00336392-01 BATTERY LITHIUM 3.6V MIGNON
7 00345028-01 FAN UNIT S23
8 00310847-02 FAN 4414F / 24VDC / 240MA SPARE PART
9 00335522S03 MACHINE CONTROLLER M54 SPARE PART
10 00335526S06 MASS STORAGE KSP-M351 SPARE PART
11 00356055S07 AXIS KSP-A362 FOR SIPLACE
S23/F5-HM
SPARE PART
12 00356817S07 AXIS KSP-A362 1 X AC FOR
S23/F5-HM
SPARE PART
13 00372426-01 COMMUNICATION UNIT KSP-
COM351A
SPARE PART
14 00349189-01 I/O PCB (MIXED) KSP-P219-A32 Spare Part
15 00349979S01 CONVEYOR CONTROL TSP-210 SPARE PART
16 00344771S04 POWER SUPPLY S23 SPARE PART
00344264-02 CABLE TREE CONTROL UNIT S23
(UL)
18 00344212-01 CABLE: TERMINAL BOARD-CONTROL
UNIT S23
19 00344213-01 CABLE: TERMINAL BOARD-CONTROL
UNIT S23
20 00344214-01 CABLE: KEYBOARD-ADAPTER S23
21 00344215-01 CABLE: ICOS-VIDEO CABLE S23 Spare
22 00344216-01 CABLE: ICOS-VIDEO CABLE S23 Spare Part
23 00344217-01 CABLE: CONTROL UNIT-
CONVERSION BOARD PORTAL S23
24 00344218-01 CABLE: CONTROL UNIT-
CONVERSION BOARD PORTAL S23
00344219-01 CABLE: GROUND STRAND
(TERM.-CONTR.) S23
26 00355048-01 CABLE: FLASH-MODE GANTRY 2 S23
27 00355049-01 CABLE: FLASH-MODE GANTRY 1 S23

Control unit S25-HM
Page 9 / 10 23.11.2021
Pos. Item no. Description Part marking
28 00344222-01 CABLE: CAN-BUS PORTAL-1 S23
29 00344223-01 CABLE: CAN-BUS PORTAL-2 S23
00344224-01 CABLE: CRASH-SIGN.1
(TERM.-CONVERS.) S23
00344225-01 CABLE: CRASH-SIGN.1
(TERM.-CONVERS.) S23
00344226-01 CABLE: VOLTAGE STAR-MOTOR
PORTAL 1 S23
00344227-01 CABLE: VOLTAGE STAR-MOTOR
PORTAL 2 S23
34 00344228-01 CABLE: I/O-TERMINAL BOARDS S23
35 00344229-01 CABLE: I/O-TERMINAL BOARDS S23
36 00344230-01 CABLE: I/O-TERMINAL BOARDS S23
37 00344231-01 CABLE: I/O-TERMINAL BOARDS S23
38 00344232-01 CABLE: I/O-TERMINAL BOARDS S23
39 00344233-01 CABLE: I/O-TERMINAL BOARDS S23
40 00344234-01 CABLE: I/O-TERMINAL BOARDS S23
41 00344235-01 CABLE: I/O-TERMINAL BOARDS S23
42 00344236-01 CABLE: I/O-TERMINAL BOARDS S23
43 00344237-01 CABLE: I/O-TERMINAL BOARDS S23
44 00344238-01 CABLE: I/O-TERMINAL BOARDS S23
45 00344239-01 CABLE: I/O-TERMINAL BOARDS S23
46 00344240-02 CABLE: CONTROL UNIT-SERVO UNIT
S23
47 00344241-02 CABLE: CONTROL UNIT-SERVO UNIT
S23
48 00344242-01 CABLE: CONTROL UNIT-SERVO UNIT
S23
49 00344243-01 CABLE: CONTROL UNIT-SERVO UNIT
S23
50 00344244-01 CABLE: CONTROL UNIT-SERVO UNIT
S23
51 00344245-02 CABLE: CONTROL UNIT-SERVO UNIT
S23
52 00344246-02 CABLE: CONTROL UNIT-SERVO UNIT
S23
53 00344247-01 CABLE: CONTROL UNIT-SERVO UNIT
S23
54 00344248-01 CABLE: CONTROL UNIT-SERVO UNIT