Control unit S25-HM_20211123_095841 - 第5页
Control unit S25-HM Page 5 / 10 23.11.2021

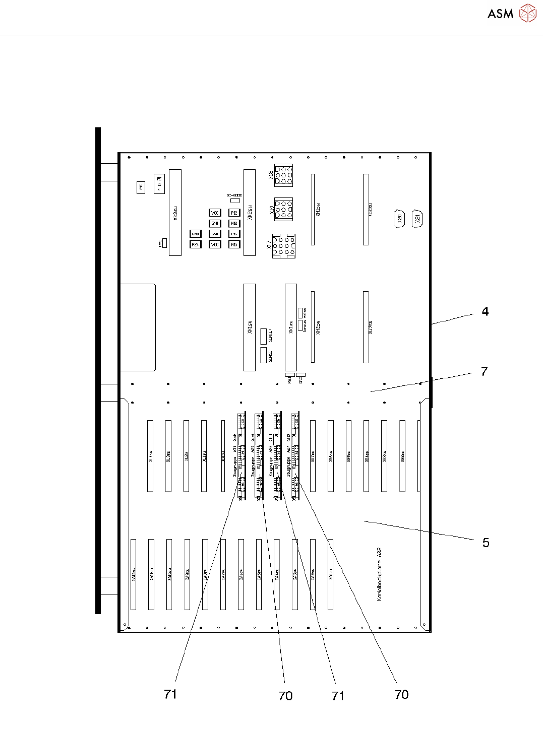
Control unit S25-HM
Page 4 / 10 23.11.2021

Control unit S25-HM
Page 5 / 10 23.11.2021

Control unit S25-HM
Page 6 / 10 23.11.2021
Control unit S25-HM Page 5 / 10 23.11.2021


